lemon-mirror:
Home >> Pontiac >> 2005 >> GTO Standard >> Repair and Diagnosis >> External Pages >> Different car >> Section 79 (Engine Controls (Introduction)) >> Component Locator >> Engine Control Module (ECM) Connectors

Engine Control Module (ECM) Connectors

WARNING: This page is about a different car, the 2005 Chevrolet Corvette. However, it is still accessible from the selected car via links, so may be relevant.
Engine Control Module (ECM) - C1 (MM6)

GM1228485Courtesy of GENERAL MOTORS CORP.
Connector Part Information
  • OEM: 15418477
  • Service: See Catalog
  • 56-Way F Micro-Pack 64 Series (BU)
Pin Wire Color Circuit No. Function
1 TN/BK 2500 High Speed GMLAN Serial Data Bus+
2 TN 2501 High Speed GMLAN Serial Data Bus-
3 - - Not Used
4 BN/WH 419 MIL Control
5-6 - - Not Used
7 BN 1271 Low Reference
8 PU 1272 Low Reference
9 - - Not Used
10 WH/BK 448 Ignition 1 Relay Control
11-12 - - Not Used
13 YE/BK 625 Starter Enable Relay Control
14 PK 439 Ignition 1 Voltage
15-17 - - Not Used
18 YE 43 Accessory Voltage
19 PK 1439 Ignition 1 Voltage
20 RD/WH 2440 Battery Positive Voltage
21 D-GN/WH 817 Vehicle Speed Signal
22 D-BU 1161 APP Sensor 1 Signal
23 - - Not Used
24 D-GN 890 Fuel Tank Pressure Sensor Signal
25 - - Not Used
26 OG/BK 380 A/C Refrigerant Pressure Sensor Signal
27-28 - - Not Used
29 TN 1274 5-Volt Reference
30 GY 2700 5-Volt Reference
31 GY 2709 5-Volt Reference
32 WH 17 Stop Lamp Switch Signal
33-34 - - Not Used
35 WH/BK 1164 5-Volt Reference
36 D-GN 335 Cooling Fan Speed Control
37 D-BU 1936 Fuel Level Sensor Signal - Primary
38 - - Not Used
39 L-BU 1937 Fuel Level Sensor Signal - Secondary
40 - - Not Used
41 L-BU 1162 APP Sensor 2 Signal
42 L-GN 1652 Reverse Lockout Solenoid Control
43 GY 48 CPP Switch Signal
44 - - Not Used
45 D-GN/WH 465 Fuel Pump Relay Control - Primary
46-47 - - Not Used
48 WH 121 Engine Speed Signal
49-50 - - Not Used
51 PU/WH 1035 Starter Relay Coil Supply Voltage
52-53 - - Not Used
54 WH 1310 EVAP Canister Vent Solenoid Control
55 BK/WH 2751 Low Reference
56 - - Not Used
Engine Control Module (ECM) - C1 (M32)

GM1228485Courtesy of GENERAL MOTORS CORP.
Connector Part Information
  • OEM: 15418480
  • Service: See Catalog
  • 56-Way F Micro-Pack 64 Series (BU)
Pin Wire Color Circuit No. Function
1 TN/BK 2500 High Speed GMLAN Serial Data Bus+
2 TN 2501 High Speed GMLAN Serial Data Bus-
3 - - Not Used
4 BN/WH 419 MIL Control
5-6 - - Not Used
7 BN 1271 Low Reference
8 PU 1272 Low Reference
9 - - Not Used
10 WH/BK 448 Ignition 1 Relay Control
11-12 - - Not Used
13 YE/BK 625 Starter Enable Relay Control
14 PK 439 Ignition 1 Voltage
15-17 - - Not Used
18 YE 43 Accessory Voltage
19 PK 1439 Ignition 1 Voltage
20 RD/WH 2440 Battery Positive Voltage
21 D-GN/WH 817 Vehicle Speed Signal
22 D-BU 1161 APP Sensor 1 Signal
23 - - Not Used
24 D-GN 890 Fuel Tank Pressure Sensor Signal
25 - - Not Used
26 OG/BK 380 A/C Refrigerant Pressure Sensor Signal
27-28 - - Not Used
29 TN 1274 5-Volt Reference
30 GY 2700 5-Volt Reference
31 GY 2709 5-Volt Reference
32 WH 17 Stop Lamp Switch Signal
33-34 - - Not Used
35 WH/BK 1164 5-Volt Reference
36 D-GN 335 Cooling Fan Speed Control
37 D-BU 1936 Fuel Level Sensor Signal - Primary
38 - - Not Used
39 L-BU 1937 Fuel Level Sensor Signal - Secondary
40 - - Not Used
41 L-BU 1162 APP Sensor 2 Signal
42-44 - - Not Used
45 D-GN/WH 465 Fuel Pump Relay Control - Primary
46-47 - - Not Used
48 WH 121 Engine Speed Signal
49-53 - - Not Used
54 WH 1310 EVAP Canister Vent Solenoid Control
55 BK/WH 2751 Low Reference
56 - - Not Used
Engine Control Module (ECM) - C2

GM1553351Courtesy of GENERAL MOTORS CORP.
Connector Part Information
  • OEM: 15418479
  • Service: See Catalog
  • 73-Way F Micro-Pack 64 Series (BK)
Pin Wire Color Circuit No. Function
1 L-GN 3212 HO2S Heater Low Control - Bank 2 Sensor 1
2 GY/WH 3113 HO2S Heater Low Control - Bank 1 Sensor 1
3 - - Not Used
4 D-BU/WH 878 Fuel Injector 8 Control
5 TN 1744 Fuel Injector 1 Control
6 L-GN/BK 1745 Fuel Injector 2 Control
7 OG/BK 877 Fuel Injector 7 Control
8 L-BU/BK 844 Fuel Injector 4 Control
9 PK/BK 1746 Fuel Injector 3 Control
10 TN/WH 845 Fuel Injector 5 Control
11-12 - - Not Used
13 YE/BK 846 Fuel Injector 6 Control
14 YE/BK 1868 Low Reference
15 PK/BK 632 Low Reference
16 BN 2129 Low Reference
17-19 - - Not Used
20 OG/BK 469 Low Reference
21 BK 2755 Low Reference
22-23 - - Not Used
24 TN/WH 331 Oil Pressure Sensor Signal
25 - - Not Used
26 BN/WH 633 CMP Sensor Signal
27 BN 1174 Oil Level Switch Signal
28 - - Not Used
29 PU 486 TP Sensor 2 Signal
30 - - Not Used
31 D-GN 485 TP Sensor 1 Signal
32-34 - - Not Used
35 GY 2704 5-Volt Reference
36 TN/WH 1704 Low Reference
37 GY 2705 5-Volt Reference
38-40 - - Not Used
41 L-BU/BK 1688 5-Volt Reference
42 - - Not Used
43 L-GN 1867 12-Volt Reference
44 OG 631 12-Volt Reference
45 GY 23 Generator Field Duty Cycle Signal
46 L-GN 432 MAP Sensor Signal
47 - - Not Used
48 PU/WH 1665 HO2S High Signal - Bank 1 Sensor 1
49 TN 1664 HO2S Low Signal - Bank 1 Sensor 1
50 D-GN/WH 428 EVAP Canister Purge Solenoid Control
51 PU 1666 HO2S High Signal - Bank 2 Sensor 1
52 TN 2761 Low Reference
53 OG 2127 IC 7 Control
54 PU 2121 IC 1 Control
55 YE 410 ECT Sensor Signal
56 OG 225 Generator Turn On Signal
57 L-BU/WH 2126 IC 6 Control
58 D-GN/WH 2124 IC 4 Control
59 D-GN 2125 IC 5 Control
60 BN 582 TAC Motor Control - 2
61 L-BU 2123 IC 3 Control
62 D-BU/WH 1869 CKP Sensor Signal
63 YE 581 TAC Motor Control - 1
64 BN/WH 2130 Low Reference
65 PU/WH 2128 IC 8 Control
66 OG/WH 2122 IC 2 Control
67 - - Not Used
68 D-BU 496 Knock Sensor 1 Signal
69 GY 1716 Low Reference
70 TN 1667 HO2S Low Signal - Bank 2 Sensor 1
71 GY 2303 Low Reference
72 L-BU 1876 Knock Sensor 2 Signal
73 BK/WH 451 Ground
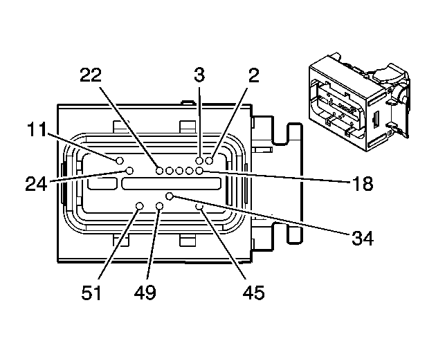
Engine Control Module (ECM) - C3 (MM6)

GM1553948Courtesy of GENERAL MOTORS CORP.
Connector Part Information
  • OEM: 15418478
  • Service: See Catalog
  • 56-Way F Micro-Pack 64 Series (GY)
Pin Wire Color Circuit No. Function
1 - - Not Used
2 BN 2391 HO2S Heater Low Control - Bank 1 Sensor 2
3 OG/WH 3223 HO2S Heater Low Control - Bank 2 Sensor 2
4-6 - - Not Used
7 YE/BK 1227 Low Reference
8-10 - - Not Used
11 YE 492 MAF Sensor Signal
12-16 - - Not Used
17 TN 452 Low Reference
18 TN/WH 1669 HO2S Low Signal Bank 1 Sensor 2
19 PU/WH 1668 HO2S High Signal Bank 1 Sensor 2
20 PU 1670 HO2S High Signal Bank 2 Sensor 2
21 TN 1671 HO2S Low Signal Bank 2 Sensor 2
22-23 - - Not Used
24 TN 2760 Low Reference
25-33 - - Not Used
34 TN 472 IAT Sensor Signal
35-43 - - Not Used
44 PU 401 VSS Low Signal
45 YE 400 VSS High Signal
46-47 - - Not Used
48 GY 587 Skip/Shift Solenoid Control
49 TN 2759 Low Reference
50 - - Not Used
51 D-GN/WH 459 A/C Compressor Clutch Relay Control
52-56 - - Not Used
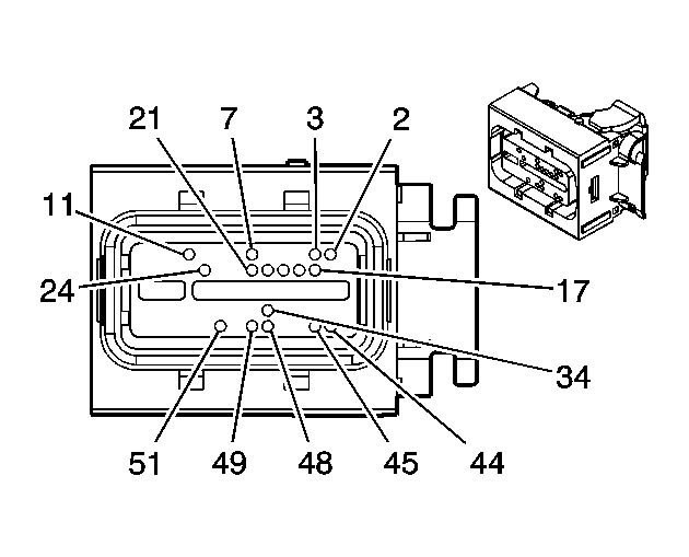
Engine Control Module (ECM) - C3 (M32)

GM1553943Courtesy of GENERAL MOTORS CORP.
Connector Part Information
  • OEM: 15418481
  • Service: See Catalog
  • 56-Way F Micro-Pack 64 Series (GY)
Pin Wire Color Circuit No. Function
1 - - Not Used
2 BN 2391 HO2S Heater Low Control - Bank 1 Sensor 2
3 OG/WH 3223 HO2S Heater Low Control - Bank 2 Sensor 2
4-10 - - Not Used
11 YE 492 MAF Sensor Signal
12-17 - - Not Used
18 TN/WH 1669 HO2S Low Signal Bank 1 Sensor 2
19 PU/WH 1668 HO2S High Signal Bank 1 Sensor 2
20 PU 1670 HO2S High Signal Bank 2 Sensor 2
21 TN 1671 HO2S Low Signal Bank 2 Sensor 2
22 OG/BK 1786 Park/Neutral Signal
23 - - Not Used
24 TN 2760 Low Reference
25-33 - - Not Used
34 TN 472 IAT Sensor Signal
35-44 - - Not Used
45 OG 381 Vehicle Speed Signal
46-48 - - Not Used
49 TN 2759 Low Reference
50 - - Not Used
51 D-GN/WH 459 A/C Compressor Clutch Relay Control
52-56 - - Not Used