lemon-mirror:
Home >> Pontiac >> 2005 >> Grand Prix Base >> Repair and Diagnosis >> Engine Performance >> System >> Engine Controls - 3.8L - Introduction >> Component Locator >> Engine Controls Connector End Views

Engine Controls Connector End Views

Accelerator Pedal Position (APP) Sensor Connector End View

GM632357Courtesy of GENERAL MOTORS CORP.
Connector Part Information
  • 15326829
  • 6-Way F GT 150 Series Sealed (BK)
Pin Wire Color Circuit No. Function
A PU 1272 Low Reference
B L-BU 1162 APP Sensor 2 Signal
C TN 1274 5-Volt Reference
D BN 1271 Low Reference
E D-BU 1161 APP Sensor 1 Signal
F WH/BK 1164 5-Volt Reference
Barometric Pressure (BARO) Sensor (L32) Connector End View

GM684840Courtesy of GENERAL MOTORS CORP.
Connector Part Information
  • 12129946
  • 3-Way F Metri-Pack 150 Series Sealed (GY)
Pin Wire Color Circuit No. Function
A BK 476 Low Reference
B GY/BK 433 BARO Sensor Signal
C GY 597 5-Volt Reference
Camshaft Position (CMP) Sensor Connector End View

GM684807Courtesy of GENERAL MOTORS CORP.
Connector Part Information
  • 12162279
  • 3-Way F Metri-Pack 150.2 Series Sealed, Pull To Seat (GY)
Pin Wire Color Circuit No. Function
A BN/WH 633 CMP Sensor Signal
B BK/WH 836 Low Reference
C WH/BK 644 12-Volt Reference
Crankshaft Position (CKP) Sensor Connector End View

GM280765Courtesy of GENERAL MOTORS CORP.
Connector Part Information
  • 12162834
  • 4-Way F Metri-Pack 150.2 Series Sealed, Pull To Seat (GY)
Pin Wire Color Circuit No. Function
A L-BU/WH 1800 CKP Sensor 2 Signal
B YE 573 CKP Sensor 1 Signal
C BK/WH 836 Low Reference
D WH/BK 644 12-Volt Reference
Engine Coolant Temperature (ECT) Sensor Connector End View

GM655692Courtesy of GENERAL MOTORS CORP.
Connector Part Information
  • 12162193
  • 2-Way F Metri-Pack 150.2 Series Sealed Pull To Seat (BK)
Pin Wire Color Circuit No. Function
A YE 2761 Low Reference
B BK 410 ECT Sensor Signal
Evaporative Emission (EVAP) Canister Purge Solenoid Connector End View

GM684795Courtesy of GENERAL MOTORS CORP.
Connector Part Information
  • 12052643
  • 2-Way F Metri-Pack 150 Series Sealed (RD)
Pin Wire Color Circuit No. Function
A PK 339 Ignition 1 Voltage
B D-GN/WH 428 EVAP Canister Purge Solenoid Control
Evaporative Emissions (EVAP) Canister Vent Solenoid Connector End View

GM684795Courtesy of GENERAL MOTORS CORP.
Connector Part Information
  • 12052637
  • 2-Way F Metri-Pack 150 Series Sealed (RD)
Pin Wire Color Circuit No. Function
A OG 2840 Battery Positive Voltage
B WH 1310 EVAP Canister Vent Solenoid Control
Exhaust Gas Recirculation (EGR) Valve Connector End View

GM684863Courtesy of GENERAL MOTORS CORP.
Connector Part Information
  • 12186055
  • 5-Way F Metri-Pack 150.2 Series Sealed Pull To Seat (BK)
Pin Wire Color Circuit No. Function
A GY 435 EGR Solenoid Low Control
B BK 2753 Low Reference
C BN 1456 EGR Valve Position Signal
D GY 2702 5-Volt Reference
E RD 1676 EGR Solenoid High Control
Fuel Injector 1 Connector End View

GM603098Courtesy of GENERAL MOTORS CORP.
Connector Part Information
  • 15305086
  • 2-Way F Metri-Pack 150 Series Tangless, Sealed (BK)
Pin Wire Color Circuit No. Function
A PK 639 Ignition 1 Voltage
B BK 1744 Fuel Injector 1 Control
Fuel Injector 2 Connector End View

GM603098Courtesy of GENERAL MOTORS CORP.
Connector Part Information
  • 15305086
  • 2-Way F Metri-Pack 150 Series Tangless, Sealed (BK)
Pin Wire Color Circuit No. Function
A PK 639 Ignition 1 Voltage
B L-GN/BK 1745 Fuel Injector 2 Control
Fuel Injector 3 Connector End View

GM603098Courtesy of GENERAL MOTORS CORP.
Connector Part Information
  • 15305086
  • 2-Way F Metri-Pack 150 Series Tangless, Sealed (BK)
Pin Wire Color Circuit No. Function
A PK 639 Ignition 1 Voltage
B PK/BK 1746 Fuel Injector 3 Control
Fuel Injector 4 Connector End View

GM603098Courtesy of GENERAL MOTORS CORP.
Connector Part Information
  • 15305086
  • 2-Way F Metri-Pack 150 Series Tangless, Sealed (BK)
Pin Wire Color Circuit No. Function
A PK 639 Ignition 1 Voltage
B L-BU/BK 844 Fuel Injector 4 Control
Fuel Injector 5 Connector End View

GM603098Courtesy of GENERAL MOTORS CORP.
Connector Part Information
  • 15305086
  • 2-Way F Metri-Pack 150 Series Tangless, Sealed (BK)
Pin Wire Color Circuit No. Function
A PK 639 Ignition 1 Voltage
B BK/WH 845 Fuel Injector 5 Control
Fuel Injector 6 Connector End View

GM603098Courtesy of GENERAL MOTORS CORP.
Connector Part Information
  • 15305086
  • 2-Way F Metri-Pack 150 Series Tangless, Sealed (BK)
Pin Wire Color Circuit No. Function
A PK 639 Ignition 1 Voltage
B YE/BK 846 Fuel Injector 6 Control
Fuel Pump and Sender Assembly Connector End View

GM456551Courtesy of GENERAL MOTORS CORP.
Connector Part Information
  • 12160482
  • 4-Way F Metri-Pack 150 Series Sealed (BK)
Pin Wire Color Circuit No. Function
A PU 30 Fuel Level Sensor Signal
B GY 120 Fuel Pump Supply Voltage
C BK 150 Ground
D BK/WH 651 Low Reference
Fuel Tank Pressure (FTP) Sensor Connector End View

GM516611Courtesy of GENERAL MOTORS CORP.
Connector Part Information
  • 12059595
  • 3-Way F Metri-Pack 150 Series Sealed (BK)
Pin Wire Color Circuit No. Function
A OG/BK 469 Low Reference
B D-GN 890 Fuel Tank Pressure Sensor Signal
C GY/BK 416 5-Volt Reference
Heated Oxygen Sensor (HO2S) Sensor 1 (NU3) Connector End View

GM1526380Courtesy of GENERAL MOTORS CORP.
Connector Part Information
  • 12176896
  • 4-Way F Metri-Pack 150 Series Sealed (GY)
Pin Wire Color Circuit No. Function
A TN/WH 3111 HO2S Low Signal
B PU/WH 3110 HO2S High Signal
C BK/WH 3112 HO2S Heater Low Control Sensor 1
D PK 839 Ignition 1 Voltage
Heated Oxygen Sensor (HO2S) Sensor 1 (w/o NU3) Connector End View

GM456551Courtesy of GENERAL MOTORS CORP.
Connector Part Information
  • 12160482
  • 4-Way F Metri-Pack 150 Series Sealed (BK)
Pin Wire Color Circuit No. Function
A TN/WH 3111 HO2S Low Signal
B PU/WH 3110 HO2S High Signal
C BK/WH 3112 HO2S Heater Low Control Sensor 1
D PK 839 Ignition 1 Voltage
Heated Oxygen Sensor (HO2S) Sensor 2 Connector End View

GM806613Courtesy of GENERAL MOTORS CORP.
Connector Part Information
  • 15326423
  • 4-Way M Metri-Pack 150 Series Sealed (GY)
Pin Wire Color Circuit No. Function
A TN/WH 3121 HO2S Low Signal
B PU 3120 HO2S High Signal
C BK/WH 3122 HO2S Heater Low Control Sensor 2
D PK 839 Ignition 1 Voltage
Ignition Control Module (ICM) Connector End View

GM516619Courtesy of GENERAL MOTORS CORP.
Connector Part Information
  • 12124379
  • 14-Way F Metri-Pack 150 Series Sealed, Pull To Seat (GY)
Pin Wire Color Circuit No. Function
A WH 423 IC Timing Control
B TN/BK 424 IC Timing Signal
C L-BU/BK 647 Medium Resolution Engine Speed Signal
D PU/WH 430 Low Resolution Engine Speed Signal
E WH 121 Engine Speed Signal
F BK 630 Camshaft Position Signal
G YE 573 CKP Sensor 1 Signal
H L-BU/WH 1800 CKP Sensor 2 Signal
J BN/WH 633 CMP Sensor Signal
K BK/WH 541 Ground
L RD/BK 453 Low Reference
M BK/WH 836 Low Reference
N WH/BK 644 12-Volt Reference
P PK 239 Ignition 1 Voltage
Knock Sensor (KS) Bank 1 Connector End View

GM95764Courtesy of GENERAL MOTORS CORP.
Connector Part Information
  • 12176800
  • 1-Way F Metri-Pack 150 Series Sealed (GY)
Pin Wire Color Circuit No. Function
1 D-BU 496 Knock Sensor 1 Signal
Knock Sensor (KS) Bank 2 Connector End View

GM95764Courtesy of GENERAL MOTORS CORP.
Connector Part Information
  • 12176800
  • 1-Way F Metri-Pack 150 Series Sealed (GY)
Pin Wire Color Circuit No. Function
1 D-BU 1876 Knock Sensor 2 Signal
Manifold Absolute Pressure (MAP) Sensor Connector End View

GM684840Courtesy of GENERAL MOTORS CORP.
Connector Part Information
  • 12129946
  • 3-Way F Metri-Pack 150 Series Sealed (GY)
Pin Wire Color Circuit No. Function
A OG/BK 469 Low Reference
B L-GN 432 MAP Sensor Signal
C GY 2704 5-Volt Reference
Mass Air Flow (MAF)/Intake Air Temperature (IAT) Sensor Connector End View

GM647974Courtesy of GENERAL MOTORS CORP.
Connector Part Information
  • 15326822
  • 5-Way F GT 150 Series Sealed 4.0 (BK)
Pin Wire Color Circuit No. Function
A YE 492 MAF Sensor Signal
B PK 339 Ignition 1 Voltage
C BK/WH 451 Ground
D TN 472 IAT Sensor Signal
E BK 2760 Low Reference
Secondary Air Injection (AIR) Control Solenoid Valve/Pressure Sensor Bank 2 Connector End View

GM1526382Courtesy of GENERAL MOTORS CORP.
Connector Part Information
  • 15460167
  • 6-Way F GT 150 Series Sealed (BK)
Pin Wire Color Circuit No. Function
1 BK 476 Low Reference
2 WH 5268 Air Pressure Sensor
3 GY 474 5-Volt Reference
4 BK/WH 451 Ground
5 - - Not Used
6 PU 421 Secondary Air Injection (AIR) Control Solenoid Valve Supply Voltage
Secondary Air Injection (AIR) Pump Connector End View

GM601624Courtesy of GENERAL MOTORS CORP.
Connector Part Information
  • 15326681
  • 2-Way F GT 280 Series Sealed (BK)
Pin Wire Color Circuit No. Function
A BK 78 AIR Pump Supply Voltage
B BK 1050 Ground
Secondary Air Injection (AIR) Pump Relay Connector End View

GM603108Courtesy of GENERAL MOTORS CORP.
Connector Part Information
  • 15336745
  • 4-Way F GT 280, Metri-Pack 800 Series Sealed (GY)
Pin Wire Color Circuit No. Function
30 OG 1540 Battery Positive Voltage
85 PK 339 Ignition 1 Voltage
86 BN 436 Air Pump Relay Control
87 BK 78 AIR Pump Supply Voltage
Secondary Air Injection (AIR) Valve Relay Connector End View

GM535912Courtesy of GENERAL MOTORS CORP.
Connector Part Information
  • 12110787
  • 4-Way F Metri-Pack 280 Series Flexlock, Sealed (GY)
Pin Wire Color Circuit No. Function
30 PK 339 Ignition 1 Voltage
85 PK 339 Ignition 1 Voltage
86 PK/BK 429 Air Solenoid Control
87 PU 421 Secondary Air Injection (AIR) Control Solenoid Valve Supply Voltage
Supercharger Boost Control Solenoid (L32) Connector End View

GM635009Courtesy of GENERAL MOTORS CORP.
Connector Part Information
  • 12052641
  • 2-Way F Metri-Pack 150 Series Sealed (BK)
Pin Wire Color Circuit No. Function
A PK 339 Ignition 1 Voltage
B GY 1724 Boost Control Solenoid Control
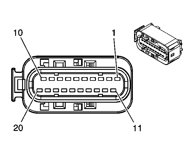
Throttle Actuator Control (TAC) Module Connector End View

GM1243581Courtesy of GENERAL MOTORS CORP.
Connector Part Information
  • 15355368
  • 20-Way F GT Series Sealed (GY)
Pin Wire Color Circuit No. Function
1 TN 1274 5-Volt Reference
2 PU 1272 Low Reference
3 L-BU 1162 APP Sensor 2 Signal
4 D-GN 389 Vehicle Speed Signal
5 - - Not Used
6 WH 17 Stop Lamp Switch Signal
7 OG/BK 1061 UART Serial Data Secondary
8 TN/WH 551 Ground
9-10 - - Not Used
11 D-BU 1161 APP Sensor 1 Signal
12 BN 1271 Low Reference
13 WH/BK 1164 5-Volt Reference
14-15 - - Not Used
16 TN 800 UART Serial Data Primary
17 TN/WH 551 Ground
18 PK 39 Ignition 1 Voltage
19-20 - - Not Used