Engine Controls Connector End Views
Identifying Ambient Air Temperature Sensor Connector
| Connector Part Information |
|
|
|---|---|---|
| Pin | Wire Color | Function |
| 1 | BK | Ambient Air Temperature Sensor Input |
| 2 | BK/BU | Ground |
Identifying Backup Lamp Switch Connector
| Connector Part Information |
|
|
|---|---|---|
| Pin | Wire Color | Function |
| 1 | RD/BK | Backup Lamp Switch Signal Circuit |
| 2 | RD/WH | Backup Lamp Switch Feed Circuit |
Identifying Camshaft Position (CMP) Sensor Connector
| Connector Part Information |
|
|
|---|---|---|
| Pin | Wire Color | Function |
| 1 | BK | Camshaft Position Input |
| 2 | WH | Sensor Ground |
Identifying Camshaft Position (CMP) Actuator Solenoid Valve Connector
| Connector Part Information |
|
|
|---|---|---|
| Pin | Wire Color | Function |
| 1 | YE | CMP Actuator High Control |
| 2 | BK/YE | CMP Actuator Low Control |
Identifying Circuit Opening Relay Connector
| Connector Part Information | - | |
|---|---|---|
| Pin | Wire Color | Function |
| 1 | BK | Relay Coil Supply Voltage |
| 2 | GN/RD | Relay Coil Control |
| 3 | BK/RD | Switch Fuel Pump |
| 5 | WH/BK | Switch Supply Voltage |
Identifying Clutch Pedal Position (CPP) Switch Connector
| Connector Part Information |
|
|
|---|---|---|
| Pin | Wire Color | Function |
| 1 | RD | CPP Feed Circuit |
| 2 | BK | CPP Signal Circuit |
Identifying Crankshaft Position (CKP) Sensor Connector
| Connector Part Information |
|
|
|---|---|---|
| Pin | Wire Color | Function |
| 1 | BK | Crankshaft Position Input |
| 2 | WH | Sensor Ground |
Identifying Engine Coolant Temperature (ECT) Sensor Connector
| Connector Part Information |
|
|
|---|---|---|
| Pin | Wire Color | Function |
| 1 | BN | Sensor Ground |
| 2 | WH | ECT Input |
Identifying EFI Relay Connector
| Connector Part Information | - | |
|---|---|---|
| Pin | Wire Color | Function |
| 1 | BK/WH | Relay Coil Supply Voltage |
| 2 | WH/BK | Relay Coil Control |
| 3 | BK | Switch Load |
| 5 | RD/WH | Switch Supply Voltage |
Identifying EVAP Purge Solenoid Valve Connector
| Connector Part Information |
|
|
|---|---|---|
| Pin | Wire Color | Function |
| 1 | BU/BK | EVAP Control Circuit |
| 2 | BK | EVAP Feed Circuit |
Identifying EVAP System Vacuum Leak Pump Connector
| Connector Part Information |
|
|
|---|---|---|
| Pin | Wire Color | Function |
| 1 | GY | Vacuum Pump Control |
| 2 | BN | Sensor Ground |
| 3 | BU | Fuel Tank Pressure (FTP) Input |
| 4 | YE | 5-Volt Reference |
| 5 | - | Not Used |
| 6 | WH/BK | Ground |
| 7 | - | Not Used |
| 8 | RD | EVAP Vent Solenoid Control |
| 9 | BK | EVAP Vent Solenoid Supply Voltage |
| 10 | - | Not Used |
Identifying Auxiliary Intake Air Solenoid Valve Connector
| Connector Part Information |
|
|
|---|---|---|
| Pin | Wire Color | Function |
| 1 | BU/WH | Ignition Positive Voltage |
| 2 | BK | Solenoid Control Circuit |
Identifying Fuel Injector #1 Connector
| Connector Part Information |
|
|
|---|---|---|
| Pin | Wire Color | Function |
| 1 | BK/WH | Fuel Injector #1 Feed Circuit |
| 2 | YE | Fuel Injector #1 Control Circuit |
Identifying Fuel Injector #2 Connector
| Connector Part Information |
|
|
|---|---|---|
| Pin | Wire Color | Function |
| 1 | BK/WH | Fuel Injector #2 Feed Circuit |
| 2 | BK | Fuel Injector #2 Control Circuit |
Identifying Fuel Injector #3 Connector
| Connector Part Information |
|
|
|---|---|---|
| Pin | Wire Color | Function |
| 1 | BK/WH | Fuel Injector #3 Feed Circuit |
| 2 | WT | Fuel Injector #3 Control Circuit |
Identifying Fuel Injector #4 Connector
| Connector Part Information |
|
|
|---|---|---|
| Pin | Wire Color | Function |
| 1 | BK/WH | Fuel Injector #4 Control Circuit |
| 2 | BU | Fuel Injector #4 Feed Circuit |
Identifying Fuel Sender Assembly Connector
| Connector Part Information |
|
|
|---|---|---|
| Pin | Wire Color | Function |
| 1 | - | Not Used |
| 2 | YE | Fuel Gage |
| 3 | BN | Low Fuel Indicator |
| 4 | BK/RD | Fuel Pump Feed Circuit |
| 5 | WH/BK | Ground |
Identifying Heated Oxygen Sensor (HO2S) 1 Connector
| Connector Part Information |
|
|
|---|---|---|
| Pin | Wire Color | Function |
| 1 | BK | HO2S1 Heater Feed Circuit |
| 2 | PK | HO2S1 Heater Control Circuit |
| 3 | BN | Ground |
| 4 | RD | HO2S1 Input |
Identifying Heated Oxygen Sensor (HO2S) 2 Connector
| Connector Part Information |
|
|
|---|---|---|
| Pin | Wire Color | Function |
| 1 | BK | HO2S2 Heater Feed Circuit |
| 2 | PK/BK | HO2S2 Heater Control Circuit |
| 3 | BN | Ground |
| 4 | WH | HO2S2 Input Circuit |
Identifying Idle Air Control (IAC) Motor Connector
| Connector Part Information |
|
|
|---|---|---|
| Pin | Wire Color | Function |
| 1 | BK/BU | IAC Valve Open Control |
| 2 | BK | IAC Feed Circuit |
| 3 | WH/BK | Ground |
Identifying Ignition Coil 1 Connector
| Connector Part Information |
|
|
|---|---|---|
| Pin | Wire Color | Function |
| 1 | BK/WH | Ignition Coil Feed Circuit |
| 2 | BU/YE | Ignition Fail Safe Input |
| 3 | RD/BU | Ignition Trigger Circuit |
| 4 | WH/BK | Ground |
Identifying Ignition Coil 2 Connector
| Connector Part Information |
|
|
|---|---|---|
| Pin | Wire Color | Function |
| 1 | BK/WH | Ignition Coil Feed Circuit |
| 2 | BU/YE | Ignition Fail Safe Input |
| 3 | YE/GN | Ignition Trigger Circuit |
| 4 | WH/BK | Ground |
Identifying Ignition Coil 3 Connector
| Connector Part Information |
|
|
|---|---|---|
| Pin | Wire Color | Function |
| 1 | BK/WH | Ignition Coil Feed Circuit |
| 2 | BU/YE | Ignition Fail Safe Input |
| 3 | GY | Ignition Trigger Circuit |
| 4 | WH/BK | Ground |
Identifying Ignition Coil 4 Connector
| Connector Part Information |
|
|
|---|---|---|
| Pin | Wire Color | Function |
| 1 | BK/WH | Ignition Coil Feed Circuit |
| 2 | BU/YE | Ignition Fail Safe Input |
| 3 | WH | Ignition Trigger Circuit |
| 4 | WH/BK | Ground |
Identifying Knock Sensor (KS) Connector
| Connector Part Information |
|
|
|---|---|---|
| Pin | Wire Color | Function |
| 1 | WH | KS Signal Low |
| 2 | BK | KS Signal High |
Identifying Mass Air Flow (MAF) Sensor Connector
| Connector Part Information |
|
|
|---|---|---|
| Pin | Wire Color | Function |
| 1 | BK | MAF Feed Circuit |
| 2 | BU/WH | MAF Signal Low |
| 3 | GN | MAF Signal High |
| 4 | YE/BK | IAT Sensor Input |
| 5 | BN | Sensor Ground |
Identifying Noise Filter Connector
| Connector Part Information |
|
|
|---|---|---|
| Pin | Wire Color | Function |
| 1 | BK/WH | Noise Filter Feed Circuit |
| 2 | - | Not Used |
Identifying PCM Connector C1 Connector
| Connector Part Information |
|
|
|---|---|---|
| Pin | Wire Color | Function |
| 1 | YE | Fuel Injector 1 Control |
| 2 | BK | Fuel Injector 2 Control |
| 3 | WH | Fuel Injector 3 Control |
| 4 | BU | Fuel Injector 4 Control |
| 5 | BN | Ground |
| 6 | WH/BK | Ground |
| 7 | WH/BK | Ground |
| 8 | RD/BU | Ignition Trigger Signal Coil 1 |
| 9 | YE/GN | Ignition Trigger Signal Coil 2 |
| 10 | GY | Ignition Trigger Signal Coil 3 |
| 11 | WH | Ignition Trigger Signal Coil 4 |
| 12 | BK | Crank Signal |
| 13 | BK/YE | Camshaft Position (CMP) Actuator Solenoid Valve High Control |
| 14 | YE | Camshaft Position (CMP) Actuator Solenoid Valve Control Low |
| 15 | BU/WH | Auxiliary Intake Air Control Solenoid Control |
| 16 | BK/BU | Idle Air Control (IAC) Valve Control |
| 17 | - | Not Used |
| 18 | YE | 5-Volt Reference Circuit |
| 19 | WH | Engine Coolant Temperature (ECT) Sensor Input |
| 20 | YE/BK | Intake Air Temperature (IAT) Sensor Input |
| 21 | L-GN | Throttle Position (TP) Sensor Input |
| 22-23 | - | Not Used |
| 24 | BU/YE | Ignition Fail Safe Input |
| 25 | RD | EVAP Canister Vent Solenoid Valve Control |
| 26 | BK | Camshaft Position (CMP) Sensor Input |
| 27 | BK | Crankshaft Position (CKP) Sensor Input |
| 28 | BN | Sensor Ground |
| 29 | BU/WH | Mass Air Flow (MAF) Sensor Signal Low |
| 30 | GN | Mass Air Flow (MAF) Sensor Signal High |
| 31-33 | - | Not Used |
| 34 | WH | CMP Sensor and CKP Sensor Ground |
Identifying PCM Connector C2 Connector
| Connector Part Information |
|
|
|---|---|---|
| Pin | Wire Color | Function |
| 1 | BK | Knock Sensor (KS) Signal High |
| 2 | WH | Knock Sensor (KS) Signal Low |
| 3-5 | - | Not Used |
| 6 | PK | Heated Oxygen Sensor (HO2S) 1 Heater Circuit Control |
| 7 | WH/BK | Ground |
| 8 | GY | EVAP Vacuum Leak Pump Control |
| 9 | L-GN/BK | Fan 2 Relay Control |
| 10-15 | - | Not Used |
| 16 | BU/YE | Rocker Arm Oil Control Solenoid Valve Control High |
| 17 | BK | Rocker Arm Oil Control Solenoid Valve Control Low |
| 18 | - | Not Used |
| 19 | BU/BK | EVAP Canister Purge Solenoid Valve Control |
| 20 | - | Not Used |
| 21 | L-GN | Fan 1 Relay Control |
| 22 | RD | Heated Oxygen Sensor (HO2S) 1 Input |
| 23-26 | - | Not Used |
| 27 | YE | AC Pressure Switch |
| 28 | WH/BK | Ground |
| 29 | - | Not Used |
| 30 | BU/RD | Power Steering Pressure (PSP) Switch Input |
| 31-35 | - | Not Used |
Identifying PCM Connector C3 Connector
| Connector Part Information |
|
|
|---|---|---|
| Pin | Wire Color | Function |
| 1-2 | - | Not Used |
| 3 | BK | Engine Speed Output |
| 4 | BK/WH | EFI Relay High Control |
| 5 | YE/BK | AC Compressor Clutch Relay Control |
| 6-7 | - | Not Used |
| 8 | BU/WH | Cruise Control Idle |
| 9-13 | - | Not Used |
| 14 | YE/RD | Engine Coolant Temperature Gage Output |
| 15 | BU/RD | Serial Data |
| 16 | GN/RD | Circuit Opening Relay Control |
| 17 | PU/WH | Vehicle Speed Sensor (VSS) Input |
| 18 | - | Not Used |
| 19 | GN/WH | Brake Switch Signal |
| 20-22 | - | Not Used |
| 23 | WH | Heated Oxygen Sensor (HO2S) 2 Input |
| 24-30 | - | Not Used |
| 31 | BK/WH | Rocker Arm Oil Pressure Switch Input |
| 32 | BK/BU | Evaporator Temperature Sensor Input |
| 33 | GN/WH | AC On Signal |
| 34 | GN | Secondary AIR Pressure Sensor Input |
| 35 | - | Not Used |
Identifying PCM Connector C4 Connector
| Connector Part Information |
|
|
|---|---|---|
| Pin | Wire Color | Function |
| 1 | BK | Ignition Positive Voltage |
| 2 | - | Not Used |
| 3 | RD/WH | Battery Voltage |
| 4 | BK/BU | Secondary AIR Solenoid Valve Control |
| 5 | BK/OG | Secondary AIR Pump Relay Control |
| 6 | - | Not Used |
| 7 | PK/BK | Heated Oxygen Sensor (HO2S) 2 Heater Circuit Control |
| 8 | - | Not Used |
| 9 | BK/OG | Ignition Positive Voltage |
| 10 | YE | AC Request Signal |
| 11 | RD/YE | MIL Control |
| 12 | GN | Electrical Load Idle-Up Signal, Tail Lamps |
| 13 | WH | Electrical Load Idle-Up Signal, Rear Defogger |
| 14 | YE | Supplemental Inflatable Restraint (SIR) System Signal |
| 15-18 | - | Not Used |
| 19 | PK | Data Link Connector (DLC) |
| 20 | PK/BK | Diagnostic Request Circuit |
| 21 | BU | Fuel Tank Pressure (FTP) Sensor Input |
| 22-31 | - | Not Used |
Identifying Rocker Arm Oil Control Valve Connector
| Connector Part Information |
|
|
|---|---|---|
| Pin | Wire Color | Function |
| 1 | BK | Solenoid Control Low |
| 2 | WH | Solenoid Control Low |
Identifying Secondary Air Injection (AIR) Pump Motor Connector
| Connector Part Information |
|
|
|---|---|---|
| Pin | Wire Color | Function |
| A | BK/RD | Supply Voltage |
| B | WH/BK | Ground |
Identifying Secondary AIR Pump Relay Connector
| Connector Part Information |
|
|
|---|---|---|
| Pin | Wire Color | Function |
| 1 | BK/OG | Relay Coil Control |
| 2 | BK | Relay Coil Supply Voltage |
| 3 | BK/RD | Switch AIR Pump Motor |
| 4 | BK | Switch Supply Voltage |
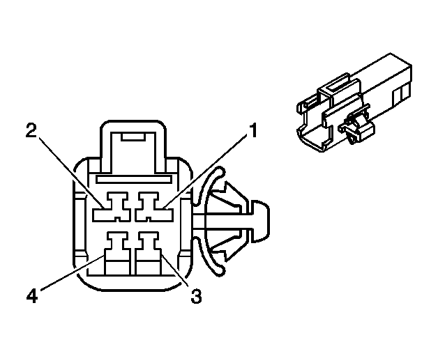
Identifying Secondary AIR Pump Pressure Sensor Connector
| Connector Part Information |
|
|
|---|---|---|
| Pin | Wire Color | Function |
| 1 | BN | Ground |
| 2 | L-GN | Powertrain Control Module Signal |
| 3 | YE | 5-Volt Reference |
Identifying Secondary AIR Pump Solenoid Valve Connector
| Connector Part Information |
|
|
|---|---|---|
| Pin | Wire Color | Function |
| 1 | BK | Supply Voltage |
| 2 | BK/BU | Powertrain Control Module Signal |
Identifying Throttle Position (TP) Sensor Connector
| Connector Part Information |
|
|
|---|---|---|
| Pin | Wire Color | Function |
| 1 | BN | Sensor Ground |
| 2 | YE | Reference Voltage |
| 3 | L-GN | Throttle Position Input |
Identifying Vehicle Speed Sensor (VSS) Connector
| Connector Part Information |
|
|
|---|---|---|
| Pin | Wire Color | Function |
| 1 | BK | Sensor Ground |
| 2 | WH | VSS Input |