lemon-mirror:
Home >> Pontiac >> 2006 >> GTO Automatic >> Repair and Diagnosis >> Accessories & Equipment >> Communication Devices >> Computer/Integrating Systems >> Component Locator >> Computer/Integrating Systems Connector End Views >> Body Control Module (BCM) C3

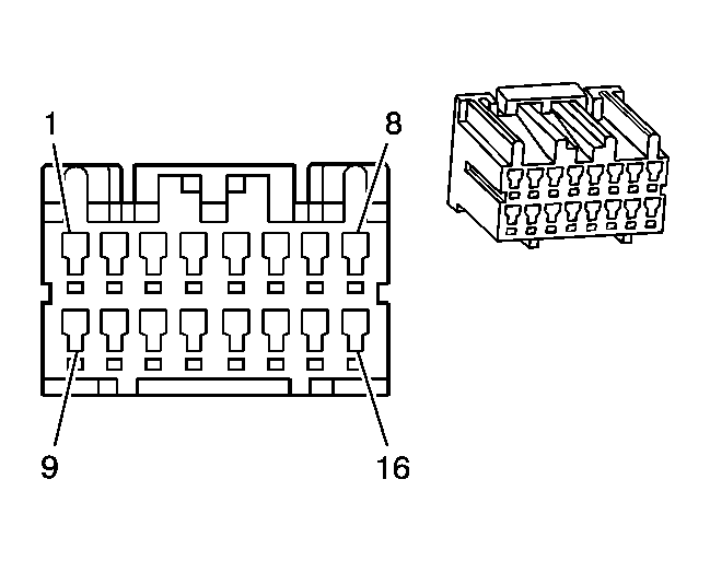
Body Control Module (BCM) C3

Body Control Module (BCM) C3

GM1356050Courtesy of GENERAL MOTORS CORP.
Connector Part Information
  • 7283-1766-10
  • 16-Way Female (GY)
Pin Wire Color Circuit No. Function
1 BK/GN 150 Ground
2 OG 300 Ignition 3 Voltage
3 BU/WH 112 Windshield Wiper Switch Signal 1
4 BN/WH 4 Accessory Voltage
5 RD/WH 66 A/C Request Signal
6-7 - - Not Used
8 BK/RD 1576 Rear Compartment Lid Release Switch Signal
9 GN 63 Blower Motor Medium 1 Control
10 YE/RD 314 Radio On Signal
11 YE/BK 263 Tamper Switch Signal
12 - - Not Used
13 L-BU 228 Windshield Washer Pump Control
14 - - Not Used
15 GN 1149 Content Theft Horn Control
16 BN 111 Hazard Switch Signal