lemon-mirror:
Home >> Pontiac >> 2006 >> GTO Automatic >> Repair and Diagnosis >> Brakes >> Antilock Brake System With Traction Control System >> Component Locator >> Anti-Lock Brake System Connector End Views

Anti-Lock Brake System Connector End Views

Electronic Brake Control Module (EBCM)

GM1548104Courtesy of GENERAL MOTORS CORP.
Connector Part Information
  • 9123-3042-30
  • 46-Way F (BK)
Pin Wire Color Circuit No. Function
1 BK/OG 350 Ground
2 RD 542 Battery Positive Voltage
3 RD/YE 1440 Battery Positive Voltage
4 BK 150 Ground
5 BN 830 LF Wheel Speed Signal High
6 - - Not Used
7 PU 884 LR Wheel Speed Signal High
8 BU 883 RR Wheel Speed Signal Low
9 RD 873 RF Wheel Speed Signal Low
10 WH 872 RF Wheel Speed Signal High
11 BU/BK 799 ABS Serial Data
12-13 - - Not Used
14 TN 2501 LAN Signal
15-24 - - Not Used
25 TN 2501 LAN Signal
26 GY 873 LF Wheel Speed Signal Low
27 YE 885 LR Wheel Speed Signal Low
28 RD 839 Ignition Voltage
29 BK 882 RR Wheel Speed Signal High
30 BU/RD 20 Stop Lamp Switch Signal
31-24 - - Not Used
35 TN/BK 2500 LAN Signal
36-44 - - Not Used
45 TN/BK 2500 LAN Signal
46 - - Not Used
Stop Lamp Switch C1

GM1548106Courtesy of GENERAL MOTORS CORP.
Connector Part Information
  • 9123-4675-30
  • 2-Way F (BK)
Pin Wire Color Circuit No. Function
A OG/BU 640 Battery Positive Voltage
B BU/RD 20 Stop Lamp switch Signal
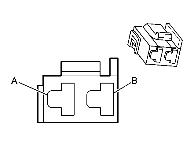
Stop Lamp Switch C2

GM1548107Courtesy of GENERAL MOTORS CORP.
Connector Part Information
  • 2977373
  • 2-Way F (BK)
Pin Wire Color Circuit No. Function
A TN/WH 816 Traction Control Active Signal
B PK 139 Ignition Voltage
C-D - - Not Used
Stop Lamp Switch C3

GM1548108Courtesy of GENERAL MOTORS CORP.
Connector Part Information
  • 2977373
  • 2-Way F (BK)
Pin Wire Color Circuit No. Function
A PK 139 Ignition Voltage
B BN 86 Cruise Control release Signal
C GY 847 Extended Travel Brake Switch Signal
D PK 439 Ignition Voltage
Traction Control Switch

GM1356233Courtesy of GENERAL MOTORS CORP.
Connector Part Information
  • 7283-1060
  • 6-Way F (BK)
Pin Wire Color Circuit No. Function
1 - - Not Used
2 BN/WH 32 Instrument Panel Lamp Fuse Supply Voltage
3 BK/GN 151 Ground
4 - - Not Used
5 RD/WH 1571 Traction Control Switch Signal
6 GY 230 Instrument Panel Lamps Dimming Control
Wheel Speed Sensor (WSS) - LF

GM1356098Courtesy of GENERAL MOTORS CORP.
Connector Part Information
  • 9421-2940
  • 2-Way M (WH)
Pin Wire Color Circuit No. Function
A BN 830 Left Front Wheel Speed Sensor Signal
B GY 873 Left Front Wheel Speed Sensor Low Reference
Wheel Speed Sensor (WSS) - LR

GM1356098Courtesy of GENERAL MOTORS CORP.
Connector Part Information
  • 9421-5000
  • 2-Way M (WH)
Pin Wire Color Circuit No. Function
A PU 884 Left Rear Wheel Speed Sensor Signal
B YE 885 Left Rear Wheel Speed Sensor Low Reference
Wheel Speed Sensor (WSS) - RF

GM1356098Courtesy of GENERAL MOTORS CORP.
Connector Part Information
  • 9421-0415
  • 2-Way M (WH)
Pin Wire Color Circuit No. Function
A WH 872 Right Front Wheel Speed Sensor Signal
B RD 833 Right Front Wheel Speed Sensor Low Reference
Wheel Speed Sensor (WSS) - RR

GM1356098Courtesy of GENERAL MOTORS CORP.
Connector Part Information
  • 9421-4000
  • 2-Way M (WH)
Pin Wire Color Circuit No. Function
A BK 882 Right Rear Wheel Speed Sensor Signal
B BU 883 Right Rear Wheel Speed Sensor Low Reference