lemon-mirror:
Home >> Pontiac >> 2006 >> GTO Automatic >> Repair and Diagnosis >> Brakes >> Antilock Brake System With Traction Control System >> Repair Instructions >> Electronic Brake Control Module Replacement >> Installation Procedure

Installation Procedure

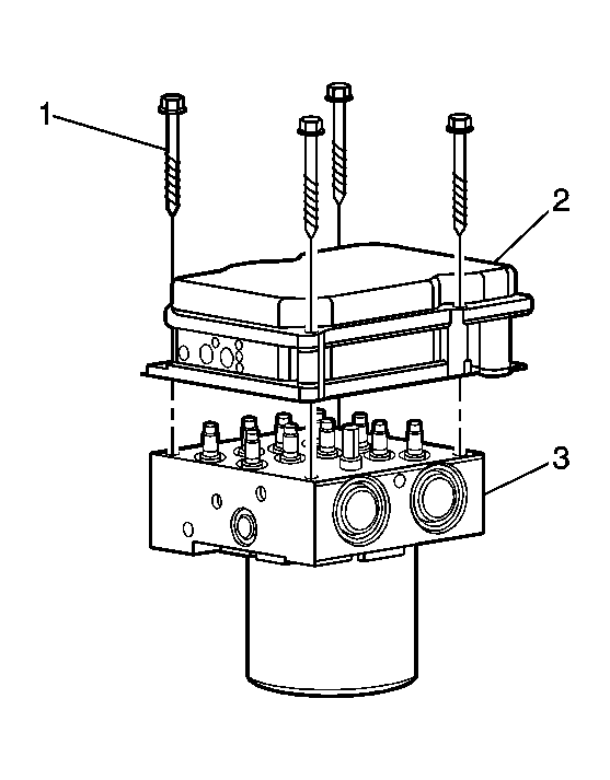
    Fig 1: Removing/Installing Bolts To/From Electronic Brake Control Module (EBCM)
    GM1549411Courtesy of GENERAL MOTORS CORP.
  1. Align and install the EBCM (2) to the brake pressure modulator valve (3).
  2. Fig 2: Identifying EBCM Bolt Tightening Sequence
    GM1550434Courtesy of GENERAL MOTORS CORP.
    NOTE: Refer to Fastener Notice in Cautions and Notices.
  3. Secure the EBCM with 4 bolts in the sequence shown.

    Tighten:  Tighten the EBCM bolts to 2 N.m (17 lb in), then to 3 N.m (26.5 lb in).

  4. Install the BPMV. Refer to Brake Pressure Modulator Valve (BPMV) Replacement .
  5. Using the scan tool, perform the System Configuration under the ABS Special Functions menu.