lemon-mirror:
Home >> Pontiac >> 2006 >> Solstice Automatic >> Repair and Diagnosis >> External Pages >> Different car >> Section 172 (Computer/Integrating Systems) >> Component Locator >> Computer/Integrating Systems Connectors >> Body Control Module (BCM) C3

Body Control Module (BCM) C3

WARNING: This page is about a different car, the 2006 Chevrolet Monte Carlo and 2006 Chevrolet Impala. However, it is still accessible from the selected car via links, so may be relevant.
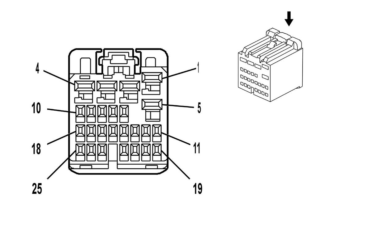
Fig 1: Body Control Module C3 Connector End Views
GM1664498Courtesy of GENERAL MOTORS CORP.
Computer/Integrating Systems Connector End Views

Connector Part Information 
  • OEM: 15482791
  • Service: See Catalog
  • Description: 25-Way F Receptacle 0.64 2.8
Terminal Part Information 
  • Pins: 8, 9, 10, 11, 12, 13, 14, 15, 16, 17, 18, 19, 20, 21, 22
  • Terminal/Tray: SNAC3-A021T-M0.64/20
  • Core/Insulation Crimp: J/J
  • Release Tool/Test Probe: 12094429/J-35616-64A (L-BU)
  • Pins: 1, 2, 5, 3
  • Terminal/Tray: SNAC-A061T-M2.8/20
  • Core/Insulation Crimp: Pins 1, 2, 5 - E/A
  • Core/Insulation Crimp: Pins 3 - See Terminal Repair Kit
  • Release Tool/Test Probe: 12094429/J-35616-4A (PU)
Body Control Module (BCM) C3

Pin Wire Color Circuit No. Function
1 BK/WH 1551 Ground
2 RD/WH 1640 Battery Positive Voltage
3 RD/WH 1040 Battery Positive Voltage
4 - - Not Used
5 BK/WH 1551 Ground
6-7 - - Not Used
8 TN/BK 2500 High Speed GMLAN Serial Data Bus+
9 TN 2501 High Speed GMLAN Serial Data Bus-
10 D-GN 5060 Low Speed GMLAN Serial Data
11 D-GN 44 Instrument Panel Lamps Dimmer Switch Signal
12 OG/WH 812 12-Volt Reference or IP Dimming Voltage Reference
13 L-GN 526 Stop Lamp Switch Signal
14 TN 552 Low Reference
15 GY 598 5-Volt Reference
16 TN/BK 2500 High Speed GMLAN Serial Data Bus+
17 TN 2501 High Speed GMLAN Serial Data Bus-
18 PU/WH 1382 LED Dimming Signal/LED Dimming Supply
19 L-BU 5986 Serial Data Communication Enable (JL9)
20 - - Not Used
21 OG 192 Front Fog Lamp Switch Signal
21 D-BU/YE 6841 Rear Lamp Flasher Signal (9C1, 9C3)
22 D-GN/WH 7158 Cruise Control Indicator Dimming Signal
23-25 - - Not Used