lemon-mirror:
Home >> Pontiac >> 2006 >> Solstice Automatic >> Repair and Diagnosis >> External Pages >> Different car >> Section 172 (Computer/Integrating Systems) >> Component Locator >> Computer/Integrating Systems Connectors >> Body Control Module (BCM) C4

Body Control Module (BCM) C4

WARNING: This page is about a different car, the 2006 Chevrolet Monte Carlo and 2006 Chevrolet Impala. However, it is still accessible from the selected car via links, so may be relevant.
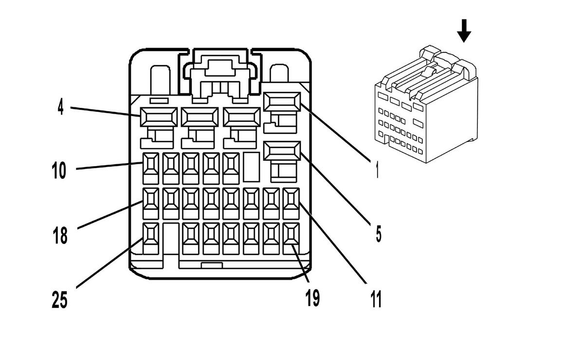
Fig 1: Body Control Module C4 Connector End Views
GM1664499Courtesy of GENERAL MOTORS CORP.
Computer/Integrating Systems Connector End Views

Connector Part Information 
  • OEM: 15482792
  • Service: See Catalog
  • Description: 25-Way F Receptacle 0.64 2.8
Terminal Part Information 
  • Pins: 7, 9, 10, 11, 12, 13, 15, 16, 17, 19, 21, 23
  • Terminal/Tray: SNAC3-A021T-M0.64/20
  • Core/Insulation Crimp: J/J
  • Release Tool/Test Probe: 12094429/J-35616-64A (L-BU)
  • Pins: 1, 2, 3, 4, 5
  • Terminal/Tray: SNAC-A061T-M2.8/20
  • Core/Insulation Crimp: Pins 1, 2, 3, 4 - E/A
  • Core/Insulation Crimp: Pins 5 - See Terminal Repair Kit
  • Release Tool/Test Probe: 12094429/J-35616-4A (PU)
Body Control Module (BCM) C4

Pin Wire Color Circuit No. Function
1 RD/WH 340 Battery Positive Voltage
2 RD/WH 240 Battery Positive Voltage
3 RD/WH 440 Battery Positive Voltage
4 RD/WH 1240 Battery Positive Voltage
5 D-BU/WH 1315 Right Front Turn Signal Lamp Supply Voltage
6 - - Not Used
7 YE 196 Windshield Wiper Motor Park Switch Signal
8 - - Not Used
9 BK 50 Ground
10 RD/WH 2440 Battery Positive Voltage
11 D-GN/WH 1317 Fog Lamp Relay Control
12 YE 5187 Right Trailer Turn Signal Lamp (6J6)
13 OG 5186 Left Trailer Turn Signal Lamp (6J6)
14 - - Not Used
15 OG 2268 Windshield Washer Relay Control
16 TN/WH 1969 Headlamp High Beam Relay Control
17 PK/BK 109 Hood Ajar Switch Signal
18 - - Not Used
19 D-BU 5985 Accessory Wakeup Serial Data
20 - - Not Used
21 YE 5199 Run/Crank Relay Coil Control
22 - - Not Used
23 PU 544 Headlamp Low Beam Supply Voltage
24-25 - - Not Used