lemon-mirror:
Home >> Pontiac >> 2006 >> Solstice Automatic >> Repair and Diagnosis >> External Pages >> Different car >> Section 172 (Computer/Integrating Systems) >> Component Locator >> Computer/Integrating Systems Connectors >> Body Control Module (BCM) C5

Body Control Module (BCM) C5

WARNING: This page is about a different car, the 2006 Chevrolet Monte Carlo and 2006 Chevrolet Impala. However, it is still accessible from the selected car via links, so may be relevant.
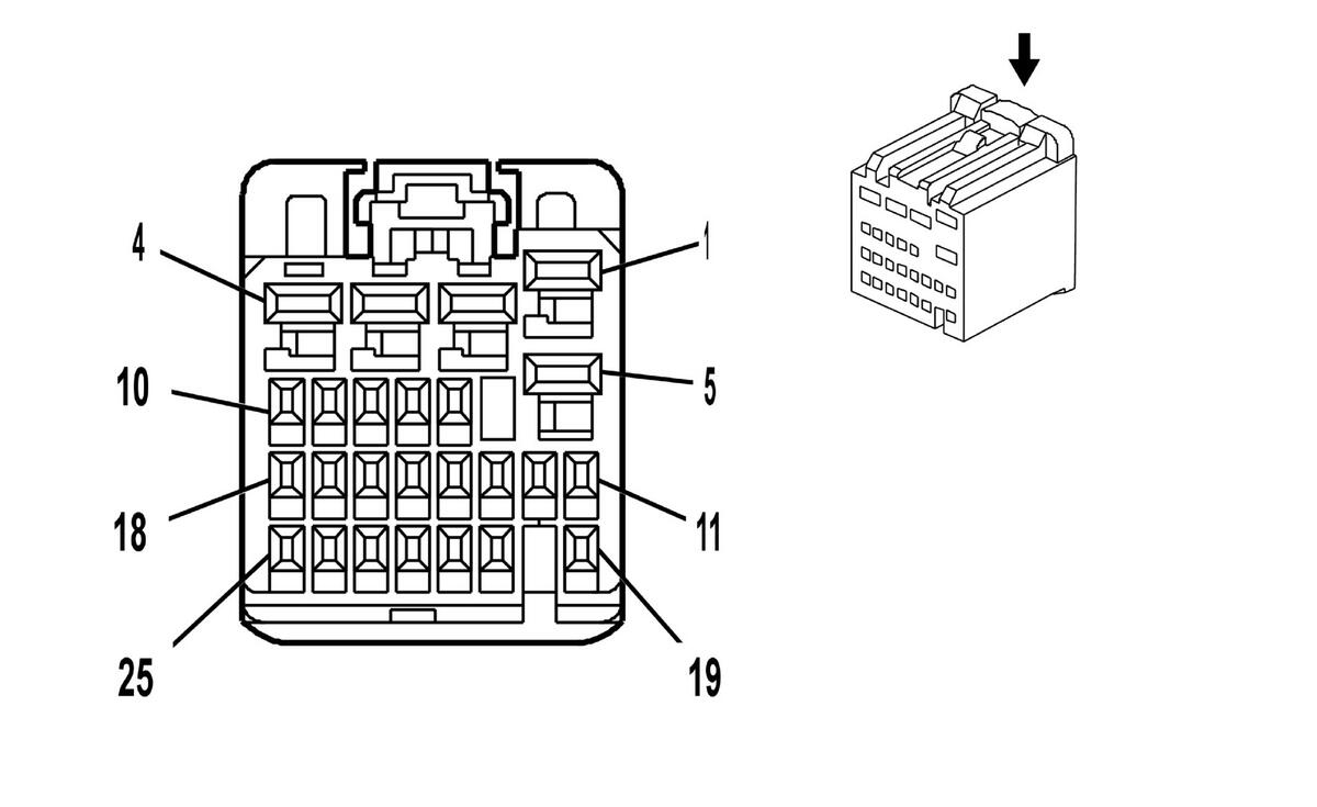
Fig 1: Body Control Module C5 Connector End Views
GM1664500Courtesy of GENERAL MOTORS CORP.
Computer/Integrating Systems Connector End Views

Connector Part Information 
  • OEM: 15480179
  • Service: See Catalog
  • Description: 25-Way F Receptacle 0.64 2.8
Terminal Part Information 
  • Pins: 1, 2, 4, 5
  • Terminal/Tray: SNAC-A061T-M2.8/20
  • Core/Insulation Crimp: See Terminal Repair Kit
  • Release Tool/Test Probe: 12094429/J-35616-4A (PU)
  • Pins: 6, 8, 9, 10, 11, 15, 18, 19, 20, 21, 23, 24
  • Terminal/Tray: SNAC3-A021T-M0.64/20
  • Core/Insulation Crimp: J/J
  • Release Tool/Test Probe: 12094429/J-35616-64A (L-BU)
Body Control Module (BCM) C5

Pin Wire Color Circuit No. Function
1 YE 18 Left Rear Stop/Turn Lamp Supply Voltage
2 D-GN 19 Right Rear Stop/Turn Lamp Supply Voltage
3 - - Not Used
4 L-BU/WH 1314 Left Front Turn Signal Lamp Supply Voltage
5 L-BU 1320 CHMSL Supply Voltage
6 WH 17 Stop Lamp Switch Signal
7 - - Not Used
8 PK 5076 Current Sensor Supply Voltage
9 WH 5075 Current Sensor Signal
10 BN 5077 Low Reference
11 TN 707 RAP Relay Coil Supply Voltage
12-14 - - Not Used
15 PU 5531 Hood Closed Switch Signal (AP3, AP8)
16-17 - - Not Used
18 TN 28 Horn Relay Control
19 YE/BK 5810 Park Enable Signal (6J1)
20 GY 91 Windshield Wiper Switch Signal 2
21 TN 860 Front Windshield Wiper Switch High Signal
22 - - Not Used
23 PK/WH 1970 Headlamp Low Beam Relay Control
24 WH 1080 Park Lamp Relay Control
25 - - Not Used