lemon-mirror:
Home >> Pontiac >> 2006 >> Solstice Automatic >> Repair and Diagnosis >> External Pages >> Different car >> Section 249 (Supplemental Inflatable Restraint System) >> Component Locator >> SIR Connectors >> Inflatable Restraint I/P Module, C2

Inflatable Restraint I/P Module, C2

WARNING: This page is about a different car, the 2007 Chevrolet Monte Carlo and 2007 Chevrolet Impala. However, it is still accessible from the selected car via links, so may be relevant.
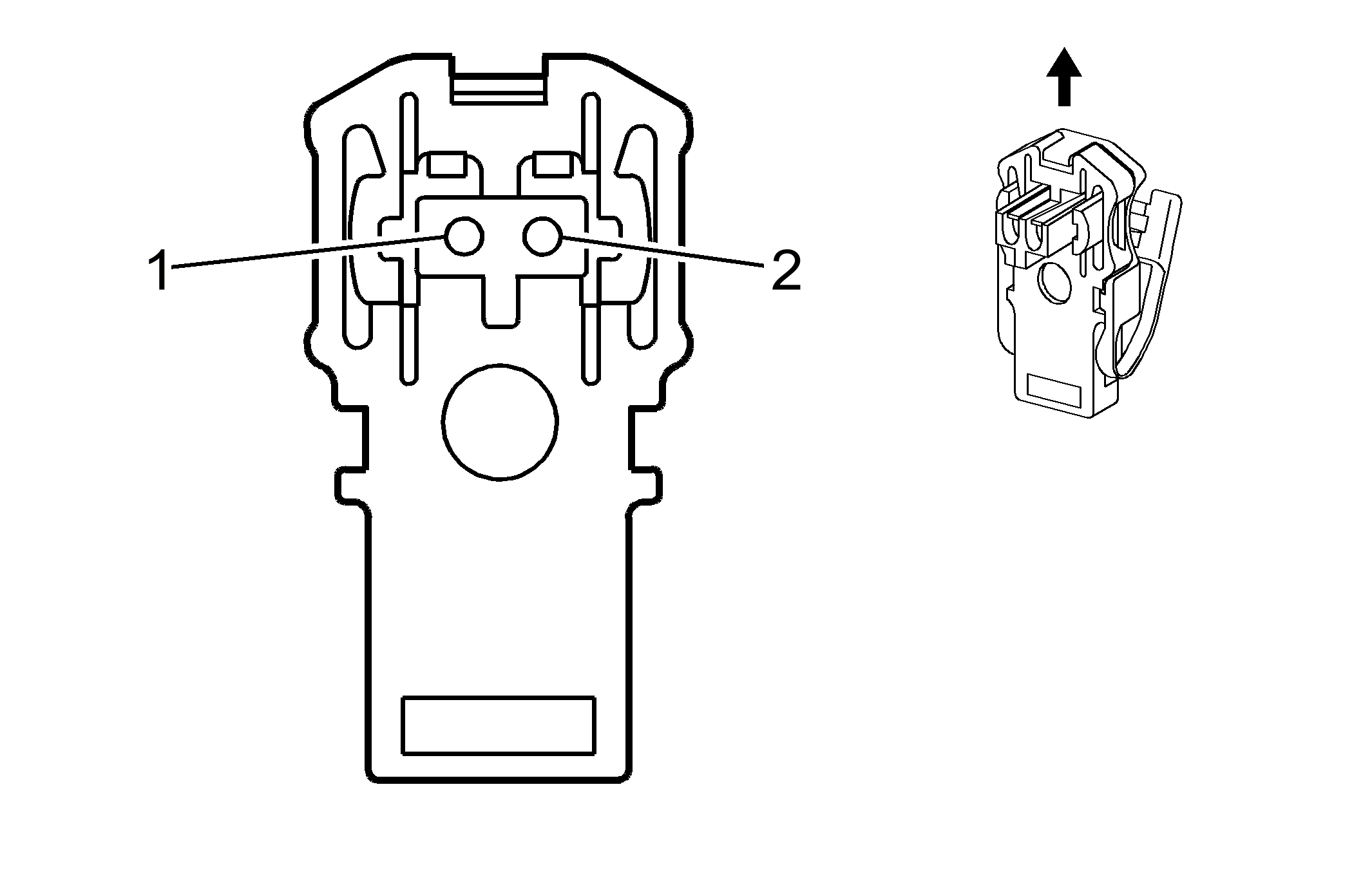
Fig 1: Inflatable Restraint I/P Module, C2 Connector End Views
GM739646Courtesy of GENERAL MOTORS CORP.
Inflatable Restraint I/P Module, C2 Connector Parts Information

Connector Part Information 
  • OEM: CA54560222
  • Service: See Catalog
  • Description: 2-Way F AMP (PK w/YE Lock)
Terminal Part Information 
  • Terminal/Tray: Service with Pigtail
  • Core/Insulation Crimp: N/A
  • Release Tool/Test Probe: N/A
Inflatable Restraint I/P Module, C2 Connector Terminal Identification

Pin Wire Color Circuit No. Function
1 GY 3027 I/P Module - Stage 2 - High Control
2 PU 3026 I/P Module - Stage 2 - Low Control