lemon-mirror:
Home >> Pontiac >> 2007 >> Grand Prix Base >> Repair and Diagnosis >> Brakes >> Anti-Lock Brake System, Traction Control System & Stability Control System >> Repair Instructions >> Yaw Rate Sensor/Lateral Accelerometer Replacement >> Installation Procedure

Installation Procedure

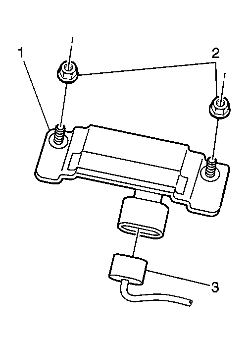
    Fig 1: View Of Yaw Rate Sensor/Lateral Accelerometer & Mounting Nuts
    GM899225Courtesy of GENERAL MOTORS CORP.
  1. Install the yaw rate sensor/lateral accelerometer (1).
  2. NOTE: Refer to Fastener Notice .
  3. Install the 2 yaw rate sensor/lateral accelerometer nuts (2).

    Tighten:  Tighten the yaw rate sensor/lateral accelerometer mounting nuts to 6 N.m (53 lb in).

  4. Fig 2: View Of Yaw Rate Sensor/Lateral Accelerometer & Electrical Connector
    GM899221Courtesy of GENERAL MOTORS CORP.
  5. Connect the yaw rate sensor/lateral accelerometer electrical connector (2) to the yaw rate sensor/lateral accelerometer (1).
  6. Install the front floor center console. Refer to Front Floor Console Replacement .
  7. Perform the ABS Diagnostic System Check. Refer to Diagnostic Starting Point - Antilock Brake System .