lemon-mirror:
Home >> Pontiac >> 2007 >> Solstice Base, Automatic >> Repair and Diagnosis (Single Page) >> Electrical >> Body Electrical >> OEM Connector End Views >> Engine Control Module Connector End Views >> Engine Control Module (ECM) Connector End View C2

Engine Control Module (ECM) Connector End View C2

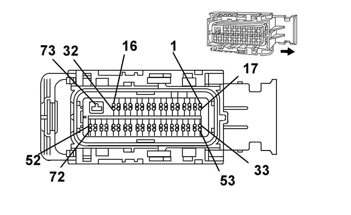
Fig 1: ECM C2 Connector End View
GM1590592Courtesy of GENERAL MOTORS CORP.
ECM C2 Connector Part Information

Connector Part Information 
  • OEM: 34566-2503
  • Service: 88988931
  • Description: 73-Way F 0.64 Receptacle 2.8 Series, Sealed (BK)
Terminal Part Information 
  • Pins: 1, 17, 20, 23, 27, 33, 35, 36, 39, 42, 43, 53, 56, 59, 62, 63, 67
  • Terminal/Tray: 33467-0003/23
  • Core/Insulation Crimp: H/H
  • Release Tool/Test Probe: J-38125-213/J-35616-64B (L-BU)
  • Pins: 2, 5, 8, 9, 11, 14, 29, 30, 32, 44, 46, 48, 50, 64, 66, 68, 69, 71, 72
  • Terminal/Tray: 33467-0005/23
  • Core/Insulation Crimp: Pins: 2, 5, 8, 9, 11, 14, 29, 30, 32, 44, 46, 48, 50, 64, 66, 68, 69, 71, 72 J/J
  • Core/Insulation Crimp: Pins: 11, 13 K/K
  • Release Tool/Test Probe: J-38125-213/J-35616-64B (L-BU)
  • Pins: 73
  • Terminal/Tray: 7116-4152-02/9
  • Core/Insulation Crimp: 2/5
  • Release Tool/Test Probe: 12094430/J-35616-35 (VT)
ECM C2 Connector Terminal Identification

Pin Wire Color Circuit No. Function
1 PU 2121 IC 1 Control
2 TN/WH 3111 HO2S Low Reference Sensor 1
3 PU/WH 3110 HO2S Reference Voltage Sensor 1
4 PU/WH 1668 HO2S High Signal Sensor 2
5 TN/WH 1669 HO2S Low Signal Sensor 2
6-7 - - Not Used
8 D-BU 496 Knock Sensor Signal
9 GY 1716 Knock Sensor Signal
10 - - Not Used
11 YE 581 TAC Motor Control - 1
12 BN 582 TAC Motor Control - 2
13 PK/BK 5290 Ignition 1 Voltage
14 PU 5284 Camshaft Phaser Intake Solenoid (1)
15-16 - - Not Used
17 L-BU 2123 IC 3 Control
18-19 - - Not Used
20 GY 5296 Low Reference
21-22 - - Not Used
23 TN 5301 Low Reference
24-26 - - Not Used
27 PU 574 Low Reference
28 - - Not Used
29 TN 2752 Low Reference
30 L-GN 5282 Camshaft Phaser Exhaust Solenoid (1)
31 - - Not Used
32 L-GN/BK 1745 Fuel Injector 2 Control
33 D-GN/WH 2124 IC 4 Control
34 - - Not Used
35 BN 2129 Low Reference
36 YE/BK 5297 5-Volt Reference
37-38 - - Not Used
39 D-BU 5300 5-Volt Reference
40-41 - - Not Used
42 BK 2760 Low Reference
43 L-GN 2867 5-Volt Reference
44 GY 2701 5-Volt Reference
45 - - Not Used
46 TN 2199 Low Reference
47 - - Not Used
48 PK/BK 1746 Fuel Injector 3 Control
49 - - Not Used
50 TN 452 Low Reference
51-52 - - Not Used
53 OG/WH 2122 IC 2 Control
54-55 - - Not Used
56 D-GN 5273 Camshaft Position Exhaust Sensor (1)
57-58 - - Not Used
59 OG 5275 Camshaft Position Intake Sensor (1)
60-61 - - Not Used
62 TN 472 IAT Sensor Signal
63 YE 573 CKP Sensor 1 Signal
64 D-GN 485 TP Sensor Signal
65 - - Not Used
66 PU 486 TP Sensor 2 Signal
67 YE 492 MAF Sensor Signal
68 GY/WH 3113 HO2S Heater Low Control Sensor 1
69 GY/WH 3122 HO2S Heater Low Control Sensor 2
70 - - Not Used
71 L-BU/BK 844 Fuel Injector 4 Control
72 BK 1744 Fuel Injector 1 Control
73 BK/WH 451 Ground


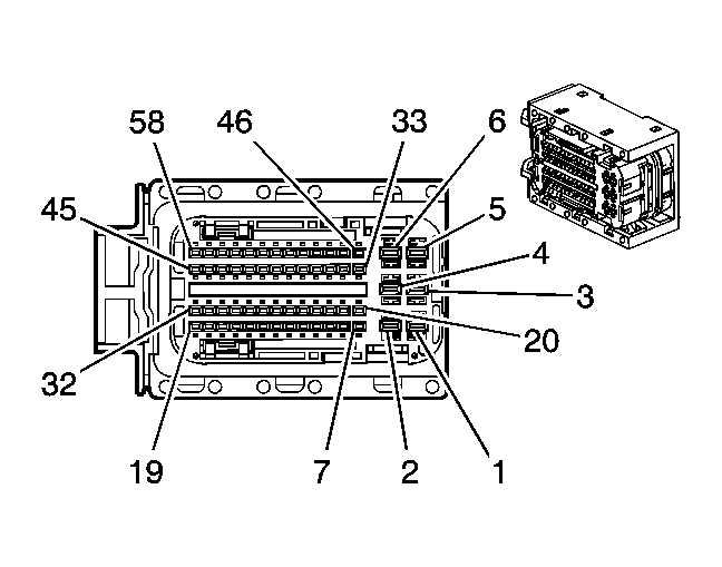
Fig 1: Engine Control Module (ECM) C2 Connector End View
GM1360604Courtesy of GENERAL MOTORS CORP.
Engine Control Module (ECM) C2 Connector Part Information

Connector Part Information 
  • OEM: 1 928 401 713
  • Service:
  • Description: 58-Way
Terminal Part Information 
  • Pins:
  • Terminal/Tray:
  • Core/Insulation Crimp:
  • Release Tool/Test Probe:
Engine Control Module (ECM) C2 Connector Terminal Identification

Pin Wire Color Circuit No. Function
1 BK/WH 451 Ground
2 BK/WH 451 Ground
3 PK/BK 5290 Ignition 1 Voltage
4 BK/WH 451 Ground
5 PK/BK 5290 Ignition 1 Voltage
6 PK/BK 5290 Ignition 1 Voltage
8 - - Not Used
9 TN 2759 Low Reference
10 D-GN/WH 465 Fuel Pump Relay Control
11 TN 5514 A/C Refrigerant Pressure Sensor Low Reference (C60)
12 YE 447 Starter Relay Coil Control
13 YE 492 MAF Sensor Signal
14 GY 2709 5-Volt Reference
15 D-BU 1161 APP Sensor 1 Signal
16 BN/WH 379 CPP Switch Signal (MA5)
17 OR/BK 1786 Transmission Park/Neutral Signal (M82)
18 L-GN 24 Backup Lamp Supply Voltage (M82)
19 WH 1310 EVAP Canister Vent Solenoid Control
20 BN 7448 Vacuum Assist Pump Relay Coil Control
21 - - Not Used
22 TN 2760 Low Reference
23 TN/WH 3121 Heated Oxygen Sensor Low Signal Bank 1 Sensor (2)
24 - - Not Used
25 L-BU 1162 APP Sensor 2 Signal
26 - - Not Used
27 D-GN 890 Fuel Tank Pressure Sensor Signal
28 - - Not Used
29 D-BU 1809 Brake Booster Vacuum Sensor Signal
30 - - Not Used
31 D-BU 6306 Clutch Start Neutral Start Signal (MA5)
32-33 - - Not Used
34 BN 1271 Low Reference
35 GY 2700 5-Volt Reference (C60)
36 PU 1589 Fuel Level Sensor Signal
37 - - Not Used
38 PU 3120 Heated Oxygen Sensor High Signal Bank 1 Sensor (2)
39 OR/BK 380 A/C Refrigerant Pressure Sensor Signal (C60)
40 PU 401 OSS Low Signal (MA5)
41 BN 4 Accessory Voltage
42 TN/BK 2500 High Speed GMLAN Serial Data Bus (+)
43 - - Not Used
44 D-GN/WH 459 A/c Compressor Clutch Relay Control (C60)
45 - - Not Used
46 WH 2368 Cooling Fan Clutch Supply Voltage
47 PU 1272 Low Reference
48 TN 1274 5-Volt Reference
49 WH/BK 1164 5-Volt Reference
50 L-BU 6289 Induction Air Temperature Sensor Signal
51 - - Not Used
52 L-BU 20 Stop Lamp Supply Voltage (M82)
53 YE 400 OSS High Signal (MA5)
54 PK 1039 Ignition 1 Voltage
55 TN 2501 High Speed GMLAN Serial Data BUS (-)
56 RD/WH 840 Battery Positive Voltage
57 - - Not Used
58 YE 5991 Powertrain Relay Coil Control