lemon-mirror:
Home >> Pontiac >> 2007 >> Solstice Base, Automatic >> Repair and Diagnosis (Single Page) >> Electrical >> Body Electrical >> OEM Connector End Views >> Engine Control Module Connector End Views >> Engine Control Module (ECM) Connector End View C3

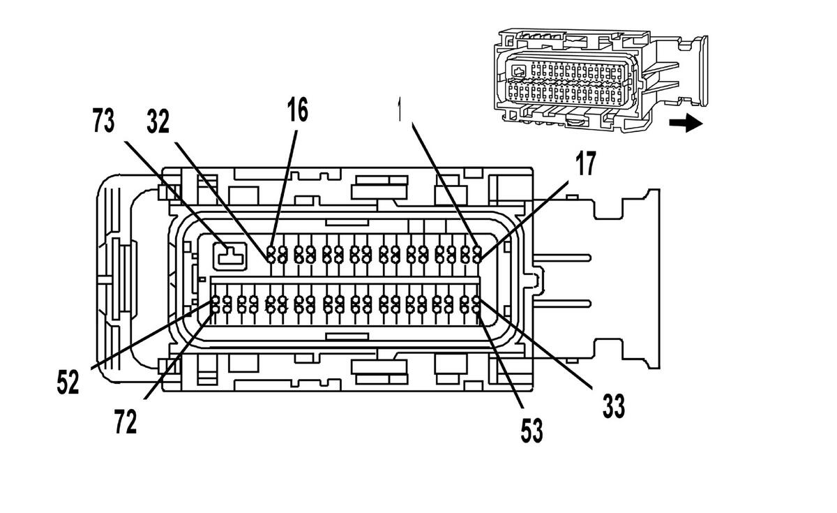
Engine Control Module (ECM) Connector End View C3

Fig 1: ECM C3 Connector End View
GM1590596Courtesy of GENERAL MOTORS CORP.
ECM C3 Connector Part Information

Connector Part Information 
  • OEM: 34566-0203
  • Service: 88988372
  • Description: 73-Way F 0.64 Receptacle 2.8 Series, Sealed (GY)
Terminal Part Information 
  • Pins: 7, 21, 23, 28, 29, 35, 37, 39, 44, 46, 49, 55, 57, 59, 66, 67
  • Terminal/Tray: 33467-0003/23
  • Core/Insulation Crimp: H/H
  • Release Tool/Test Probe: J-38125-213/J-35616-64B (L-BU)
  • Pins: 33, 53, 65
  • Terminal/Tray:33467-0005/23
  • Core/Insulation Crimp: Pins: 33, 53, J/J
  • Core/Insulation Crimp: Pins: 65 K/K
  • Release Tool/Test Probe: J-38125-213/J-35616-64B (L-BU)
ECM C3

Pin Wire Color Circuit No. Function
1-6 - - Not Used
7 OG 225 Generator Turn On Signal
8-20 - - Not Used
21 BK/WH 2751 Low Reference (C60)
22 - - Not Used
23 OG/BK 469 Low Reference
24-27 - - Not Used
28 TN/WH 1704 Low Reference
29 GY 23 Generator Field Duty Cycle Signal
30-32 - - Not Used
33 TN 2501 High Speed GMLAN Serial Data Bus (-)
34 - - Not Used
35 TN 2761 Low Reference
36 - - Not Used
37 GY 2700 5-Volt Reference (C60)
38 - - Not Used
39 GY 2704 5-Volt Reference
40-43 - - Not Used
44 L-BU/BK 1688 5-Volt Reference
45 - - Not Used
46 OG/BK 1786 Transmission Park/Neutral Signal (1) (M82)
47 D-GN 1433 PNP/Clutch Start Switch Signal
48 D-GN/WH 428 EVAP Canister Purge Solenoid Control
49 D-GN 335 Low Speed Cooling Fan Relay Control
50-52 - - Not Used
53 TN/BK 2500 High Speed GMLAN Serial Data Bus (+)
54 - - Not Used
55 YE 410 ECT Sensor Signal
56 - - Not Used
57 OG/BK 380 A/C Refrigerant Pressure Sensor Signal (C60)
58 - - Not Used
59 L-GN 432 MAP Sensor Signal
60-64 - - Not Used
65 TN/BK 231 Oil Pressure Switch Signal
66 YE 400 VSS High Signal (MA5)
67 PU 401 VSS Low Signal (MA5)
68-73 - - Not Used