lemon-mirror:
Home >> Pontiac >> 2007 >> Vibe Automatic >> Repair and Diagnosis >> Body & Frame >> Door Locks >> Keyless Entry System And Remote Functions >> Repair Instructions >> Remote Control Door Lock Receiver Replacement >> Installation Procedure

Installation Procedure

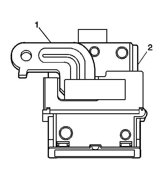
    Fig 1: Remote Control Door Lock Receiver & Mounting Bracket
    GM860853Courtesy of GENERAL MOTORS CORP.
  1. Install the remote control door lock receiver (2) to the mounting bracket (1), if removed.
  2. Fig 2: Remote Control Door Lock Receiver, Electrical Connector And Bolt
    GM860850Courtesy of GENERAL MOTORS CORP.
  3. Install the remote control door lock receiver (1) to the vehicle.
  4. NOTE: Refer to Fastener Notice .
  5. Install the bolt (3) to the door lock receiver (1).

    Tighten:  Tighten the remote control door lock receiver bolt to 10 N.m (89 lb in).

  6. Connect the remote control door lock receiver electrical connector (2).
  7. Install the right upper quarter panel trim. Refer to Rear Quarter Upper Trim Panel Replacement .
  8. Connect the negative battery cable.
  9. Reprogram the remote control door lock receiver, if necessary. Refer to Transmitter Programming .