lemon-mirror:
Home >> Pontiac >> 2007 >> Vibe Automatic >> Repair and Diagnosis >> Electrical >> Body Electrical >> Accessory Power Socket >> Repair Instructions >> AC/DC Power Outlet Control Module Replacement >> Installation Procedure

Installation Procedure

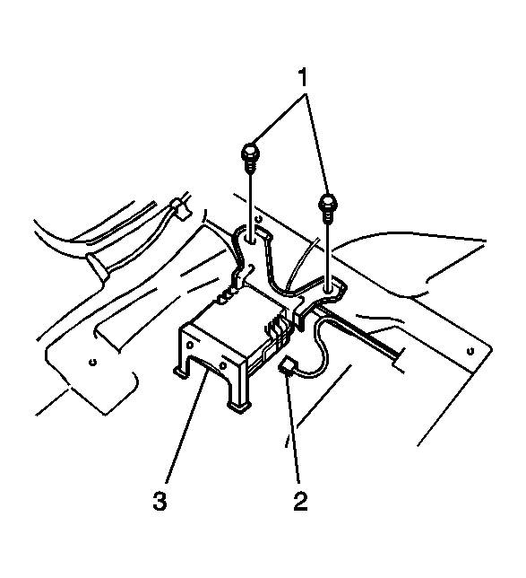
    Fig 1: AC/DC Power Outlet Control Module & Bolts
    GM852193Courtesy of GENERAL MOTORS CORP.
    NOTE: Refer to Fastener Notice .
  1. Install the accessory AC/DC power control module (3) to the vehicle. Secure the module (3) with the 2 bolts (1).

    Tighten:  Tighten the power control module bolts to 7.0 N.m (62 lb in).

  2. Fold the floor carpet to the inside.
  3. Connect the electrical connector (2).
  4. Move the driver seat to it's original position.
  5. Connect the negative battery cable. Refer to Battery Negative Cable Disconnection and Connection .