lemon-mirror:
Home >> Pontiac >> 2008 >> Solstice Base, Automatic >> Repair and Diagnosis >> Accessories & Equipment >> Memory Modules >> Configurable Customer Control System >> Repair Instructions >> Steering Wheel Control Switch Assembly Replacement

Steering Wheel Control Switch Assembly Replacement

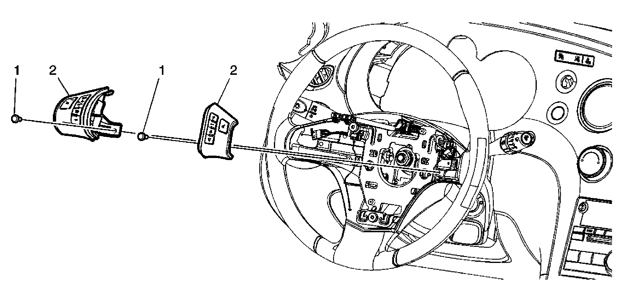
Fig 1: View Of Steering Wheel Control Switch Assembly & Components
GM1581898Courtesy of GENERAL MOTORS CORP.
Callout Component Name
NOTE: Refer to Fastener Notice .
Preliminary Procedure: Remove the inflatable restraint steering wheel module. Refer to Inflatable Restraint Steering Wheel Module Replacement .
1 Screw, Steering Wheel Control Assembly

Tighten:  2 N.m (18 lb in)

2 Control Assembly, Steering Wheel