lemon-mirror:
Home >> Pontiac >> 2008 >> Torrent Base, FWD >> Repair and Diagnosis >> Electrical >> Component Locations >> Electrical Component Locator >> Component Location Graphics

Component Location Graphics

NOTE: Figures may show multiple component locations. Refer to appropriate table for proper figure references.
Fig 1: Automatic Transmission Electronic Components Overview (1 Of 2)
G00359840Courtesy of GENERAL MOTORS CORP.
Fig 2: Automatic Transmission Electronic Components Overview (2 Of 2)
G00359841Courtesy of GENERAL MOTORS CORP.
Fig 3: Under Right Side Of Headliner
G00456737Courtesy of GENERAL MOTORS CORP.
Fig 4: Vehicle Overview
G00359563Courtesy of GENERAL MOTORS CORP.
Fig 5: Center Of Dash
G00359576Courtesy of GENERAL MOTORS CORP.
Fig 6: Fuel Tank
G00359586Courtesy of GENERAL MOTORS CORP.
Fig 7: Front Of Engine (LNJ)
G00441047Courtesy of GENERAL MOTORS CORP.
Fig 8: Pedal Assemblies
G00441048Courtesy of GENERAL MOTORS CORP.
Fig 9: HVAC Module Assembly
G00441049Courtesy of GENERAL MOTORS CORP.
Fig 10: Below Front Impact Bar
G00441050Courtesy of GENERAL MOTORS CORP.
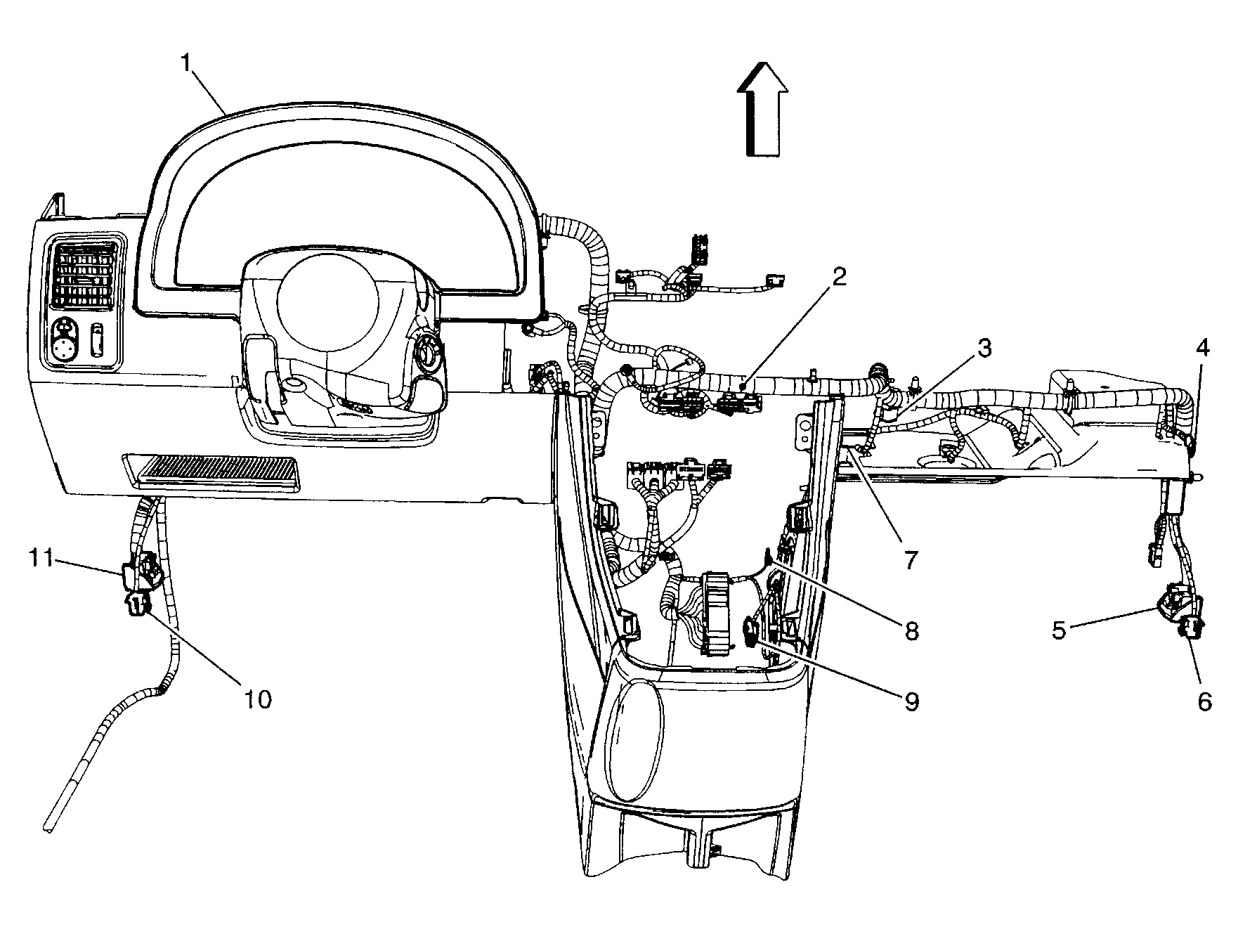
Fig 11: Instrument Panel
G00441051Courtesy of GENERAL MOTORS CORP.
Fig 12: Audio Components
G00441052Courtesy of GENERAL MOTORS CORP.
Fig 13: Below Shifter
G00441053Courtesy of GENERAL MOTORS CORP.
Fig 14: Left Front Of Engine Compartment
G00441054Courtesy of GENERAL MOTORS CORP.
Fig 15: Near Brake Booster
G00441055Courtesy of GENERAL MOTORS CORP.
Fig 16: Top Of Engine (LNJ)
G00441056Courtesy of GENERAL MOTORS CORP.
Fig 17: Near Hood Latch
G00441057Courtesy of GENERAL MOTORS CORP.
Fig 18: Left Side Of Dash
G00456738Courtesy of GENERAL MOTORS CORP.
Fig 19: Below Left Rear Window
G00441059Courtesy of GENERAL MOTORS CORP.
Fig 20: Steering Column
G00441060Courtesy of GENERAL MOTORS CORP.
Fig 21: Above Battery
G00441061Courtesy of GENERAL MOTORS CORP.
Fig 22: Rear Of Engine (LNJ)
G00441062Courtesy of GENERAL MOTORS CORP.
Fig 23: Front Of Engine (LNJ)
G00441063Courtesy of GENERAL MOTORS CORP.
Fig 24: Oxygen Sensors
G00441064Courtesy of GENERAL MOTORS CORP.
Fig 25: Passenger Seat (Manual)
G00441065Courtesy of GENERAL MOTORS CORP.
Fig 26: Driver Seat
G00441066Courtesy of GENERAL MOTORS CORP.
Fig 27: Below Left Front Headlamp
G00441067Courtesy of GENERAL MOTORS CORP.
Fig 28: Front Air Bags
G00441068Courtesy of GENERAL MOTORS CORP.
Fig 29: Roof Rail Air Bags
G00441069Courtesy of GENERAL MOTORS CORP.
Fig 30: Center Of Floor
G00441070Courtesy of GENERAL MOTORS CORP.
Fig 31: Air Induction Components (LNJ)
G00441071Courtesy of GENERAL MOTORS CORP.
Fig 32: Park Brake Assembly
G00441072Courtesy of GENERAL MOTORS CORP.
Fig 33: Near Rear Differential
G00441073Courtesy of GENERAL MOTORS CORP.
Fig 34: Below Right Rear Window
G00441074Courtesy of GENERAL MOTORS CORP.
Fig 35: Behind Dash
G00441075Courtesy of GENERAL MOTORS CORP.
Fig 36: Left Front Suspension
G00456739Courtesy of GENERAL MOTORS CORP.
Fig 37: Rear ABS Sensors
G00441077Courtesy of GENERAL MOTORS CORP.
Fig 38: Driver Door
G00441078Courtesy of GENERAL MOTORS CORP.
Fig 39: Passenger Door
G00441079Courtesy of GENERAL MOTORS CORP.
Fig 40: Left Rear Door
G00441080Courtesy of GENERAL MOTORS CORP.
Fig 41: Right Rear Door
G00441081Courtesy of GENERAL MOTORS CORP.
Fig 42: Forward Lamp Harness (Chevy)
G00456740Courtesy of GENERAL MOTORS CORP.
Fig 43: Forward Lamp Harness (Pontiac)
G00456741Courtesy of GENERAL MOTORS CORP.
Fig 44: Front Body Harness
G00456742Courtesy of GENERAL MOTORS CORP.
Fig 45: Rear Engine Harness
G00456743Courtesy of GENERAL MOTORS CORP.
Fig 46: Passenger Compartment Body Harness
G00456744Courtesy of GENERAL MOTORS CORP.
Fig 47: Passenger Side Dash Harness
G00456745Courtesy of GENERAL MOTORS CORP.
Fig 48: Console Harness
G00456746Courtesy of GENERAL MOTORS CORP.
Fig 49: Driver Seat Harness
G00456747Courtesy of GENERAL MOTORS CORP.
Fig 50: Headliner Harness
G00456749Courtesy of GENERAL MOTORS CORP.
Fig 51: Chassis Harness
G00456748Courtesy of GENERAL MOTORS CORP.
Fig 52: Left Rear Body Harness
G00456750Courtesy of GENERAL MOTORS CORP.
Fig 53: Driver Side Dash Harness
G00456751Courtesy of GENERAL MOTORS CORP.
Fig 54: Right Rear Body Harness
G00456752Courtesy of GENERAL MOTORS CORP.
Fig 55: Trailer Harness
G00456753Courtesy of GENERAL MOTORS CORP.
Fig 56: Liftgate Harness
G00456754Courtesy of GENERAL MOTORS CORP.
Fig 57: G101
G00441097Courtesy of GENERAL MOTORS CORP.
Fig 58: Power Steering Harness
G00441098Courtesy of GENERAL MOTORS CORP.
Fig 59: G103 & G105
G00441099Courtesy of GENERAL MOTORS CORP.
Fig 60: G201
G00441100Courtesy of GENERAL MOTORS CORP.
Fig 61: G203
G00441101Courtesy of GENERAL MOTORS CORP.
Fig 62: G205
G00441102Courtesy of GENERAL MOTORS CORP.
Fig 63: G301 & G311
G00441103Courtesy of GENERAL MOTORS CORP.
Fig 64: G401
G00441104Courtesy of GENERAL MOTORS CORP.
Fig 65: G403
G00441105Courtesy of GENERAL MOTORS CORP.
Fig 66: Passenger Door Harness
G00456755Courtesy of GENERAL MOTORS CORP.
Fig 67: Driver Door Harness
G00456756Courtesy of GENERAL MOTORS CORP.
Fig 68: Front Engine Harness
G00456757Courtesy of GENERAL MOTORS CORP.
Fig 69: Underhood Fuse Block
G00441109Courtesy of GENERAL MOTORS CORP.
Fig 70: I/P Fuse Block
G00441110Courtesy of GENERAL MOTORS CORP.
Fig 71: Engine Assembly (LY7)
G00456758Courtesy of GENERAL MOTORS CORP.
Fig 72: Right Front Of Engine (LY7)
G00456759Courtesy of GENERAL MOTORS CORP.
Fig 73: Top Of Engine (LY7)
G00456760Courtesy of GENERAL MOTORS CORP.
Fig 74: Rear Of Transmission (LY7)
G00456761Courtesy of GENERAL MOTORS CORP.