lemon-mirror:
Home >> Porsche >> 1985 >> 928 Automatic >> Repair and Diagnosis >> Engine Performance >> System >> Fuel Injection System - BOSCH LH >> Testing >> Test 2 >> EZF Control Unit Power Supply

EZF Control Unit Power Supply

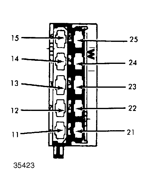
  1. Connect voltmeter on terminals 12 and 25 of disconnected EZF control unit plug. Turn ignition switch to the "ON" position. Display should show battery voltage. If no display, go to step 2). If voltage is shown, test is okay.
  2. Connect voltmeter to connected plug "W14" (CEB) and ground. Turn ignition switch to the "ON" position. If no battery voltage is displayed, go to step 3). If battery voltage is shown, test is okay.
  3. Bridge relay "XVI" terminals 30 and 87. Connect voltmeter to terminals 12 and 25 of disconnected EZF control unit plug. Battery voltage should be shown. See Fig 1 .
Fig 1: EZF Control Unit Plug & Terminal Locations
G35423