lemon-mirror:
Home >> Renault >> 1983 >> Fuego 1.6 C >> Repair and Diagnosis >> Engine Performance >> Ignition System >> Ignition System - Turbo >> Description

Ignition System - Turbo: Description

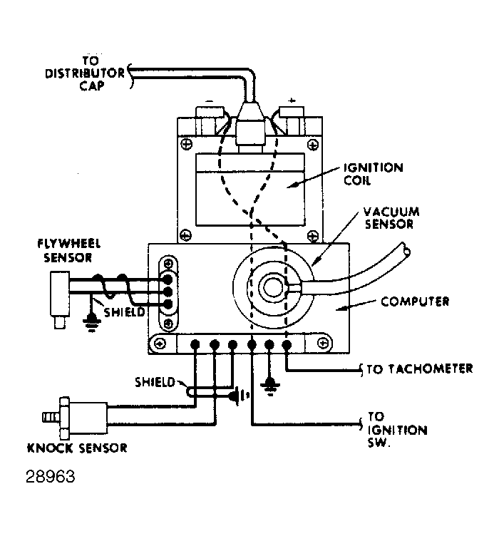
The electronic ignition system used by Renault in the Fuego Turbo includes a computer, distributor, ignition coil, and numerous sensors. See Fig 1. The ignition coil, which is part of the computer assembly, may be replaced separately if it is determined to be faulty.

Fig 1: Wiring Diagram for Renault Fuego Turbo
G28963

As engine speed and crankshaft position are determined by the preset magnetic position sensor, the distributor's only function is to distribute the spark to the correct spark plug at the proper time.

The vacuum sensor, which cannot be removed from the computer housing, supplies the computer with engine load conditions. The computer also receives information from a spark knock (detonation) sensor.

The flywheel has 44 evenly spaced teeth around its circumference. Two of these have been removed 90° before top dead center and two have been removed 90° after top dead center. This is to provide precise timing marks at 90° before and after top dead center positions. There are actually only 40 flywheel teeth.