lemon-mirror:
Home >> Saab >> 1976 >> 99 GLE >> Repair and Diagnosis >> Maintenance >> Procedures >> Wheel Alignment (Procedures) >> Toe-In >> All Models

All Models

With wheels in straight-ahead position, loosen steering link (tie rod) lock nut and turn adjustable sleeve until correct toe-in is obtained. Tighten lock nuts and recheck toe-in.

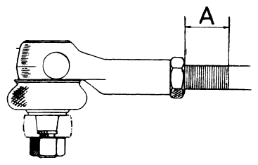
NOTE: After adjustment of toe-in, measurement "A" (see Fig 1) of tie-rod must not exceed 7.0" (25 mm). For tie-rods opposite to each other, the difference between the measurements "A" must not exceed 0.08" (2 mm).
Fig 1: View Showing Where to Measure Tie Rod Length
G09350031Courtesy of SAAB-SCANIA OF AMERICA, INC.
WHEEL ALIGNMENT SPECIFICATIONS

Application Caster (Degrees) Camber (Degrees) Toe-In (Inches) Toe-Out On Turns (Degrees)
Inner Outer
Saab 99 1 ± 1/2 1/2 ± 1/2 (1)0 to 5/64 20-22 20
(1) With power steering set to -3/64 to 3/64".