lemon-mirror:
Home >> Saab >> 2000 >> 9-3 Base, 2D Convertible, Automatic >> Repair and Diagnosis >> Engine Performance >> Fuel Delivery >> Fuel System >> Technical Description >> Fuel pump

Fuel pump

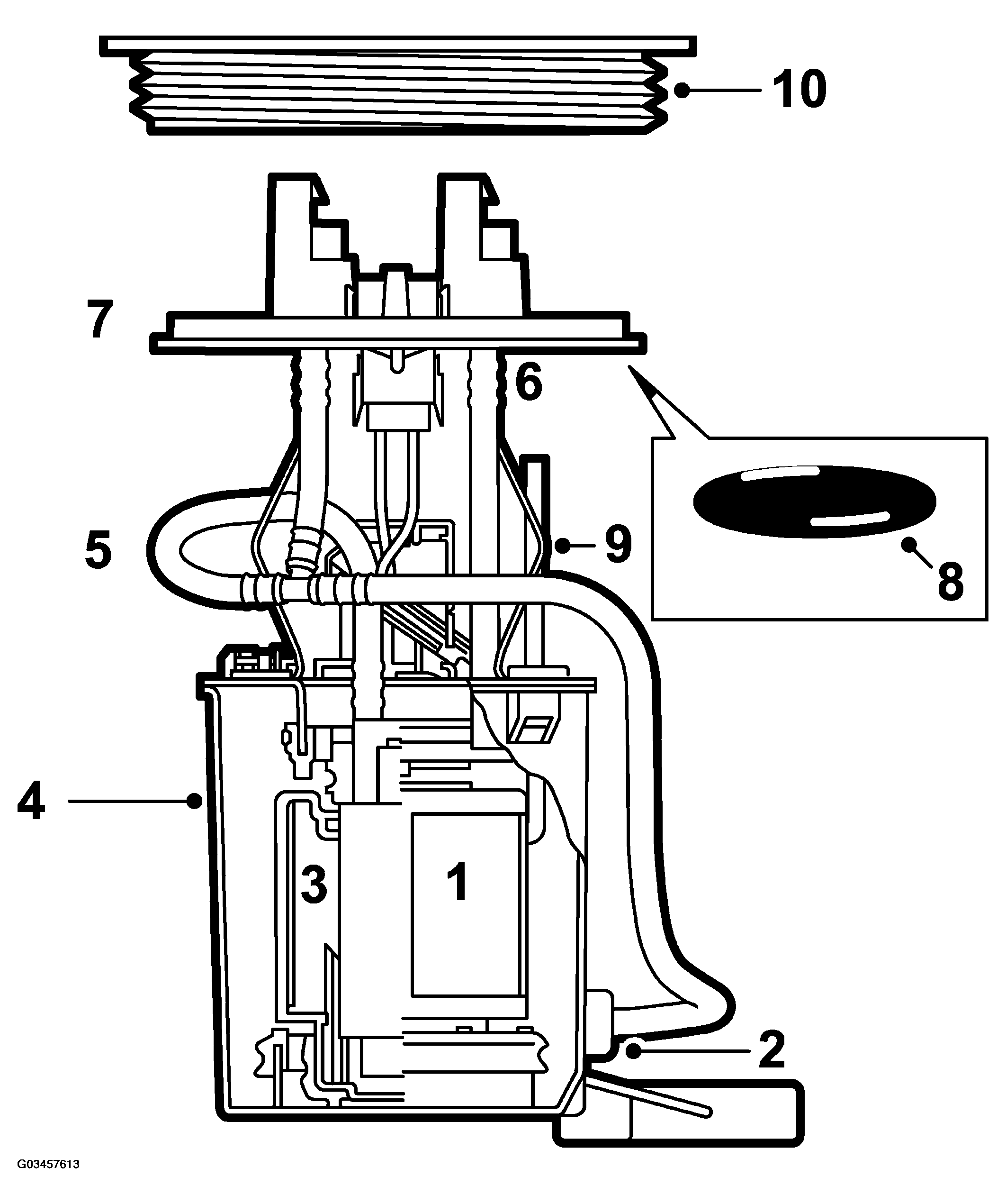
Fig 1: Identifying Fuel Pump Components
G03457613

Fuel pump 

  1. Pump
  2. Ejector
  3. Filter
  4. Reservoir
  5. Pump line
  6. Return line
  7. Pump cover
  8. O-ring
  9. Spring
  10. Screw ring

The fuel pump is located inside a plastic reservoir that is fixed between the top and bottom of the tank. It is centered on ribs on the bottom of the tank and secured to the top of the tank with a screw ring (10).

Movement in the tank is taken up by the fuel pump spring (9). In principal, the design and function of the pump is no different to that of earlier fuel pumps with a main and feed pump. In the Walbro pump, however, the feed pump has been replaced by a positive ejector that is "driven" by the fuel flowing from the delivery line via a T-piece. The pump is an electric rotor type pump.

Fig 2: Identifying Fuel Pump Location In Tank
G03457614

Fuel pump location in tank 

The ejector is used to secure the supply of fuel to the pump. Thanks to it being located in the reservoir, the pump is guaranteed a flow of fuel even during cornering and acceleration with small amounts of fuel in the tank. The pump and motor are encapsulated and cannot be dismantled for repair.

A non-return valve on the pressure side of the pump, located in the connector nipple in the pump cover, prevents the pressure in the fuel line from dropping as soon as the engine is turned off.