lemon-mirror:
Home >> Saab >> 2001 >> 9-3 Base, 2D Hatchback, Automatic >> Repair and Diagnosis >> Engine Performance >> Fuel Delivery >> Fuel System >> Technical Description >> Fuel pump >> Notes

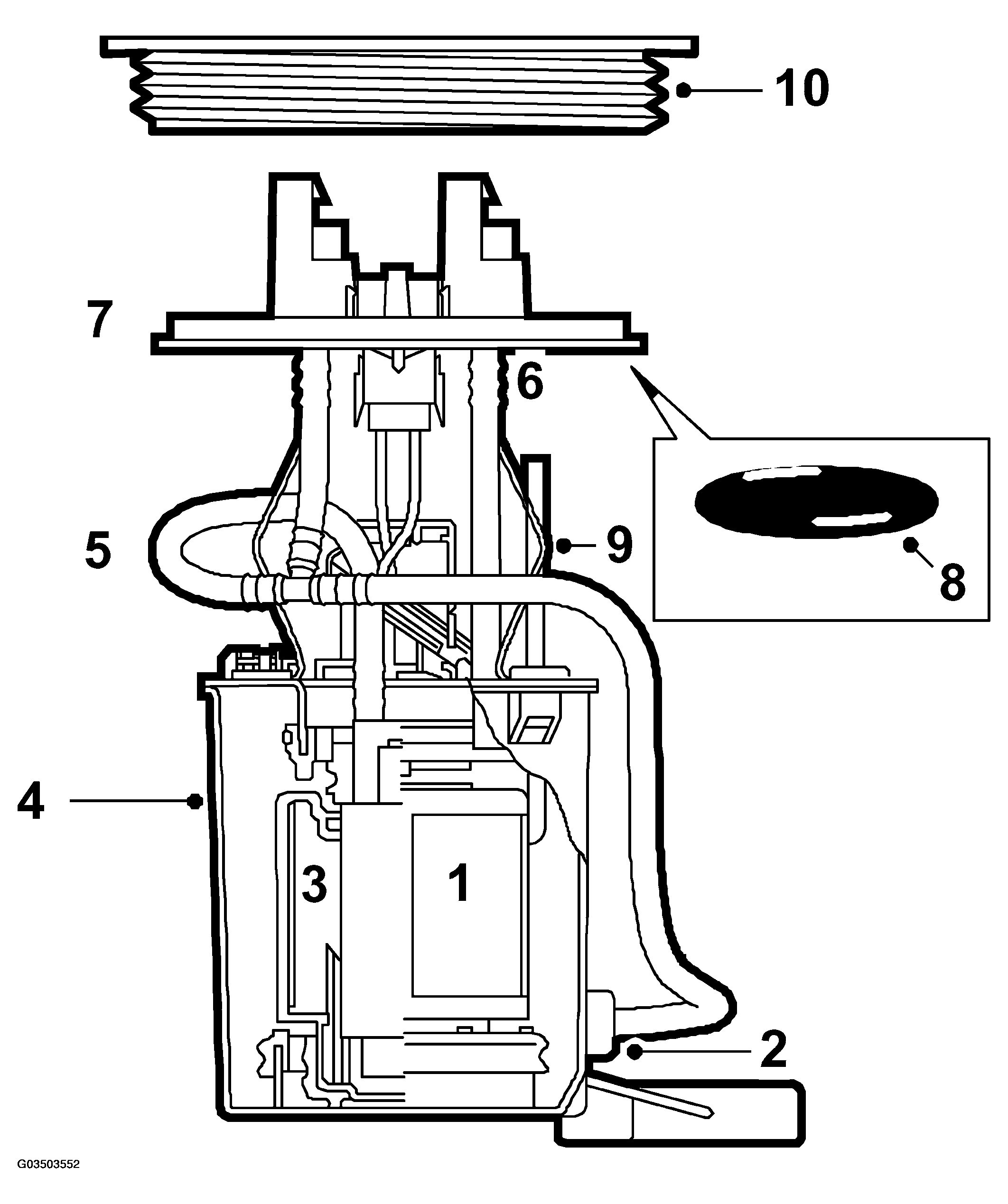
Fuel pump: Notes

Fig 1: Illustration For Steps 1-2-3-4-5-6-7-8-9-10
G03503552