lemon-mirror:
Home >> Saab >> 2001 >> 9-3 Base, 2D Hatchback, Automatic >> Repair and Diagnosis >> Engine Performance >> System >> TRIONIC T7 Fuel Control System >> Adjustment - Replacement >> Injectors >> To remove

To remove

IMPORTANT: Great cleanliness must be observed when working on the fuel rail and injectors. Wash valves, fuel rail and intake manifold and clean them with compressed air.
  1. Remove the engine cover.
    Fig 1: Illustration For Step 1-2-3
    G03503741Courtesy of SAAB-SCANIA OF AMERICA, INC.
  2. Remove the fuel pump fuse no. 32 while the engine is running. Turn off the ignition once the engine has stopped.

    Refit fuel pump fuse no. 32.

  3. Undo the fuel connections to the fuel rail with the special tool, part no. 83 95 261.

    Wipe up excess fuel with a rag.

  4. Detach the crankcase ventilation hoses.
    Fig 2: Illustration For Step 4-5-6
    G03503742Courtesy of SAAB-SCANIA OF AMERICA, INC.
  5. Remove the dipstick and filler pipe and plug the pipe.
  6. Remove the cover on the throttle disc. Detach the accelerator wire from the throttle spindle. Remove the accelerator wire and holder and bend to one side.
  7. Undo the cable channel, 3 screws.
    Fig 3: Illustration For Step 7
    G03503743Courtesy of SAAB-SCANIA OF AMERICA, INC.
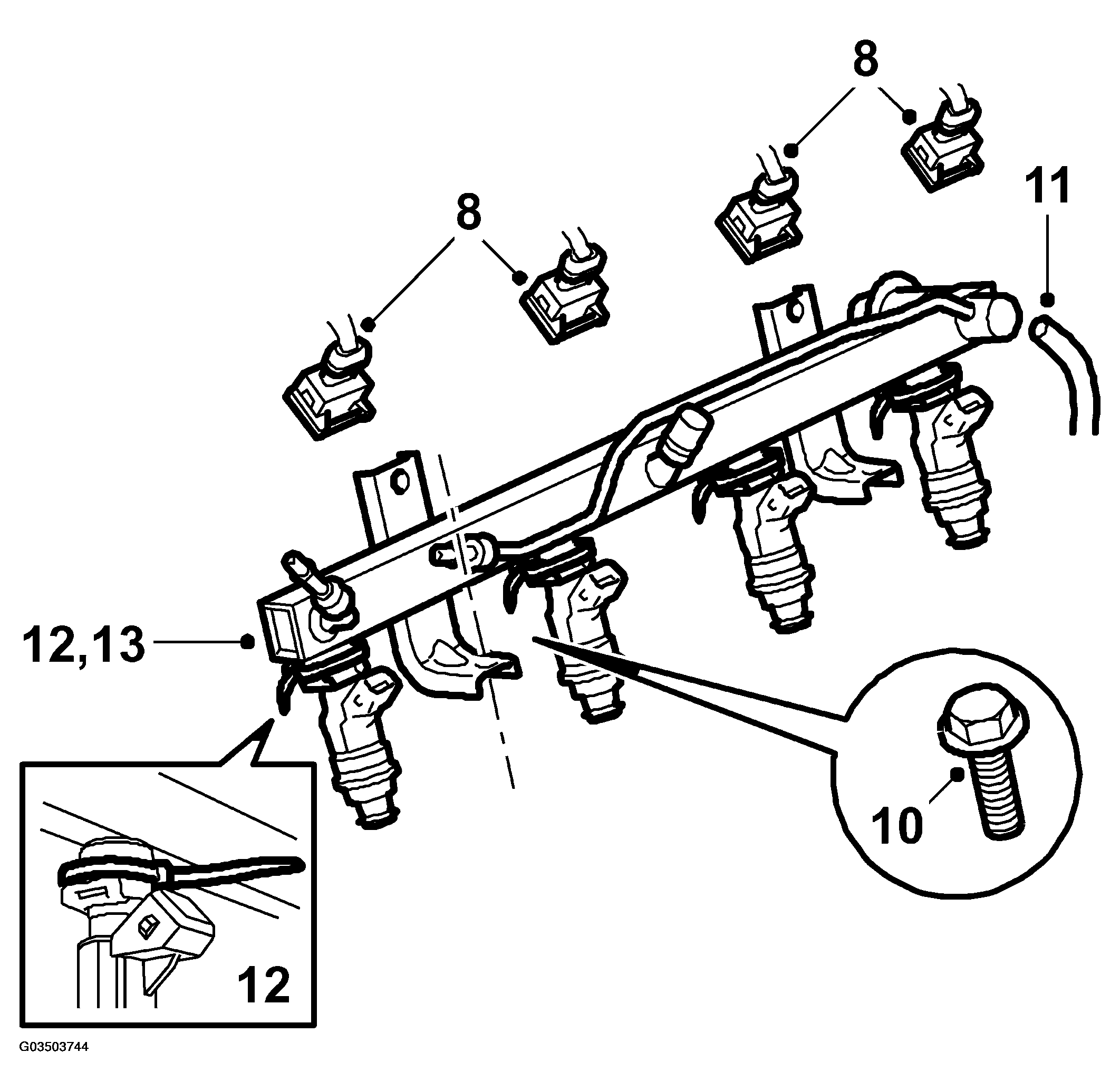
  8. Unplug the injector connectors and place the cable channel to one side.
    Fig 4: Illustration For Step 8-9-10-11-12-13
    G03503744Courtesy of SAAB-SCANIA OF AMERICA, INC.
    IMPORTANT: Secure each injector clip with a narrow cable tie. Make sure it is positioned correctly and tighten it. Otherwise, there is risk of the injectors coming loose from the fuel rail during removal.
  9. Clean the area round the injectors with compressed air.
  10. Remove the 2 rail retaining bolts.
  11. Disconnect the pressure regulator vacuum hose.
  12. Carefully pry loose the rail with 2 crowbars or similar tools.
  13. Carefully lift out the rail.
  14. Plug the nozzle orifices.