lemon-mirror:
Home >> Saab >> 2001 >> 9-5 Base, 4D Sedan, Automatic >> Repair and Diagnosis >> Engine Performance >> Fuel Delivery >> Fuel System >> Technical Description >> Components >> Notes

Technical Description: Components: Notes

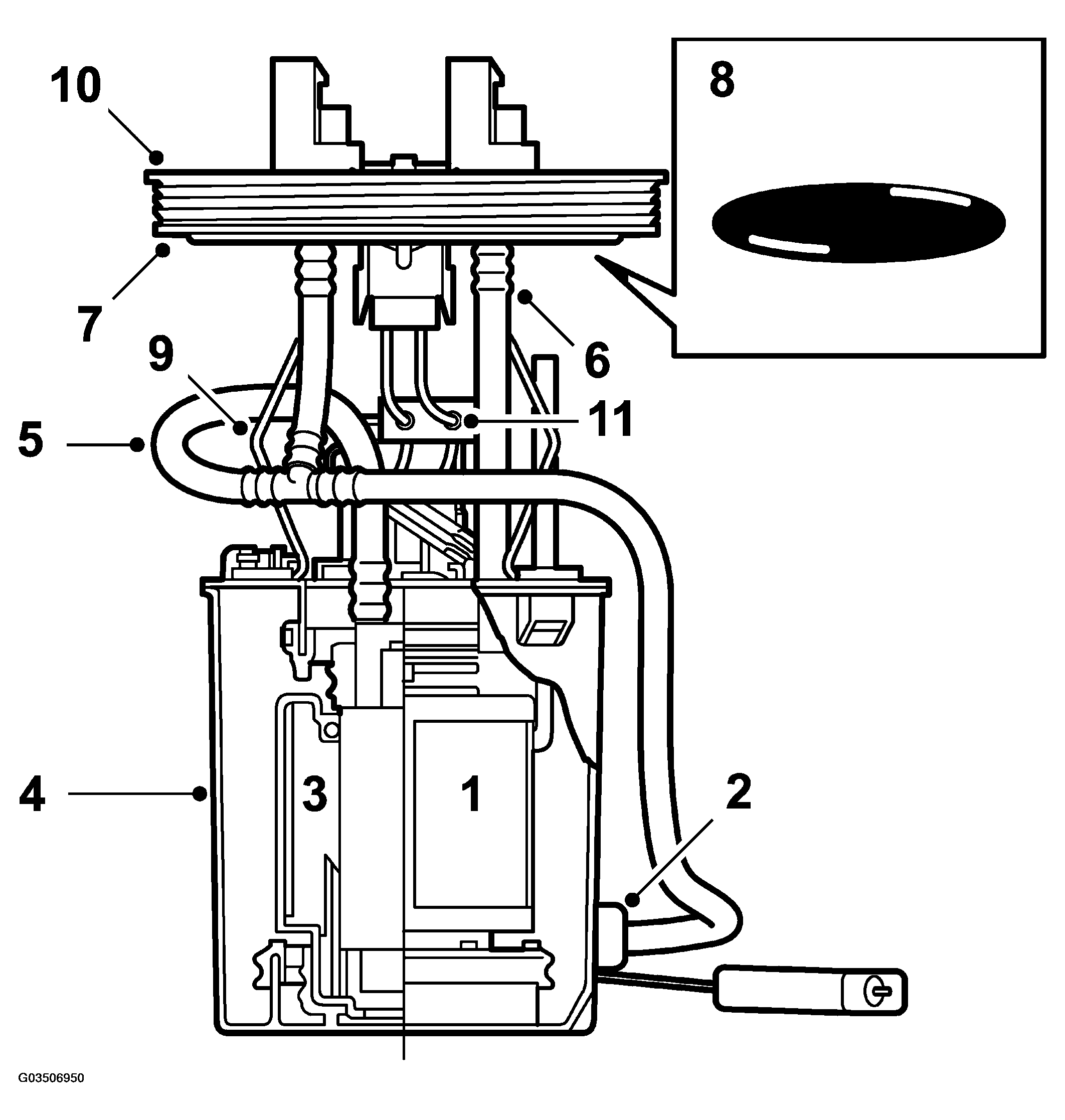
Fig 1: Identifying Fuel Supply System Components
G03506950Courtesy of SAAB-SCANIA OF AMERICA, INC.

Fuel pump 

  1. Pump
  2. Ejector
  3. Filter
  4. Reservoir
  5. Pump delivery line
  6. Return line
  7. Pump cover
  8. O-ring
  9. Spring element
  10. Screw ring
  11. RFI filter