lemon-mirror:
Home >> Saab >> 2002 >> 9-3 SE, 2D Convertible, Automatic >> Repair and Diagnosis >> Engine Mechanical >> Mechanical >> Basic Engine >> Technical Data >> Valve gear >> Notes

Valve gear: Notes

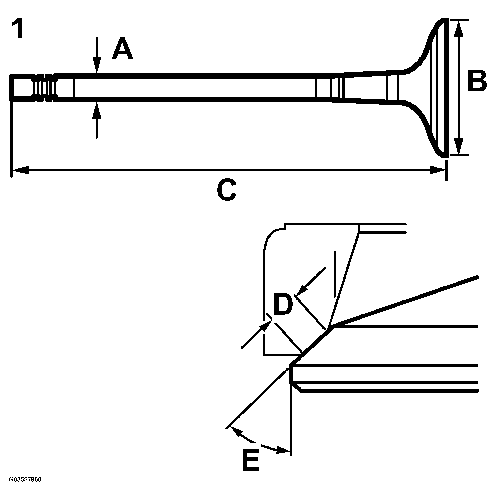
  1. Exhaust valve 
    Fig 1: Identifying Exhaust Valve
    G03527968Courtesy of SAAB-SCANIA OF AMERICA, INC.
  2. Inlet valve 
    Fig 2: Identifying Inlet Valve
    G03527969Courtesy of SAAB-SCANIA OF AMERICA, INC.
VALVE SPECIFICATIONS

    Exhaust valve Inlet valve
mm 4.9575 +/-0.0075 4.9775 +/- 0.0075
A Nimonic  mm 4.9725 +/-0.0075  
mm 29 +/- 0.1 33 +/- 0.1
mm 107,84 107,3
mm 1,5 - 2,0 1,0 - 1,5
° 44.5 +/-0.167 45.25 +/- 0.25
IMPORTANT: The exhaust valves are Stellite coated and must therefore not be machined. Grinding with paste only is advised. B235R and B205 R/L have valves manufactured of a high-temperature resistant material.