lemon-mirror:
Home >> Saab >> 2004 >> 9-3 Linear, Automatic >> Repair and Diagnosis >> Engine Performance >> TRIONIC T8 Fuel Control System >> Technical Description >> Compensation >> After starting

After starting

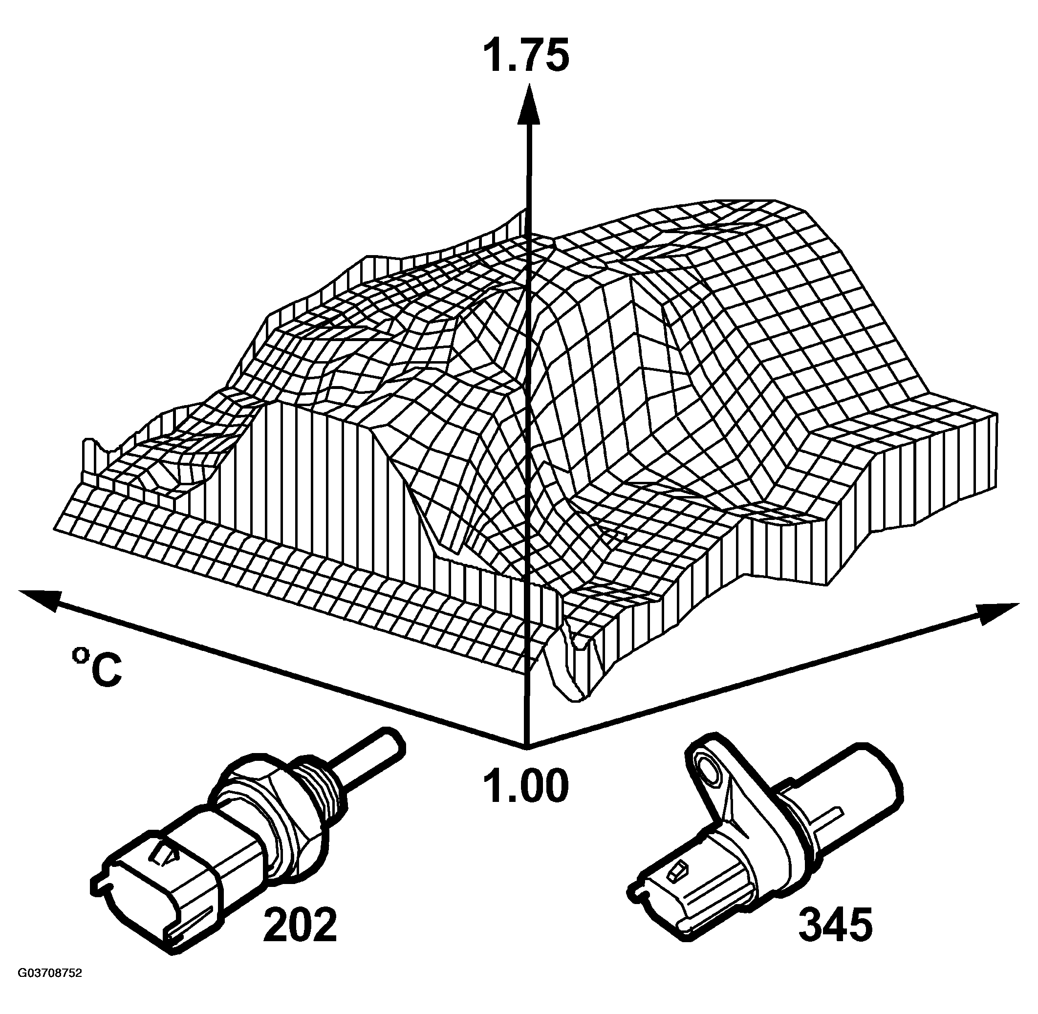
Fig 1: Identifying Basic Fuel Quantity - After Starting
G03708751Courtesy of SAAB-SCANIA OF AMERICA, INC.

Immediately after starting the engine, the correction factor is slightly over 1 and then falls gradually to 1.00. The extent to which the correction factor exceeds 1 and the time it takes to reach 1.00 again depend on the coolant temperature. On cars with carburetor engines, this function is the choke. The closed loop starting criteria are such that it starts just when fuel enrichment after starting has dropped to 1.00.

Fig 2: Identifying Basic Fuel Quantity Graph - After Starting
G03708752Courtesy of SAAB-SCANIA OF AMERICA, INC.