lemon-mirror:
Home >> Saab >> 2004 >> 9-5 Linear, Automatic >> Repair and Diagnosis >> Brakes >> Traction Control >> Stabilizer System, Esp >> Technical Description >> Brake pressure sensor >> Function

Brake pressure sensor: Function

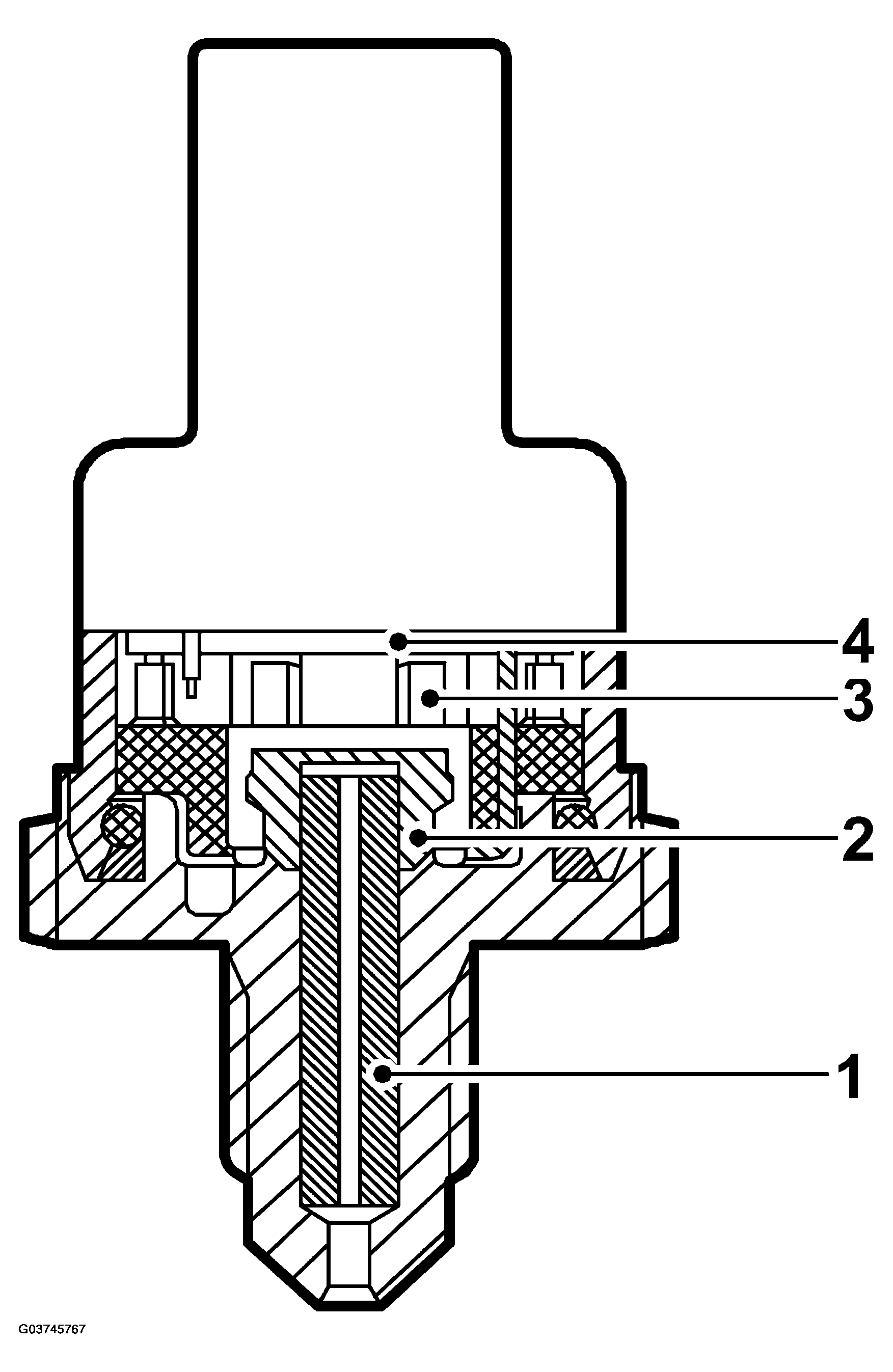
Fig 1: Identifying Brake Pressure Sensor Components
G03745767Courtesy of SAAB-SCANIA OF AMERICA, INC.

When the driver depresses the brake pedal, the brake fluid is forced into the pressure duct (1). The steel membrane (2) is depressed and acts on a piezoelectric unit (3). The distribution of charge in the piezoelectric unit thus changes. This signal is amplified in the electric circuit (4) and sent to the ESP system.