lemon-mirror:
Home >> Saab >> 2004 >> 9-5 Linear, Automatic >> Repair and Diagnosis >> Engine Mechanical >> Mechanical >> Basic Engine >> Technical Data >> Valve gear >> Notes

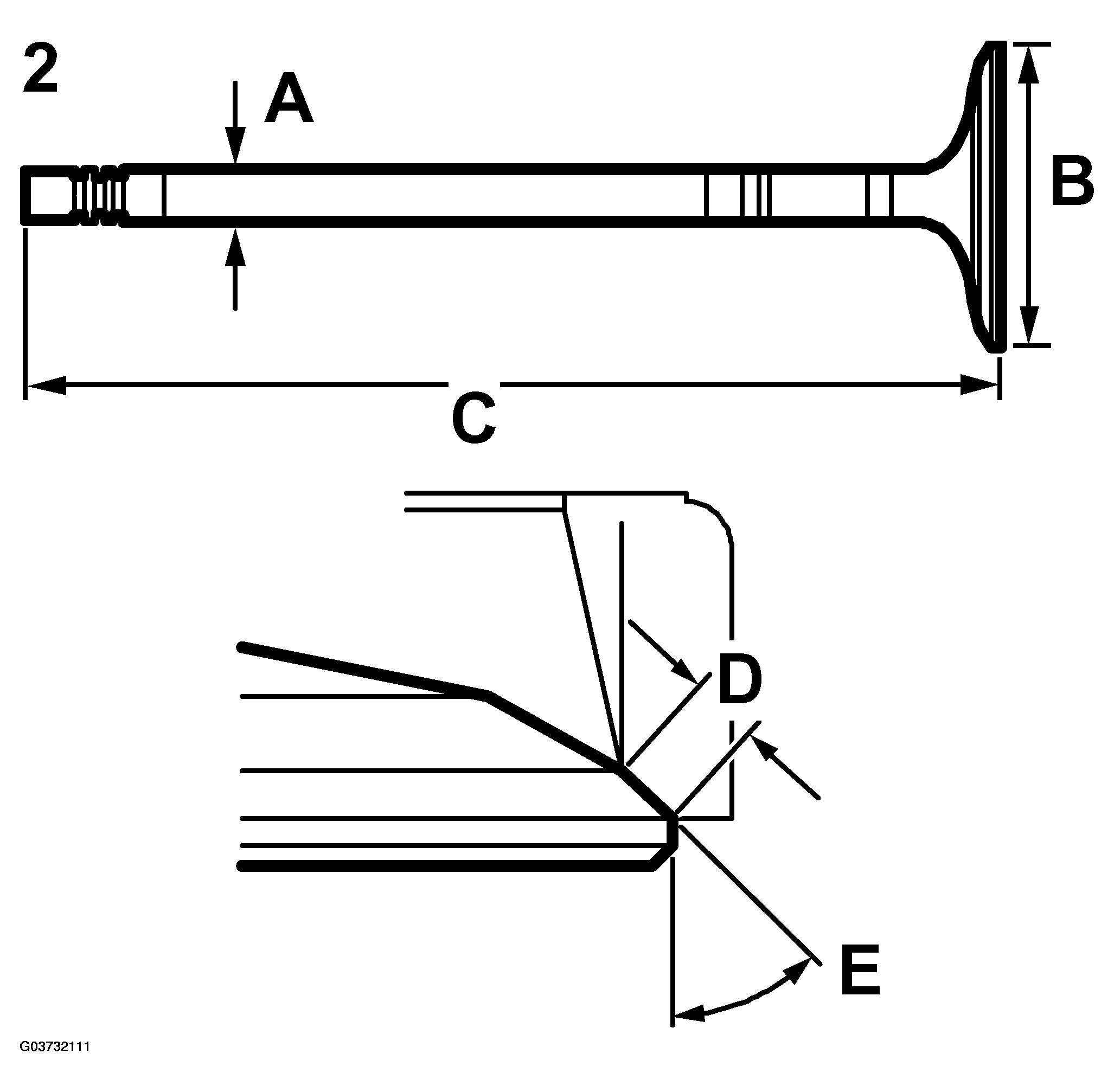
Valve gear: Notes

Fig 1: Measuring Diameter Valve
G03732111Courtesy of SAAB-SCANIA OF AMERICA, INC.
  1. Exhaust valve
  2. Inlet valve
    VALVE TECHNICAL SPECIFICATION

        Exhaust valve Inlet valve

    A Nimonic 
    mm
    mm
    4.9575 +/-0.0075
    4.9725 +/-0.0075
    4.9775 +/- 0.0075
    mm 29 +/- 0.1 33 +/- 0.1
    mm 107.84 107.3
    mm 1.5 - 2.0 1.0 - 1.5
    ° 44.5 +/-0.167 45.25 +/- 0.25