lemon-mirror:
Home >> Saab >> 2004 >> 9-5 Linear, Automatic >> Repair and Diagnosis >> Engine Performance >> Fuel Delivery >> Fuel System >> Technical data >> Fuel level sensor

Fuel level sensor

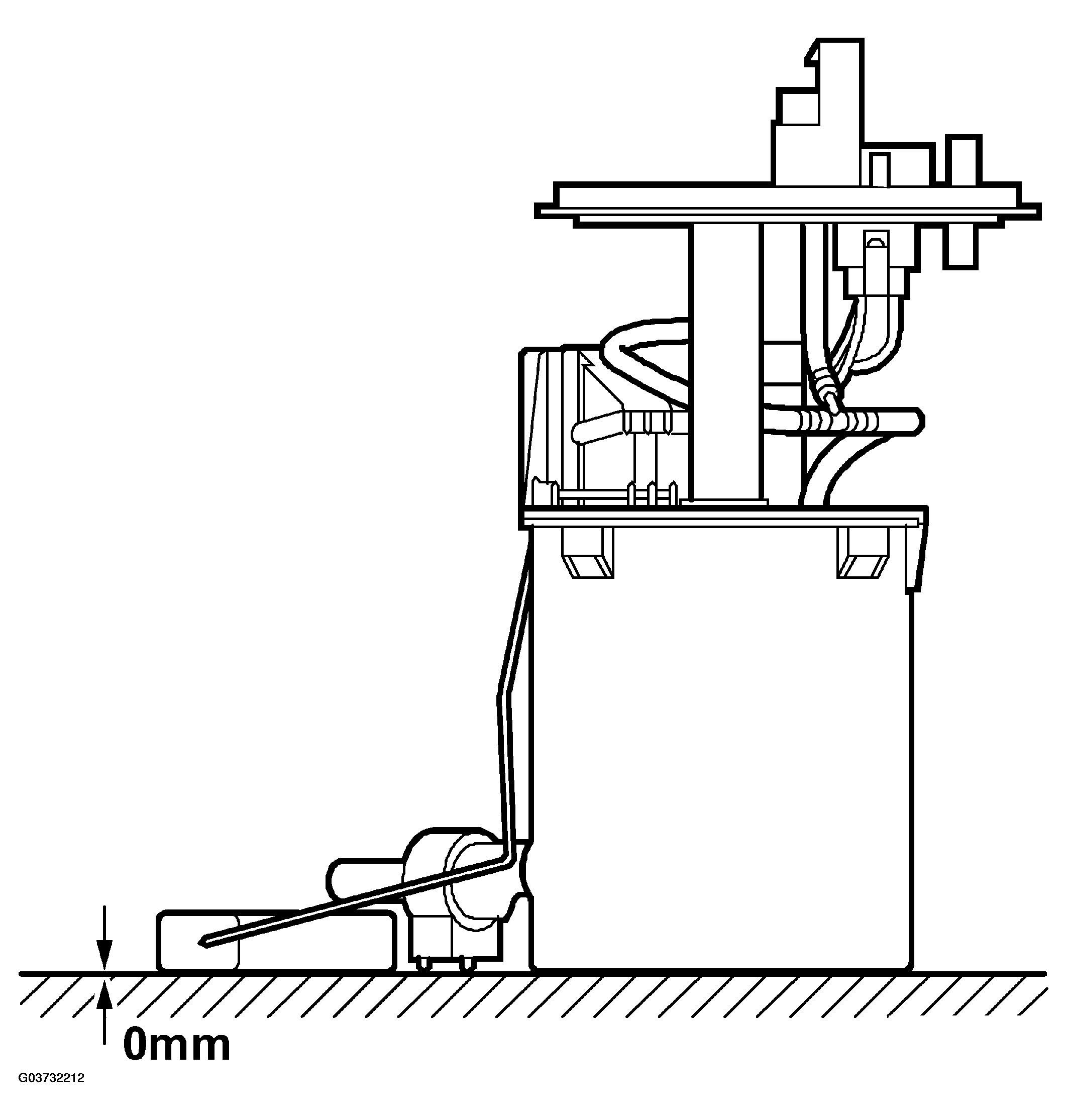
Fig 1: Identifying Fuel Level Sensor
G03732212Courtesy of SAAB-SCANIA OF AMERICA, INC.
FUEL LEVEL SENSOR DESCRIPTION

Resistance, empty tank Ohms: 50+/-1.5
Resistance, full tank Ohms: 425+/-6.5