lemon-mirror:
Home >> Saab >> 2005 >> 9-2X Linear, 253, Automatic >> Repair and Diagnosis >> Transmission >> Automatic Trans >> Automatic Transmission >> Adjustment/Replacement/Inspection >> Control Valve Body >> Assembly

Control Valve Body: Assembly

Install a new seal ring to piston.

Fig 1: Installing New Seal Ring To Piston
G03874752Courtesy of SAAB-SCANIA OF AMERICA, INC.

Apply ATF to the seal ring.

Insert the piston fully into upper valve body.

Fig 2: Inserting Piston Into Upper Valve Body
G03874753Courtesy of SAAB-SCANIA OF AMERICA, INC.

Install the spring and four steel balls to specified positions of upper valve body.

Fig 3: Installing Spring And Four Steel Balls
G03874754Courtesy of SAAB-SCANIA OF AMERICA, INC.
  1. Steel ball
  2. Spring

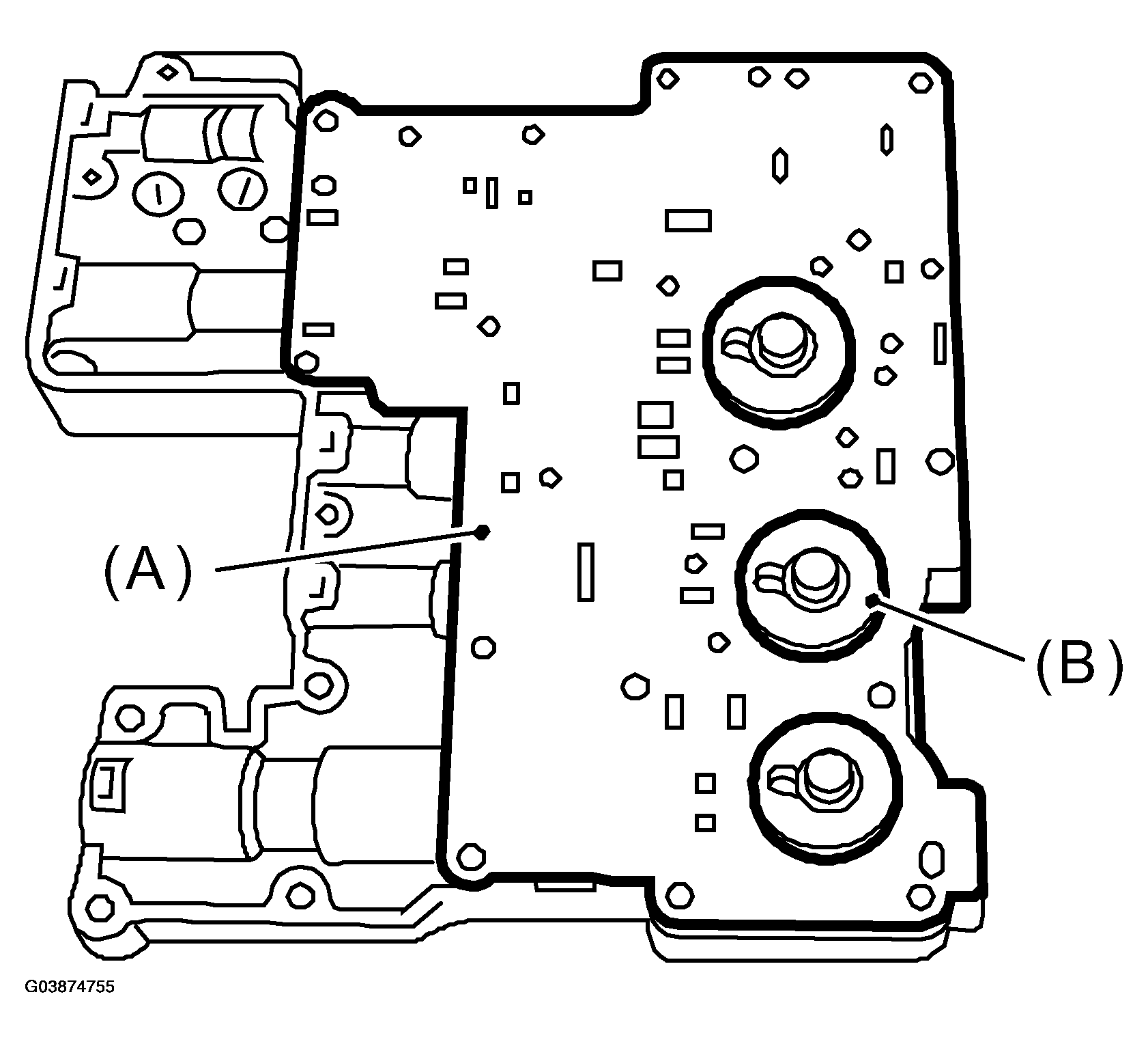
Align the hole in side plate with the hole in separator plate, and then install support plate and upper separator plate to middle valve body.

Tightening torque: 

8 Nm (0.8 kgf-m, 5.8 ft-lb) 

Fig 4: Installing Support Plate And Upper Separator Plate
G03874755Courtesy of SAAB-SCANIA OF AMERICA, INC.
  1. Upper separator plate
  2. Side plate

Insert six steel balls in their proper positions to middle valve body.

Fig 5: Inserting Six Steel Balls
G03874756Courtesy of SAAB-SCANIA OF AMERICA, INC.
  1. Steel ball
  2. Middle valve body

Install three filters to lower valve body.

NOTE: Pay attention to the location of filters.
Fig 6: Installing Three Filters To Lower Valve Body
G03874757Courtesy of SAAB-SCANIA OF AMERICA, INC.
  1. Strainer
  2. Lower valve body

Install the lower separate plate to lower valve body.

Fig 7: Installing Lower Separate Plate To Lower Valve Body
G03874758Courtesy of SAAB-SCANIA OF AMERICA, INC.
  1. Lower separator plate
  2. Lower valve body

Temporarily assemble the valve body.

NOTE: Be careful not to drop the middle valve body and upper body interior steel ball, or the lower body filter.
Fig 8: Assembling Valve Body
G03874759Courtesy of SAAB-SCANIA OF AMERICA, INC.

Tighten the bolts and nuts.

NOTE: Install the bolts (D) from upper valve body side.

Tightening torque: 

8 Nm (0.8 kgf-m, 5.8 ft-lb) 

Fig 9: Installing Bolts
G03874760Courtesy of SAAB-SCANIA OF AMERICA, INC.

Bolt length mm (in)

  1. 40 (1.57)
  2. 62 (2.44)
  3. 73 (2.87)
  4. 79 (3.11)

Install the sensor, solenoids and duty solenoids to specified positions.

Fig 10: Installing Sensor, Solenoids And Duty Solenoids
G03874761Courtesy of SAAB-SCANIA OF AMERICA, INC.
  1. Lock-up duty solenoid (Blue)
  2. Low clutch timing solenoid (Gray)
  3. Line pressure duty solenoid (Red)
  4. Shift solenoid 2 (Yellow)
  5. Shift solenoid 1 (Green)
  6. 2-4 brake timing solenoid (Black)
  7. 2-4 brake duty solenoid (Red)

Tighten the bolts.

Tightening torque: 

8 Nm (0.8 kgf-m, 5.8 ft-lb) 

Fig 11: Tightening Bolts
G03874762Courtesy of SAAB-SCANIA OF AMERICA, INC.

Bolt length mm (in)

  1. 12 (0.47)
  2. 40 (1.57)
  3. 45 (1.77)
  4. 62 (2.44)
  5. 73 (2.87)

Install oil strainer to lower valve body.

Tightening torque: 

8 Nm (0.8 kgf-m, 5.8 ft-lb) 

Fig 12: Installing Oil Strainer To Lower Valve Body
G03874763Courtesy of SAAB-SCANIA OF AMERICA, INC.

Bolt length mm (in)

  1. 12 (0.47)
  2. 62 (2.44)
  3. 81 (3.19)