lemon-mirror:
Home >> Saab >> 2005 >> 9-2X Linear, 253, Automatic >> Repair and Diagnosis >> Transmission >> Automatic Trans >> Automatic Transmission >> Adjustment/Replacement/Inspection >> Control Valve Body >> Installation

Control Valve Body: Installation

Saab 9-2X 2.0T Aero 

Set the range select lever in "N" range.

Install the control valve, ATF temperature sensor and ground connectors.

Tightening torque: 

8 Nm (0.8 kgf-m, 5.8 ft-lb) 

Fig 1: Installing Control Valve
G03874734Courtesy of SAAB-SCANIA OF AMERICA, INC.

Bolt length mm (in)

  1. 30 (1.18)
  2. 55 (2.17)

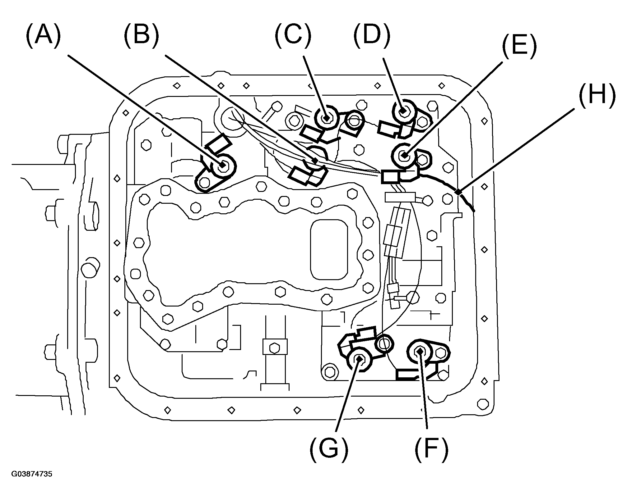
Connect all connectors.

Fig 2: Connecting Connectors
G03874735Courtesy of SAAB-SCANIA OF AMERICA, INC.
  1. Lock-up duty solenoid (Blue)
  2. Low clutch timing solenoid (Gray)
  3. Line pressure duty solenoid (Red)
  4. Shift solenoid 2 (Yellow)
  5. Shift solenoid 1 (Green)
  6. 2-4 brake timing solenoid (Black)
  7. 2-4 brake duty solenoid (Red)
  8. Transfer duty solenoid (Brown)

Attach the magnet at specified position.

Fig 3: Installing Magnet
G03874736Courtesy of SAAB-SCANIA OF AMERICA, INC.

Apply proper amount of liquid gasket to the entire oil pan mating surface.

Liquid gasket: 

THREE BOND 1217B (Part No. 32005004) 

Fig 4: Applying Proper Amount Of Liquid Gasket
G03874737Courtesy of SAAB-SCANIA OF AMERICA, INC.

Apply liquid gasket fully to three holes other than screw holes on transmission case.

Liquid gasket: 

THREE BOND 1217B (Part No. 32005004) 

Fig 5: Applying Liquid Gasket
G03874738Courtesy of SAAB-SCANIA OF AMERICA, INC.

Install the oil pan by equally tightening the bolts.

Tightening torque: 

5 Nm (0.5 kgf-m, 3.6 ft-lb) 

Pour ATF from the oil charge pipe.

Recommended fluid: 

Dexron III 

Fluid capacity: 

Fill the same amount of fluid drained from drain plug hole. 

Check the level of ATF.

Saab 9-2X 2.5i Linear 

Check the control valve body for dirt and dust.

Temporarily install the control valve body to transmission.

Install the oil cooler pipe.

Tightening torque: 

8 Nm (0.8 kgf-m, 5.8 ft-lb) 

Fig 6: Installing Oil Cooler Pipe
G03874739Courtesy of SAAB-SCANIA OF AMERICA, INC.

Tighten the bolts evenly.

Tightening torque: 

8 Nm (0.8 kgf-m, 5.8 ft-lb) 

Fig 7: Tightening Bolts
G03874740Courtesy of SAAB-SCANIA OF AMERICA, INC.
  1. Transmission ground

    Bolt length mm (in)

    1. 35 (1.38)
    2. 30 (1.18)

Attach the magnet at specified position of oil pan.

Fig 8: Installing Magnet
G03874741Courtesy of SAAB-SCANIA OF AMERICA, INC.

Apply proper amount of liquid gasket to the entire oil pan mating surface.

Liquid gasket: 

THREE BOND 1217B (Part No. 32005004) 

Fig 9: Applying Proper Amount Of Liquid Gasket
G03874742Courtesy of SAAB-SCANIA OF AMERICA, INC.

Apply liquid gasket fully to three holes other than screw holes on transmission case.

Liquid gasket: 

THREE BOND 1217B (Part No. 32005004) 

Fig 10: Applying Liquid Gasket
G03874743Courtesy of SAAB-SCANIA OF AMERICA, INC.

Install the oil pan with tightening bolts evenly.

Tightening torque: 

5 Nm (0.5 kgf-m, 3.6 ft-lb) 

Pour ATF into the oil charge pipe.

Recommended fluid: 

Dexron III type automatic transmission fluid 

Fluid capacity: 

Fill the same amount of fluid drained from drain plug hole. 

Bleed the air from control valve.

Check the level of ATF.

Perform the advance operation of learning control. (Saab 9-2X 2.5i Linear)