lemon-mirror:
Home >> Saab >> 2005 >> 9-2X Linear, 253, Automatic >> Repair and Diagnosis >> Transmission >> Automatic Trans >> Automatic Transmission >> Adjustment/Replacement/Inspection >> Front Differential Assembly >> Disassembly >> Side Retainer

Side Retainer

NOTE: After adjusting the drive pinion backlash and tooth contact, remove and install the oil seal and O-ring.

Remove O-ring.

Fig 1: Removing O-Ring
G03874944Courtesy of SAAB-SCANIA OF AMERICA, INC.

Remove oil seal.

Fig 2: Removing Oil Seal
G03874945Courtesy of SAAB-SCANIA OF AMERICA, INC.

Take out either split pin, remove claw.

ST 32005071 PULLER ASSY 

Fig 3: Removing Claw
G03874946Courtesy of SAAB-SCANIA OF AMERICA, INC.
  1. Claw
  2. Split pin
  3. Pin

Securely attach two claws to outer race, set ST to side retainer.

ST 32005071 PULLER ASSY 

Fig 4: Installing ST 32005071 Puller Assy
G03874947Courtesy of SAAB-SCANIA OF AMERICA, INC.
  1. Shaft
  2. Claw

Return removed claw to the original position, and install pin and split pin.

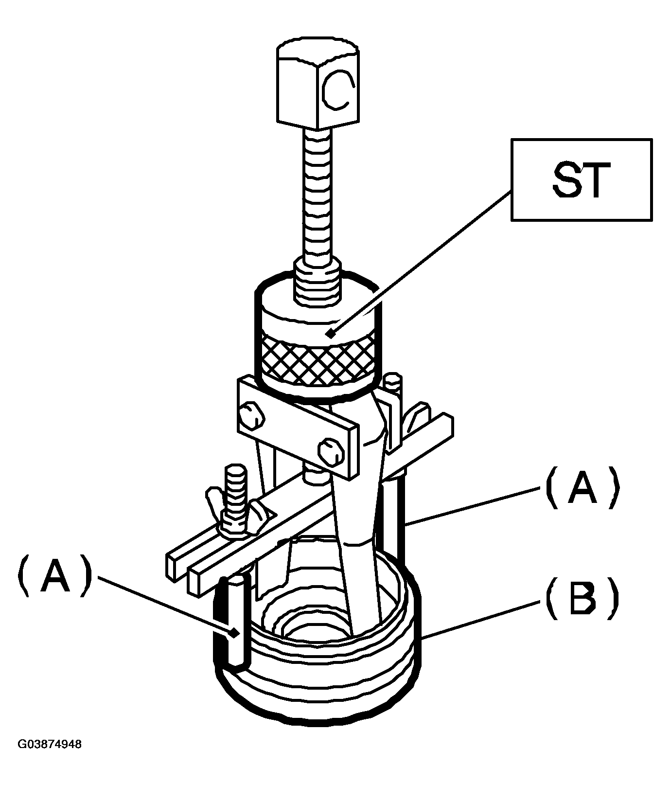
Hold the shaft of ST to avoid removing from side retainer, and then remove the bearing outer race.

ST 32005071 PULLER ASSY 

NOTE: Replace bearing inner and outer races as a single unit.
Fig 5: Removing Bearing Outer Race Using ST 32005071 Puller Assy
G03874948Courtesy of SAAB-SCANIA OF AMERICA, INC.
  1. Shaft
  2. Side retainer