lemon-mirror:
Home >> Saab >> 2005 >> 9-2X Linear, 253, Automatic >> Repair and Diagnosis >> Transmission >> Automatic Trans >> Automatic Transmission >> Adjustment/Replacement/Inspection >> Front Vehicle Speed Sensor >> Installation

Front Vehicle Speed Sensor: Installation

Pass the harness assembly through the hole in the transmission case.

Fig 1: Passing Harness Assembly Through Hole In Transmission Case
G03874715Courtesy of SAAB-SCANIA OF AMERICA, INC.

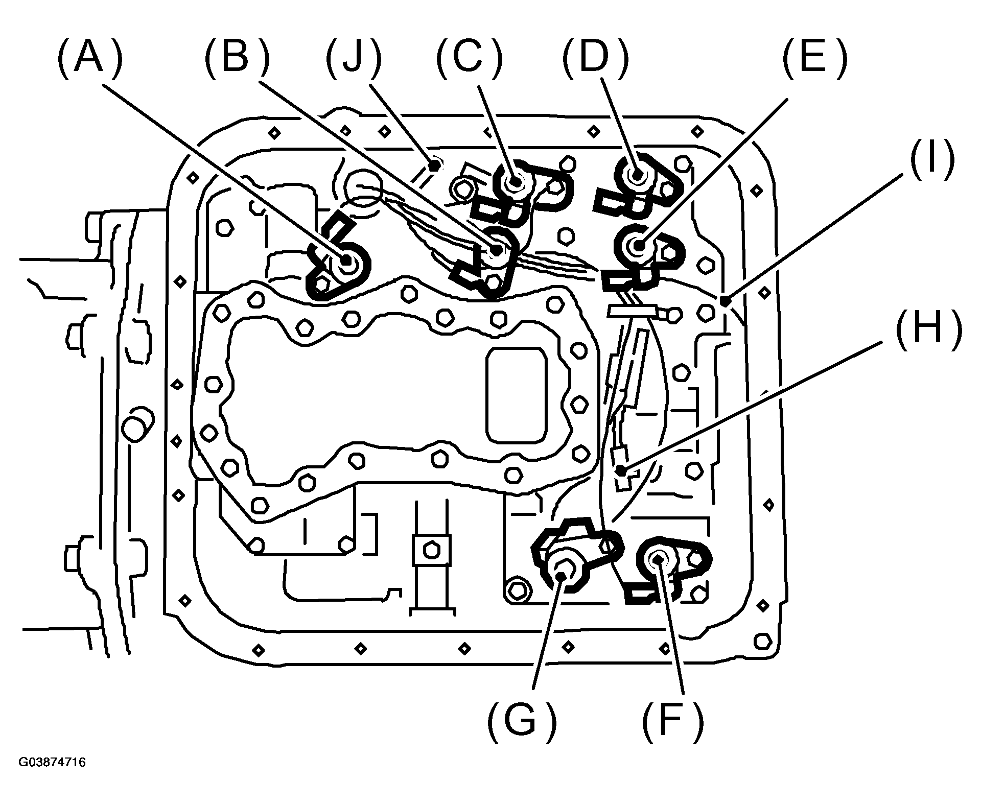
Connect the harness connectors.

Connect the connectors of same color, and secure the connectors to valve body using clips. (Saab 9-2X 2.0T Aero)

Tightening torque (Transmission ground cable and ATF temperature sensor): 

8 Nm (0.8 kgf-m, 5.8 ft-lb) 

Fig 2: Connecting Harness Connectors
G03874716Courtesy of SAAB-SCANIA OF AMERICA, INC.
  1. Lock-up duty solenoid (Blue)
  2. Low clutch timing solenoid (Gray)
  3. Line pressure duty solenoid (Red)
  4. Shift solenoid 2 (Yellow)
  5. Shift solenoid 1 (Green)
  6. 2-4 brake timing solenoid (Black)
  7. 2-4 brake duty solenoid (Red)
  8. ATF temperature sensor
  9. Transfer duty solenoid (Brown)
  10. Transmission ground

Connect the harness connector and transmission ground. (Saab 9 -2X 2.5i Linear)

Tightening torque: 

8 Nm (0.8 kgf-m, 5.8 ft-lb) 

Fig 3: Connecting Harness Connector
G03874717Courtesy of SAAB-SCANIA OF AMERICA, INC.
  1. Transmission ground
  2. Harness connector

Apply proper amount of liquid gasket to the entire oil pan mating surface.

Fluid packing: 

THREE BOND 1217B (Part No. 32005004) 

Fig 4: Applying Proper Amount Of Liquid Gasket
G03874718Courtesy of SAAB-SCANIA OF AMERICA, INC.

Apply liquid gasket fully to three holes other than screw holes on transmission case.

Fluid packing: 

THREE BOND 1217B (Part No. 32005004) 

Fig 5: Applying Liquid Gasket Fully To Three Holes
G03874719Courtesy of SAAB-SCANIA OF AMERICA, INC.

Install the oil pan.

Tightening torque: 

5 Nm (0.5 kgf-m, 3.6 ft-lb) 

Connect the connector of rear vehicle speed sensor. (Saab 9-2X 2.5i Linear)

Fig 6: Connecting Connector Of Rear Vehicle Speed Sensor
G03874720Courtesy of SAAB-SCANIA OF AMERICA, INC.
  1. Rear vehicle speed sensor

Install the rear vehicle speed sensor. (Saab 9 -2X 2.0T Aero)

  1. Rear vehicle speed sensor

Install the front vehicle speed sensor and torque converter turbine speed sensor, and then fasten the harness.

Tightening torque: 

7 Nm (0.7 kgf-m, 5.1 ft-lb) 

Fig 7: Installing Front Vehicle Speed Sensor
G03874721Courtesy of SAAB-SCANIA OF AMERICA, INC.
  1. Front vehicle speed sensor
  2. Torque converter turbine speed sensor

Install the oil cooler pipes.

NOTE: Be sure to use a new copper washer.

Tightening torque: 

T1: 25 Nm (2.5 kgf-m, 18.1 ft-lb) 

T2: 45 Nm (4.6 kgf-m, 33 ft-lb) 

Fig 8: Installing Oil Cooler Pipes
G03874722Courtesy of SAAB-SCANIA OF AMERICA, INC.

Install the transmission rear crossmember bolts.

Tightening torque: 

70 Nm (7.1 kgf-m, 51 ft-lb) 

Install the propeller shaft.

Install the shield cover. (If equipped)

Install the front, center, rear exhaust pipes and muffler. (Saab 9-2X 2.5i Linear)

Install the center, rear exhaust pipes and muffler. (Saab 9-2X 2.0T Aero)

Lower the vehicle.

Install the transmission connector to the stay.

Install the pitching stopper.

Install the air intake chamber. (Saab 9-2X 2.5i Linear)

Install the intercooler. (Saab 9 -2X 2.0T Aero)