lemon-mirror:
Home >> Saab >> 2005 >> 9-3 Linear, 2D Convertible, Automatic >> Repair and Diagnosis >> Engine Performance >> TRIONIC T8 Fuel Control System >> Component location >> Crimp J32, engine harness, Trionic >> Notes

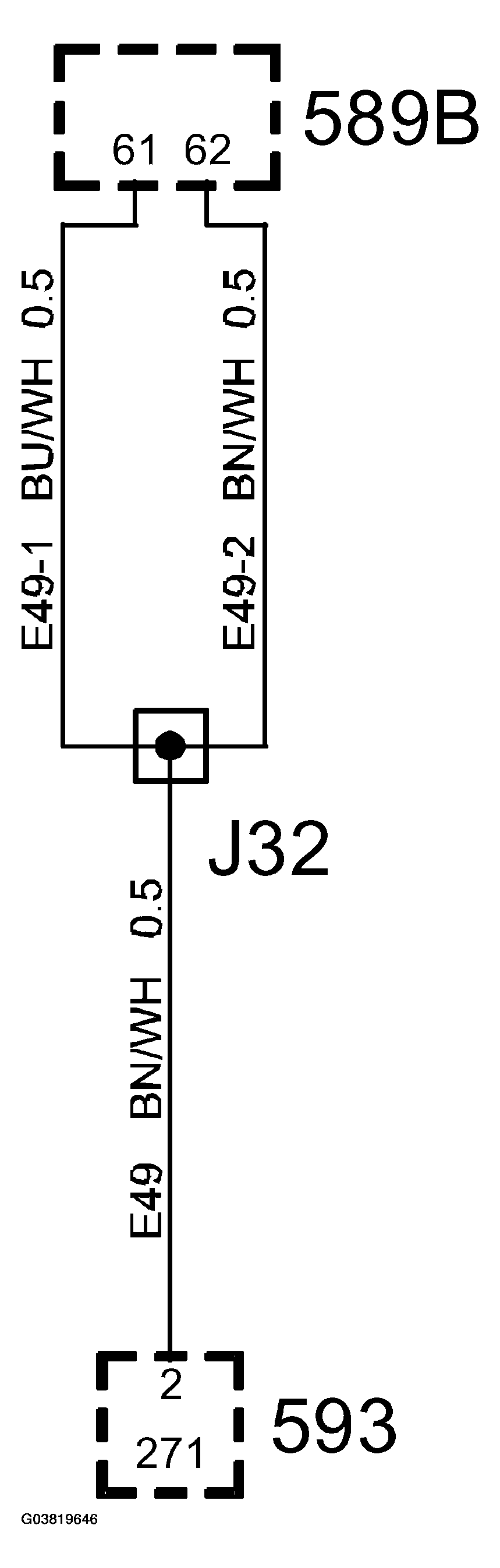
Crimp J32, engine harness, Trionic: Notes

Location:  Approx. 70 mm from branching of engine control module switch B towards its switch A

Fig 1: Identifying Engine Harness Trionic - Crimp J32
G03819646Courtesy of SAAB-SCANIA OF AMERICA, INC.