lemon-mirror:
Home >> Saab >> 2005 >> 9-5 Linear, Automatic >> Repair and Diagnosis >> Brakes >> Traction Control >> Stabilizer System >> Component location >> Grounding point G42 >> Notes

Grounding point G42: Notes

Fig 1: Identifying Grounding Point G42
G03864784Courtesy of SAAB-SCANIA OF AMERICA, INC.
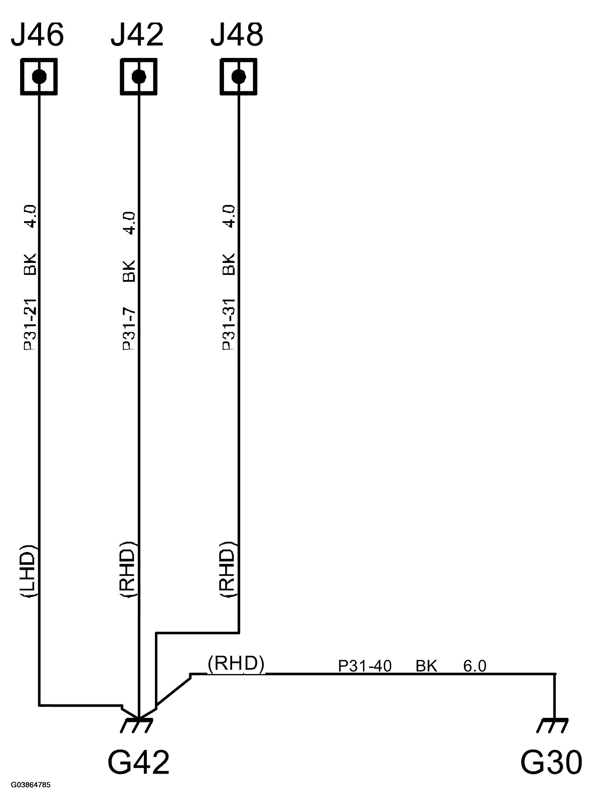
Fig 2: Grounding Point G42 Circuit Diagram
G03864785Courtesy of SAAB-SCANIA OF AMERICA, INC.

Location:  On right-hand side of knee member.