lemon-mirror:
Home >> Saab >> 2005 >> 9-5 Linear, Automatic >> Repair and Diagnosis >> Engine Mechanical >> Mechanical >> Basic Engine >> Technical Data >> Valve Gear >> Notes

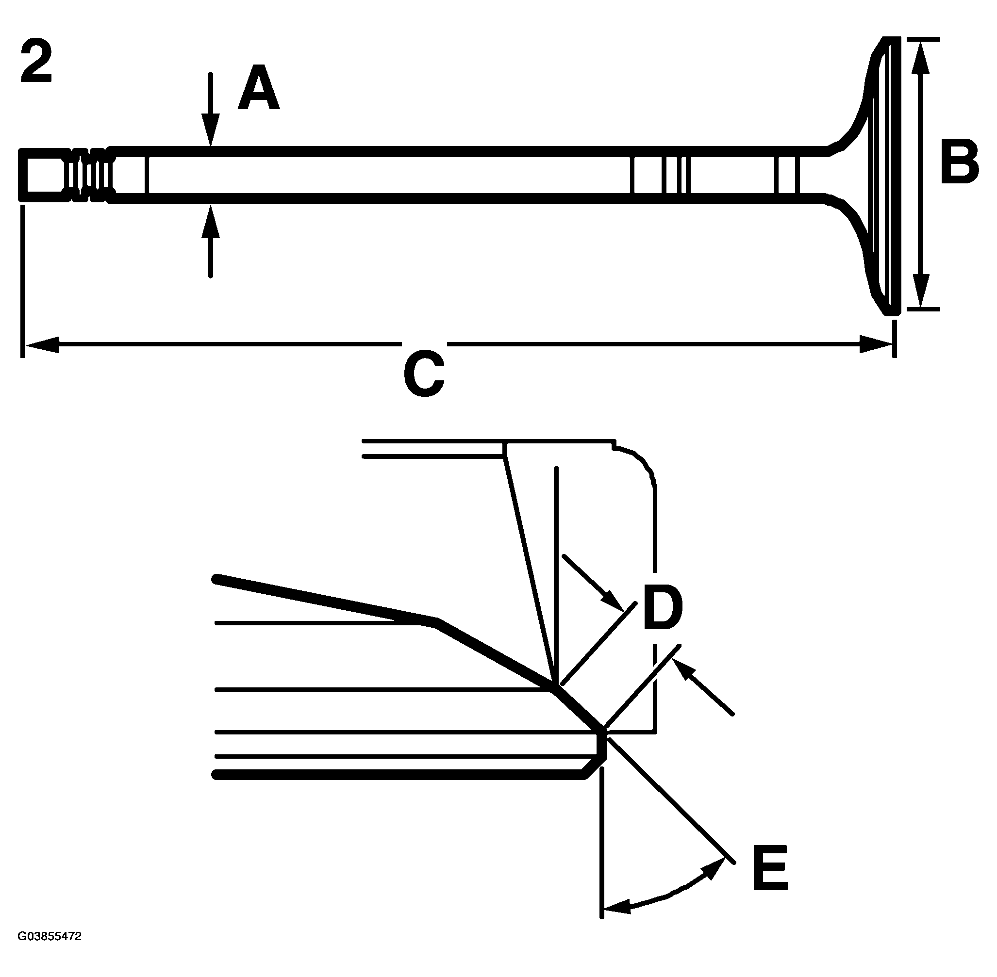
Valve Gear: Notes

Fig 1: Identifying Valve Dimension
G03855472Courtesy of SAAB-SCANIA OF AMERICA, INC.
  1. Exhaust valve
  2. Inlet valve
VALVE SPECFICATION

    Exhaust valve Inlet valve

A Nimonic 
mm
mm
4.9575 +/-0.0075
4.9725 +/-0.0075
4.9775 +/- 0.0075
mm 29 +/- 0.1 33 +/- 0.1
mm 107.84 107.3
mm 1.5 - 2.0 1.0 - 1.5
° 44.5 +/-0.167 45.25 +/- 0.25