lemon-mirror:
Home >> Saab >> 2005 >> 9-5 Linear, Automatic >> Repair and Diagnosis >> Engine Performance >> Fuel Delivery >> Fuel System, Petrol >> Technical Data >> Fuel Level Sensor

Fuel Level Sensor

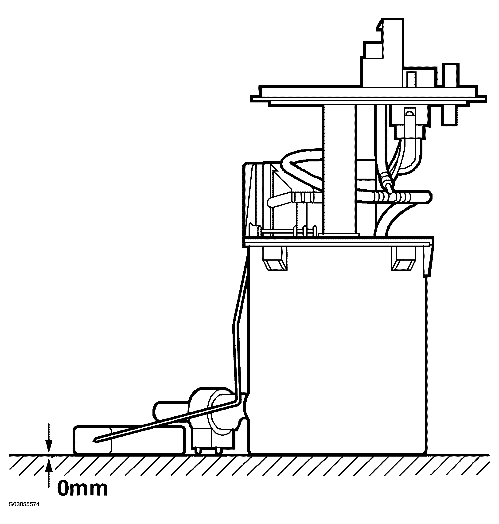
Fig 1: Identifying Fuel Level Sensor
G03855574Courtesy of SAAB-SCANIA OF AMERICA, INC.
FUEL LEVEL SENSOR SPECIFICATION CHART

Resistance, empty tank Ohms 50+/-1.5
Resistance, full tank Ohms 425+/-6.5