lemon-mirror:
Home >> Saab >> 2005 >> 9-7X Arc >> Repair and Diagnosis >> Engine Performance >> System >> Engine Controls - 5.3L - Introduction >> Repair Instructions >> Fuel Rail Assembly Replacement >> Assembly Procedure

Assembly Procedure

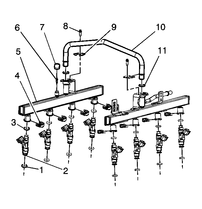
    Fig 1: View Of Fuel Rail Components
    GM1485987Courtesy of GENERAL MOTORS CORP.
  1. Install the service port cap (7) and valve (6) to the fuel rail (5).
  2. Lubricate the NEW fuel rail crossover pipe O-rings (11) with clean engine oil.
  3. Install the NEW fuel rail crossover pipe O-rings (11) onto the crossover pipe (10).
  4. Install the fuel rail crossover pipe (10) to the left and right hand fuel rails.
  5. Install the fuel rail crossover fuel pipe retainer clips (9).
  6. IMPORTANT: When installing the retaining clip screws for the fuel rail crossover pipe, always start the screws by hand. This will prevent stripping of the threads on the fuel rail.
  7. Install the fuel rail retainer clip screws (8) but do not tighten at this time.
  8. Install the fuel injectors (2) to the fuel rail (5). Refer to Fuel Injector Replacement .