lemon-mirror:
Home >> Saab >> 2005 >> 9-7X Arc >> Repair and Diagnosis >> Engine Performance >> System >> Engine Controls - 5.3L - Introduction >> Repair Instructions >> Fuel Rail Assembly Replacement >> Installation Procedure

Installation Procedure

Fig 1: View Of Fuel Rail Stop Bracket & Bolt
GM260098Courtesy of GENERAL MOTORS CORP.
CAUTION: The fuel rail stop bracket must be installed onto the engine assembly. The stop bracket serves as a protective shield for the fuel rail in the event of a vehicle frontal crash. If the fuel rail stop bracket is not installed and the vehicle is involved in a frontal crash, fuel could be sprayed possibly causing a fire and personal injury from burns.
    Fig 2: Identifying Fuel Rails & Components
    GM1485988Courtesy of GENERAL MOTORS CORP.
  1. Lubricate the NEW lower injector O-ring seals with clean engine oil.
  2. Install the NEW O-ring seals onto each injector.
  3. Fig 3: View Of Fuel Rails
    GM1485986Courtesy of GENERAL MOTORS CORP.
  4. Install the fuel rail (1).
  5. NOTE: Refer to Fastener Notice in Cautions and Notices.
  6. Apply a 5 mm (0.2 in) band of threadlock GM P/N 12345382 (Canadian P/N 10953489) or equivalent, to the threads of the fuel rail bolts (2 and 3).
  7. Install the fuel rail bolts (2 and 3).

    Tighten:  Tighten the bolts to 10 N.m (89 lb in).

  8. Tighten the fuel rail retainer clip screws.

    Tighten:  Tighten the screws to 3.8 N.m (34 lb in).

  9. Fig 4: Identifying Fuel Feed Pipe
    GM1485984Courtesy of GENERAL MOTORS CORP.
  10. Connect the fuel feed pipe (1) to the fuel rail. Refer to Quick Connect Fitting(s) Service (Metal Collar) .
  11. Fig 5: View Of Upper Engine Wire Harness Retainer Nut
    GM899740Courtesy of GENERAL MOTORS CORP.
  12. Position the upper engine wire harness over the engine.
  13. Install the upper engine wire harness retainer nut (1).

    Tighten:  Tighten the nut to 5 N.m (44 lb in).

  14. Fig 6: Top Of Engine Wiring Harness View
    GM898326Courtesy of GENERAL MOTORS CORP.
  15. Connect the following electrical connectors on the left hand side of the engine:
    • The EVAP purge solenoid (1)
    • The knock sensor (2)
    • The MAP sensor (3)
    • The main coil (5)
    • The fuel injectors (4)
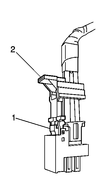
  16. Fig 7: View Of CPA Retainer & Tab
    GM1209783Courtesy of GENERAL MOTORS CORP.
  17. Perform the following steps in order to Connect the fuel injector electrical connectors.
    1. Install the connectors to their corresponding injectors to ensure correct reassembly.
    2. Connect the fuel injector electrical connector.
    3. Push the CPA retainer (2) on the connector in 1 click.
    4. Repeat the steps for each injector electrical connector.
  18. Install the electrical harness to the clips on ignition coil bracket.
  19. Fig 8: Locating Electrical Components At Top Of Engine
    GM898331Courtesy of GENERAL MOTORS CORP.
  20. Connect the following electrical connectors on the right hand side of the engine:
    • The coil main electrical harness (1)
    • The ETC (2)
    • The fuel injectors (3)
  21. Install the electrical harness to the clips on ignition coil bracket.
  22. Fig 9: View Of Generator Electrical Connector
    GM898329Courtesy of GENERAL MOTORS CORP.
  23. Connect the generator electrical connector.
  24. Fig 10: View Of MAF/IAT Sensor Electrical Connector
    GM1204792Courtesy of GENERAL MOTORS CORP.
  25. Connect the MAF/IAT sensor electrical connector (1).
  26. Fig 11: View Of A/C Compressor Pressure Switch Electrical Connector & Retaining Clip
    GM898468Courtesy of GENERAL MOTORS CORP.
  27. Install the wire harness to the clip (1) on the cylinder head.
  28. Connect the A/C compressor pressure switch electrical connector (2).
  29. Fig 12: Identifying Positive Crankcase Ventilation (PCV) Foul Air Hose
    GM1485981Courtesy of GENERAL MOTORS CORP.
  30. Install the PCV foul air hose.
  31. Install the air cleaner outlet duct. Refer to Air Cleaner Resonator Outlet Duct Replacement 
  32. Install the fuel fill cap.
  33. Connect the negative battery cable. Refer to Battery Negative Cable Disconnect/Connect Procedure in Engine Electrical.
  34. Use the following procedure in order to inspect for leaks:
    1. Turn the ignition ON, with the engine OFF, for 2 seconds.
    2. Turn the ignition OFF for 10 seconds.
    3. Turn the ignition ON, with the engine OFF.
    4. Inspect for fuel leaks.