lemon-mirror:
Home >> Saab >> 2007 >> 9-3 2.0T, 2D Convertible, Automatic >> Repair and Diagnosis >> Engine Performance >> System >> TRIONIC T8 Fuel Control System 4-CYL >> Component Locator >> Crimp J45, engine harness, Trionic >> Notes

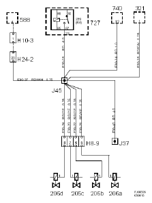
Crimp J45, engine harness, Trionic: Notes

Location:  Approx. 250 mm from branching point connector H24-2 towards the engine control module

Fig 1: Engine Harness (Crimp J45) Trionic - Circuit Diagram
G05170495Courtesy of SAAB-SCANIA OF AMERICA, INC.