lemon-mirror:
Home >> Saab >> 2007 >> 9-5 4D Sedan, Automatic >> Repair and Diagnosis >> Engine Performance >> TRIONIC T7 Fuel Control System >> Repair Instructions >> Ignition Discharge Module >> To remove

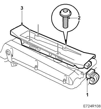
To remove

Fig 1: Illustration For Step 1-3
G05035193Courtesy of SAAB-SCANIA OF AMERICA, INC.
  1. Unplug the 10-pin ignition discharge module connector.
  2. Remove the 4 screws.
  3. Lift up the module.