lemon-mirror:
Home >> Saturn >> 1991 >> SC Automatic >> Repair and Diagnosis >> Quick Lookups >> Technical Bulletins >> Technical Service Bulletins >> Restraints Control Systems >> Headlamp Control Module Replacement (99-T-46)

Headlamp Control Module Replacement (99-T-46)

Publication date: 1999-10-01
Reference number: 99-T-46

HEADLAMP CONTROL MODULE REPLACEMENT

HEADLAMP CONTROL MODULE REPLACEMENT

TECHNICAL SERVICE BULLETIN

Reference Number(s): 99-T-46, Date of Issue:  October 1999

SERVICE INFORMATION ON HEADLAMP CONTROL MODULE REPLACEMENT

Model(s): 1991 Saturn S-Series Coupes

Group/Seq. No.: Electrical - 04

Corporation No.: 99-08-42-008

Bulletin No.: 99-T-46

Date: October 1999

PURPOSE

This bulletin provides service information on headlamp control module replacement.

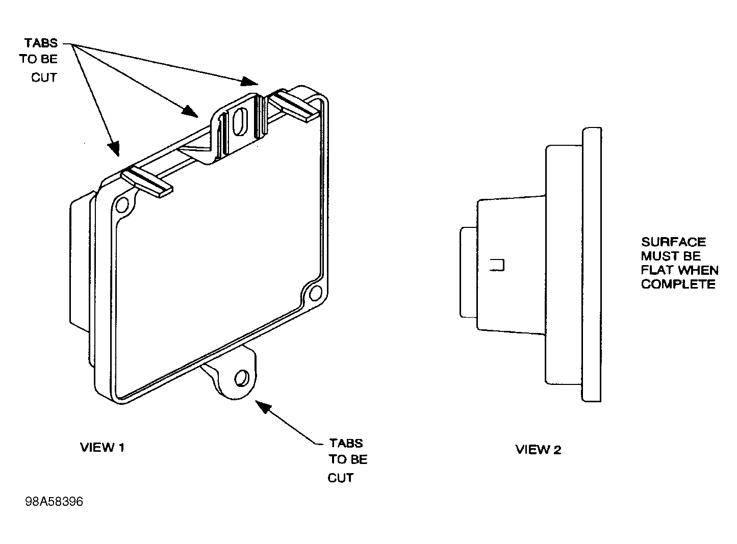
NOTE: Do not use side-cutters to remove plastic tabs from replacement headlamp control module. Side-cutters will crack the housing and allow water intrusion.

When replacing a headlamp control module, use a hacksaw blade to cut plastic mounting tabs off of replacement headlamp control module. Refer to Fig 1 . for tabs to be cut off.

Fig 1: Replacement Headlamp Control Module Modification
G98A58396