lemon-mirror:
Home >> Saturn >> 2002 >> L200 Automatic >> Repair and Diagnosis >> Electrical >> Body Electrical >> OEM Connector End Views >> Connector End Views >> 80-Pin Powertrain Control Module Connector End View

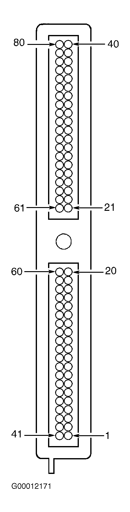
80-Pin Powertrain Control Module Connector End View

Fig 1: 80-Pin Powertrain Control Module
G00012171Courtesy of GENERAL MOTORS CORP.