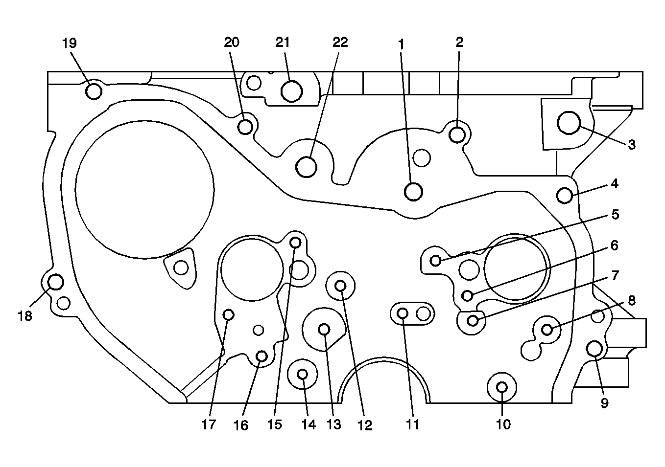
Engine Block - Front View
Engine Block - Front View
| Service Call Out | Thread Size | Insert | Drill | Counterbore Tool | Tap | Driver | Drill Depth (Maximum) | Tap Depth (Maximum) | Engineering Hole Number | ||
|---|---|---|---|---|---|---|---|---|---|---|---|
| J 42385- | MM | (IN) | MM | (IN) | - | ||||||
| 1 | M10 x 1.5 | 215 | 211 | 212 | 213 | 214 | 24.5 | 0.96 | 19.5 | 0.77 | 117 |
| 2 | M8 x 1.25 | 210 | 206 | 207 | 208 | 209 | 23.5 | 0.93 | 18.5 | 0.73 | 109 |
| 3 | M12 x 1.75 | 855 | 856 | 857 | 858 | 859 | 33.5 | 1.32 | 26.5 | 1.04 | 114 |
| 4 | M8 x 1.25 | 210 | 206 | 207 | 208 | 209 | 23.5 | 0.93 | 18.5 | 0.73 | 110 |
| 5 | M6 x 1 | 205 | 201 | 202 | 203 | 204 | 20 | 0.787 | 16 | 0.63 | 129 |
| 6 | M6 x 1 | 205 | 201 | 202 | 203 | 204 | 20 | 0.787 | 16 | 0.63 | 130 |
| 7 | M6 x 1 | 205 | 201 | 202 | 203 | 204 | 20 | 0.787 | 16 | 0.63 | 125 |
| 8 | M6 x 1 | 205 | 201 | 202 | 203 | 204 | 20 | 0.787 | 16 | 0.63 | 126 |
| 9 | M8 x 1.25 | 210 | 206 | 207 | 208 | 209 | 25.5 | 1.00 | THRU | 111 | |
| 10 | M6 x 1 | 205 | 201 | 202 | 203 | 204 | 20 | 0.787 | 16 | 0.63 | 127 |
| 11 | M6 x 1 | 205 | 201 | 202 | 203 | 204 | 20 | 0.787 | 16 | 0.63 | 122 |
| 12 | M6 x 1 | 205 | 201 | 202 | 203 | 204 | 20 | 0.787 | 16 | 0.63 | 128 |
| 13 | M6 x 1 | 205 | 201 | 202 | 203 | 204 | 20 | 0.787 | 16 | 0.63 | 124 |
| 14 | M6 x 1 | 205 | 201 | 202 | 203 | 204 | 20 | 0.787 | 16 | 0.63 | 123 |
| 15 | M6 x 1 | 205 | 201 | 202 | 203 | 204 | 20 | 0.787 | 16 | 0.63 | 131 |
| 16 | M6 x 1 | 205 | 201 | 202 | 203 | 204 | 20 | 0.787 | 16 | 0.63 | 119 |
| 17 | M6 x 1 | 205 | 201 | 202 | 203 | 204 | 20 | 0.787 | 16 | 0.63 | 120 |
| 18 | M8 x 1.25 | 210 | 206 | 207 | 208 | 209 | 23.5 | 0.93 | 18.5 | 0.73 | 106 |
| 19 | M8 x 1.25 | 210 | 206 | 207 | 208 | 209 | 55 | 2.17 | THRU | 112 | |
| 20 | M8 x 1.25 | 210 | 206 | 207 | 208 | 209 | 23.5 | 0.93 | 18.5 | 0.73 | 108 |
| 21 | M12 x 1.75 | 855 | 856 | 857 | 858 | 859 | 33.5 | 1.32 | 26.5 | 1.04 | 116 |
| 22 | M12 x 1.75 | 855 | 856 | 857 | 858 | 859 | 33.5 | 1.32 | 26.5 | 1.04 | 115 |