Disassembled Views
| Callout | Component Name |
|---|---|
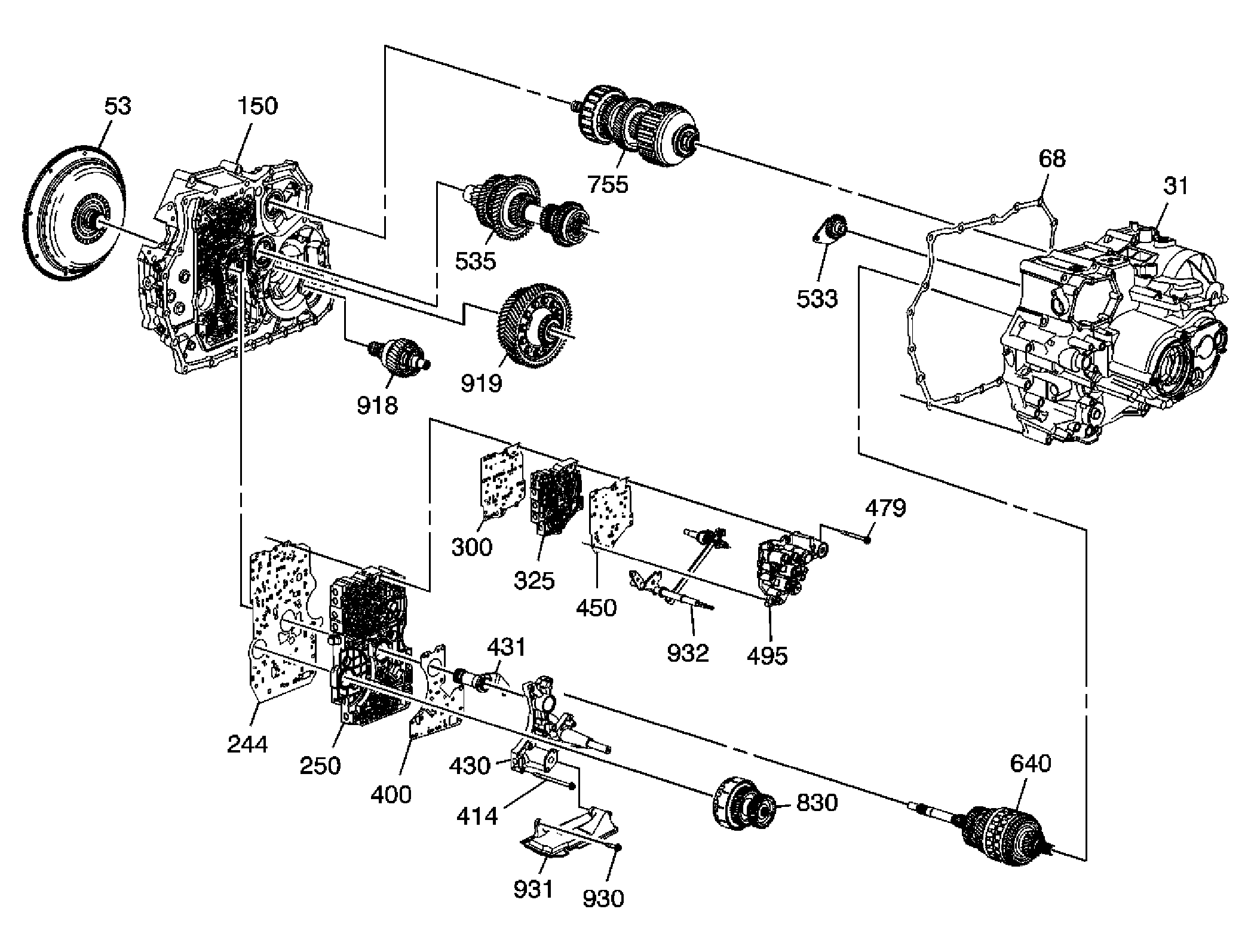
| 31 | Transmission Case Assembly |
| 53 | Torque Converter Clutch (TCC) Assembly |
| 68 | Torque Converter Housing Gasket |
| 150 | Torque Converter Housing Assembly |
| 244 | Main Control Valve Body Plate Assembly Spacer |
| 250 | Main Control Valve Body Assembly |
| 300 | Servo Valve Body Spacer Plate |
| 325 | Servo Valve Body Assembly |
| 400 | Regulator Valve Body Spacer Plate |
| 414 | Regulator Valve Body Flanged Bolt |
| 430 | Regulator Valve Body with Shift Fork Assembly |
| 431 | Stator Shaft and Torque Arm Assembly |
| 450 | Accumulator Valve Body Spacer Plate |
| 479 | Accumulator Valve Body Flanged Bolt |
| 495 | Accumulator Valve Body Assembly |
| 533 | Reverse Idler Gear Assembly |
| 535 | Output Shaft Assembly |
| 640 | Mainshaft Assembly |
| 755 | 1st and 2nd Clutch Shaft Assembly |
| 830 | 3rd Clutch Shaft Assembly |
| 918 | Transfer Gear with Shaft Assembly |
| 919 | Front Differential Assembly |
| 930 | Fluid Filter Assembly Flanged Mount Bolt |
| 931 | Fluid Filter Assembly |
| 932 | Manual Shift Shaft, Detent Lever, and Actuator with Linkage Assembly |
| Callout | Component Name |
|---|---|
| 1 | Automatic Transmission Wiring Harness Connector Bolt - M6 x 20 mm |
| 2 | Automatic Transmission Wiring Harness Assembly |
| 3 | Automatic Transmission Wiring Connector O-Ring Seal - 23.3 x 2.4 mm |
| 4 | 4th Clutch Pressure Switch Seal - 10 mm |
| 5 | 4th Clutch Pressure Switch Assembly |
| 6 | TCC Pressure Control Solenoid Valve Bolt - M6 x 30 mm |
| 7 | TCC Pressure Control Solenoid Valve |
| 8 | TCC Pressure Control Solenoid and Apply Solenoid Valve Kit |
| 9 | Fluid Pipe Seal - 7.7 x 2.3 mm |
| 9 | Fluid Pipe Seal - 7.7 x 2.3 mm |
| 10 | TCC Pressure Control Solenoid Valve Apply Fluid Pipe - 8 x 36 mm |
| 11 | TCC Pressure Control Solenoid Valve Fluid Feed Pipe - 8 x 53 mm |
| 12 | TCC Pressure Control Solenoid Valve Gasket |
| 13 | TCC Pressure Control Solenoid Valve Fluid Drain Pipe - 8 x 25.2 mm |
| 14 | Clutch Pressure Control Solenoid Valve Fluid Pipe - 8 x 105 mm |
| 15 | Clutch Pressure Control Solenoid Valve Fluid Pipe - 8 x 58.3 mm |
| 16 | Clutch Pressure Control Solenoid Valve Bolt - M6 x 55 mm |
| 17 | Clutch Pressure Control Solenoid Valve Bolt - M6 x 25 mm |
| 18 | Clutch Pressure Control Solenoid Valve |
| 19 | Clutch Pressure Control Solenoid Valve Fluid Feed Pipe - 8 x 58.3 mm |
| 20 | Clutch Pressure Control Solenoid Valve Gasket |
| 21 | Automatic Transmission Fluid Temperature Sensor Bolt - M6 x 18 mm |
| 22 | Automatic Transmission Fluid Temperature Sensor |
| 23 | Automatic Transmission Fluid Temperature Sensor O-Ring Seal - 12 x 2.4 mm |
| 25 | 3rd Clutch Pressure Switch |
| 26 | 3rd Clutch Pressure Switch Seal |
| 27 | Automatic Transmission Input Speed Sensor O-Ring Seal - 16 x 2.1 mm |
| 28 | Automatic Transmission Input Speed Sensor |
| 29 | Automatic Transmission Input Speed Sensor Bolt - M6 x 18 mm |
| 30 | Automatic Transmission Output Speed Sensor Assembly |
| 32 | Automatic Transmission Output Speed Sensor Bolt - M6 x 18 mm |
| 34 | Automatic Transmission Output Speed Sensor O-Ring Seal - 16 x 2.1 mm |
| Callout | Component Name |
|---|---|
| 35 | Transmission Fluid Level Indicator |
| 36 | Transmission Fluid Fill Tube Bolt - M6 x 14 mm |
| 37 | Transmission Fluid Fill Tube Assembly |
| 38 | Transmission Fluid Fill Tube O-Ring Seal - 8.5 x 1.9 mm |
| 39 | Engine Wiring Harness Bracket Bolt - M6 x 12 mm |
| 40 | Engine Wiring Harness Bracket |
| 41 | Manual Shift Shaft Seal - 12 x 22 x 7 mm |
| 42 | Park/Neutral Position Switch |
| 43 | Park/Neutral Position Switch Washer - 16 mm |
| 44 | Park/Neutral Position Switch Bolt - M6 x 16 mm |
| 45 | Automatic Transmission Range Selector Lever Assembly |
| 46 | Park/Neutral Position Switch Nut - 16 mm |
| 47 | Automatic Transmission Range Selector Lever Washer - 8 mm |
| 48 | Automatic Transmission Range Selector Lever Washer - 8 mm |
| 49 | Automatic Transmission Range Selector Lever Nut - 8 mm |
| 50 | Transmission Fluid Cooler Pipe Fitting Seal - 12 mm |
| 51 | Transmission Fluid Cooler Pipe Bracket Bolt - M6 x 14 mm |
| 52 | Transmission Fluid Cooler Pipe Bracket |
| 55 | Automatic Transmission Fluid Filter |
| 56 | Automatic Transmission Fluid Filter Cover Seal - 37.7 x 3.5 mm |
| 57 | Automatic Transmission Fluid Filter Cover |
| 58 | Automatic Transmission Fluid Filter Cover Bolt - M6 x 20 mm |
| 59 | Lube Fluid Pipe |
| 60 | Lube Fluid Pipe Retainer Bolt - M6 x 12 mm |
| 61 | Transmission Fluid Cooler Pipe Fitting |
| 61 | Transmission Fluid Cooler Pipe Fitting |
| 63 | Automatic Transmission Range Selector Level Link Cover |
| 64 | Automatic Transmission Range Selector Lever Position Switch Shield Bolt - M6 x 16 mm |
| Callout | Component Name |
|---|---|
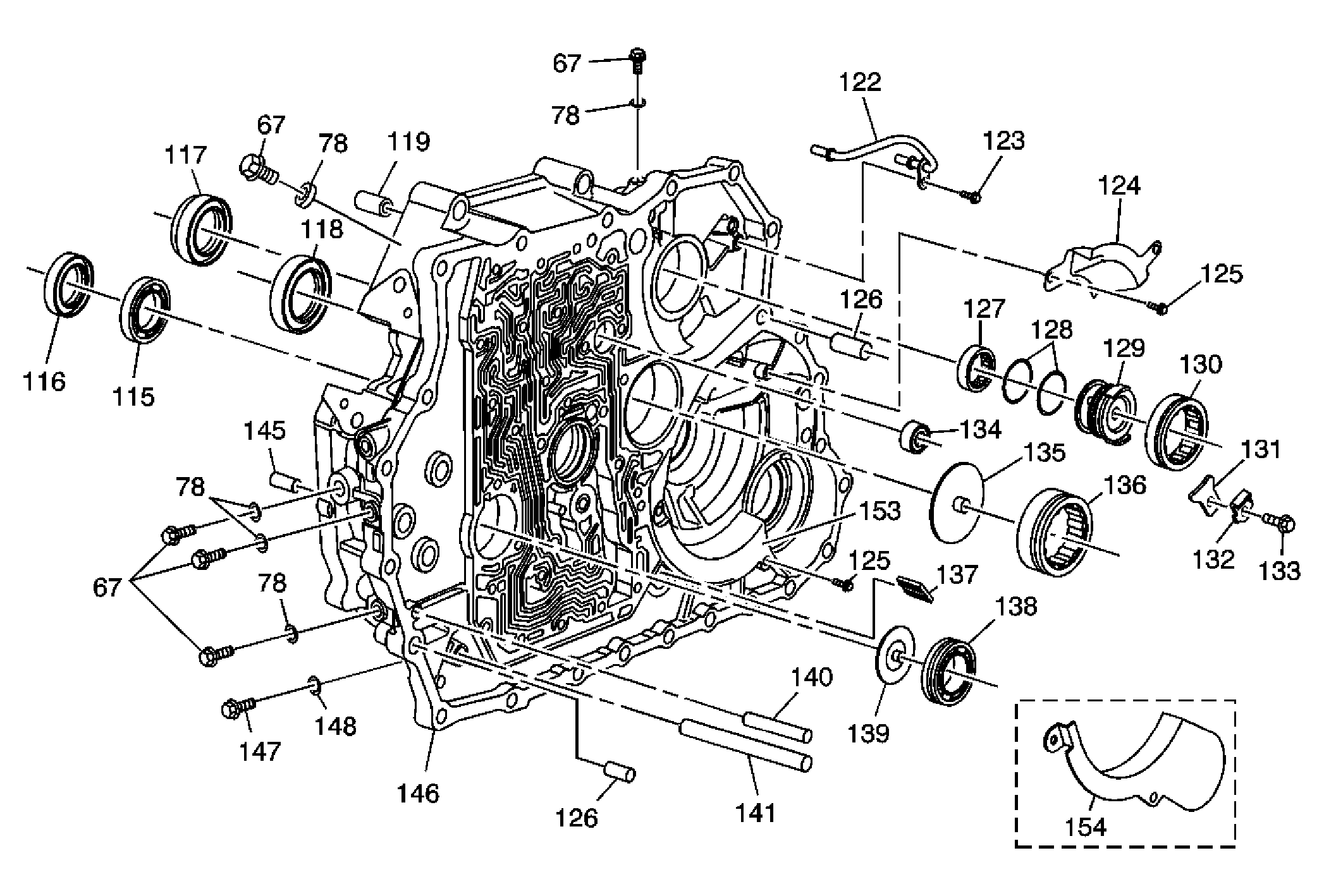
| 65 | 3rd Clutch Shaft Rear Bearing - 20 x 41 x 17/16 mm |
| 66 | Manual Shift Shaft Bearing - 12 x 24 x 6 mm |
| 67 | Automatic Transmission Fluid Pressure Test Hole Plug - 8 mm |
| 67 | Automatic Transmission Fluid Pressure Test Hole Plug - 8 mm |
| 67 | Automatic Transmission Fluid Pressure Test Hole Plug - 8 mm |
| 68 | Torque Converter Housing Gasket |
| 69 | Park Pawl Actuator Bearing - 9 x 20 x 6 mm |
| 70 | Coast Clutch Apply Fluid Pipe |
| 71 | Coast Clutch Apply Fluid Guide Plate Inner Seal - 11 x 1.9 mm |
| 72 | Coast Clutch Apply Fluid Guide Plate Outer Seal - 34 x 1.9 mm |
| 73 | Coast Clutch Apply Fluid Pipe Guide Plate |
| 74 | 1st/2nd Clutch Shaft Selective Shim - 65 mm |
| 75 | Coast Clutch Apply Fluid Pipe Guide Plate Retainer Ring - 40 mm |
| 76 | 1st and Coast Clutch Apply Fluid Collar |
| 77 | 1st and Coast Clutch Apply Fluid Collar Seal - 43.5 x 2.2 mm |
| 78 | Automatic Transmission Fluid Pressure Test Hole Plug Seal - 8 mm |
| 78 | Automatic Transmission Fluid Pressure Test Hole Plug Seal - 8 mm |
| 78 | Automatic Transmission Fluid Pressure Test Hole Plug Seal - 8 mm |
| 79 | Transmission Fluid Fill Plug |
| 80 | Transmission Fluid Fill Plug Washer - 24 mm |
| 81 | Automatic Transmission Range Selector Lever Cable Bracket Stud - M6 x 28 mm |
| 82 | Clutch Pressure Control Solenoid Manifold Gasket |
| 83 | Clutch Pressure Control Solenoid Manifold Locating Pin - 8 x 14 mm |
| 83 | Clutch Pressure Control Solenoid Manifold Locating Pin - 8 x 14 mm |
| 84 | Clutch Pressure Control Solenoid Manifold |
| 85 | Clutch Pressure Control Solenoid Manifold Bolt - M6 x 35 mm |
| 86 | Transmission Lifting Eye |
| 87 | Transmission Lifting Eye Bolt - M8 x 20 mm |
| 88 | Transmission Lifting Eye |
| 89 | Transmission Lifting Eye Bolt - M10 x 140 mm |
| 90 | Torque Converter Housing Bolt - M10 x 100 mm |
| 91 | Torque Converter Housing Bolt - M10 x 70 mm |
| 92 | Torque Converter Housing Bolt - M10 x 50 mm |
| 93 | Front Wheel Drive Shaft Oil Seal - 40 x 56 x 9 mm |
| 94 | Output Shaft Access Rear Cover Bolt - M6 x 20 mm |
| 95 | Output Shaft Access Rear Cover |
| 96 | Output Shaft Access Rear Seal Cover - 28 x 2.2 mm |
| 97 | Mainshaft Rear Case Cover Rear Bolt - M8 x 21 mm |
| 98 | Mainshaft Case Rear Cover |
| 99 | Mainshaft Case Rear Seal - 104 x 2.2 mm |
| 100 | Mainshaft Rear Bearing - 29 x 82 x 17/15.5 mm |
| 101 | Mainshaft Bearing Retainer Ring - 82 mm |
| 102 | Reverse Idler Gear Access Hole Plug - 20 mm |
| 103 | Reverse Idler Gear Access Hole Plug Seal - 20 mm |
| 104 | Transmission Fluid Drain Plug - 18 mm |
| 105 | Transmission Fluid Drain Plug Washer - 18 mm |
| 106 | Torque Converter Housing Bolt - M10 x 90 mm |
| 106 | Torque Converter Housing Bolt - M10 x 90 mm |
| 107 | Torque Converter Housing Bolt - M10 x 80 mm |
| 108 | Automatic Transmission Wire Harness Bracket |
| 109 | Mainshaft Washer - 29 x 40 x 3.9 mm |
| 110 | Mainshaft Retainer Nut - 26 mm |
| 111 | Automatic Transmission Case Plug - 8 mm |
| 111 | Automatic Transmission Case Plug - 8 mm |
| 112 | Automatic Transmission Case Plug Seal - 8 mm |
| Callout | Component Name |
|---|---|
| 67 | Automatic Transmission Fluid Pressure Test Hole Plug - 8 mm |
| 67 | Automatic Transmission Fluid Pressure Test Hole Plug - 8 mm |
| 67 | Automatic Transmission Fluid Pressure Test Hole Plug - 8 mm |
| 78 | Automatic Transmission Fluid Pressure Test Hole Seal - 8 mm |
| 78 | Automatic Transmission Fluid Pressure Test Hole Seal - 8 mm |
| 78 | Automatic Transmission Fluid Pressure Test Hole Seal - 8 mm |
| 78 | Automatic Transmission Fluid Pressure Test Hole Seal - 8 mm |
| 115 | Torque Converter Bearing - 42 x 68 x 7.5 mm |
| 116 | Torque Converter Fluid Seal - 46 x 70 x 8 mm |
| 117 | Front Wheel Drive Shaft Oil Seal - 35 x 54 x 8 mm |
| 118 | Transfer Case Input Shaft Seal - 48 x 65 x 7.5 mm |
| 119 | Transmission Case Locating Pin - 14 x 20 mm |
| 122 | 1st and 2nd Clutch Shaft Lube Feed Pipe |
| 123 | 1st and 2nd Clutch Shaft Fluid Pipe Retainer Bolt - M6 x 12 mm |
| 124 | Automatic Transmission Fluid Baffle |
| 125 | Automatic Transmission Fluid Baffle Bolt - M6 x 12 mm |
| 125 | Automatic Transmission Fluid Baffle Bolt - M6 x 12 mm |
| 126 | Transmission Case Locating Pin - 14 x 25 mm |
| 126 | Transmission Case Locating Pin - 14 x 25 mm |
| 127 | 1st and 2nd Clutch Shaft Front Bearing - 29 x 39 x 9.5 mm |
| 128 | 1st and 2nd Clutch Shaft Lube Feed Collar Seal - 36.5 x 2.0 mm |
| 129 | 1st and 2nd Clutch Shaft Lube Feed Collar |
| 130 | 1st and 2nd Clutch Shaft Intermediate Bearing - 32 x 63 x 19 mm |
| 131 | 1st and 2nd Clutch Shaft Intermediate Bearing Retainer |
| 132 | 1st and 2nd Clutch Shaft Intermediate Bearing Bolt Retainer - 6 mm |
| 133 | 1st and 2nd Clutch Shaft Intermediate Bearing Retainer Bolt - M6 x 20 mm |
| 134 | Park Pawl Actuator Shaft Front Bearing - 12 x 24 x 6 mm |
| 135 | Output Shaft Lube Feed Plate |
| 136 | Output Shaft Front Bearing - 40.5 x 74 x 21 mm |
| 137 | Transmission Magnetic Chip Collector |
| 138 | 3rd Clutch Shaft Front Bearing - 28 x 52 x 12.8 mm |
| 139 | 3rd Clutch Shaft Lube Feed Plate |
| 140 | 3rd Clutch Apply Fluid Pipe - 5 x 57.5 mm |
| 141 | Transmission Fluid Cooler Pipe - 10 x 123 mm |
| 145 | Transmission Case Locating Pin - 10 x 20 mm |
| 146 | Torque Converter Housing |
| 147 | Automatic Transmission Case Plug - 10 mm |
| 148 | Automatic Transmission Case Plug Seal - 10 mm |
| 153 | Automatic Transmission Fluid Baffle - AWD Only |
| 154 | Automatic Transmission Fluid Baffle - FWD Only |
| Callout | Component Name |
|---|---|
| 200 | Modulator Valve Spring Retainer |
| 201 | Modulator Valve Return Spring - 33.5 mm (1.319 in) |
| 202 | Modulator Valve |
| 203 | Control Valve Body |
| 204 | CPC Valve Return Spring - 17.8 mm (0.701 in) |
| 205 | CPC Valve |
| 206 | Body Valve Bore Plug - 12 mm, Double Groove Design |
| 206 | Body Valve Bore Plug - 12 mm, Double Groove Design |
| 207 | Body Valve Bore Plug Retainer Clip |
| 207 | Body Valve Bore Plug Retainer Clip |
| 208 | E Shift Valve |
| 209 | E Shift Valve Return Spring - 49 mm (1.929 in) |
| 210 | Body Valve Spring Retainer |
| 210 | Body Valve Spring Retainer |
| 211 | Transmission Fluid Filter |
| 212 | Relief Valve |
| 213 | Valve Relief Return Spring - 32.1 mm (1.264 in) |
| 214 | 4th Clutch Apply Fluid Pipe - 8 x 62 mm |
| 215 | Lubrication Control Valve |
| 216 | Valve Lubrication Control Return Spring - 29.9 mm (1.177 in) |
| 217 | Body Valve Bore Plug - 15 mm |
| 218 | Valve Lock-up Shift Return Spring - 63 mm (2.480 in) |
| 219 | Lock-up Shift Valve |
| 220 | Body Valve Bore Plug - 14 mm |
| 221 | Control Valve Body Bolt - M6 x 40 mm |
| 222 | Control Valve Body Bolt - M6 x 30 mm |
| 223 | Control Valve Body Bolt - M6 x 32 mm |
| 224 | Control Valve Body Bolt - M6 x 20 mm |
| 225 | Torque Converter Check Valve |
| 226 | Valve Torque Converter Check Return Spring - 35.1 mm (1.382 in) |
| 227 | Oil Cooler Check Ball Return Spring - 14.5 mm (0.571 in) |
| 228 | Transmission Fluid Cooler Check Ball Valve - 7/32 inch |
| 229 | Lock-up Timing Valve |
| 230 | Valve Lock-up Timing Return Spring - 34.8 mm (1.370 in) |
| 231 | Valve Body Bore Plug - 12 mm, Single Groove Design |
| 232 | Automatic Transmission Fluid Pump Driven Gear |
| 233 | Automatic Transmission Fluid Pump Driven Gear Pin |
| 234 | Automatic Transmission Fluid Pump Drive Gear |
| 235 | Manual Valve |
| 236 | D Shift Valve Return Spring - 33.7 mm (1.327 in) |
| 237 | D Shift Valve |
| 239 | B Shift Valve Return Spring - 49.1 mm (1.933 in) |
| 240 | B Shift Valve |
| 241 | A Shift Valve Return Spring - 49.1 mm (1.933 in) |
| 242 | A Shift Valve |
| 243 | Spacer Plate Locating Pin - 8 x 14 mm |
| 243 | Spacer Plate Locating Pin - 8 x 14 mm |
| 244 | Control Valve Body Spacer Plate |
| 245 | Lubrication Control Valve |
| 250 | Control Valve Body Assembly |
| Callout | Component Name |
|---|---|
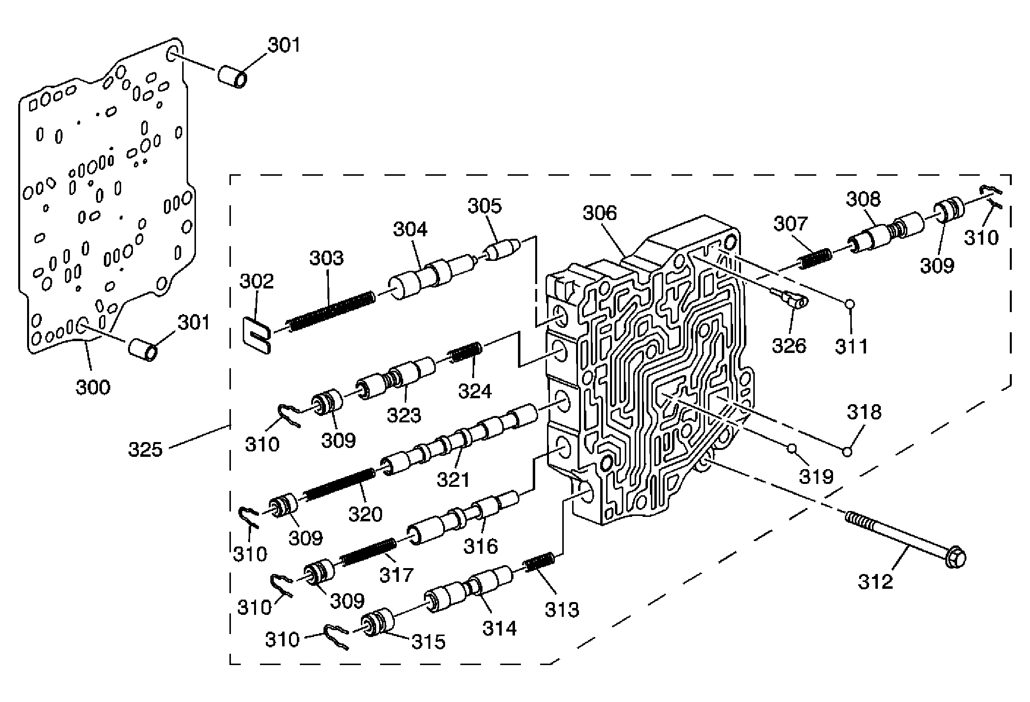
| 300 | Servo Valve Body Spacer Plate |
| 301 | Spacer Plate Locating Pin - 8 x 14 mm |
| 301 | Spacer Plate Locating Pin - 8 x 14 mm |
| 302 | Body Valve Spring Retainer |
| 303 | Kick Down Valve Return Spring - 49.1 mm (1.933 in) |
| 304 | Kick Down Valve |
| 305 | Kick Down Short Valve |
| 306 | Servo Valve Body |
| 307 | CPC Valve B, Return Spring - 17.8 mm (0.701 in) |
| 308 | CPC Valve B Valve |
| 309 | Body Valve Bore Plug - 12 mm |
| 309 | Body Valve Bore Plug - 12 mm |
| 310 | Body Valve Bore Plug Retainer Clip |
| 310 | Body Valve Bore Plug Retainer Clip |
| 311 | Valve 1st Clutch Accumulator Check - 7/32 in |
| 312 | Servo Valve Body Bolt - M6 x 60 mm |
| 313 | Reverse CPC Valve Return Spring - 17.8 mm (0.701 in) |
| 314 | Reverse CPC Valve |
| 315 | Body Valve Bore Plug - 14 mm |
| 316 | Servo Valve Control Valve |
| 317 | Servo Valve Control Valve Return Spring - 35.7 mm (1.406 in) |
| 318 | 1st Clutch Check Valve - 7/32 inch |
| 319 | 2nd Clutch Check Valve - 7/32 inch |
| 320 | Shift Valve C Return Spring - 49.1 mm (1.933 in) |
| 321 | Shift C Valve |
| 323 | CPC A Valve |
| 324 | CPC Valve A Return Spring - 17.8 mm (0.701 in) |
| 325 | Servo Valve Body |
| 326 | 1st Accumulator Choke |
| Callout | Component Name |
|---|---|
| 400 | Regulator Valve Body Spacer Plate |
| 401 | Spacer Plate Locating Pin - 8 x 14 mm |
| 401 | Spacer Plate Locating Pin - 8 x 14 mm |
| 404 | Stator Shaft |
| 405 | Stator Shaft Travel Stop Pin - 7 x 71 mm |
| 406 | Stator Shaft O-Ring Seal - 32.5 x 1.8 mm |
| 407 | Pressure Regulator Valve Spring Cap |
| 408 | Stator Reaction Spring - 30.0 mm (1.193 in) |
| 409 | Regulator Valve Outer Spring - 80.6 mm (3.173 in) |
| 410 | Regulator Valve Inner Spring - 44.0 mm (1.732 in) |
| 411 | Regulator Valve Body Bolt - M6 x 35 mm |
| 412 | Regulator Valve Body Bolt - M6 x 55 mm |
| 413 | Regulator Valve Body Bolt - M6 x 70 mm |
| 414 | Regulator Valve Body Bolt - M6 x 80 mm |
| 415 | Pressure Regulator Valve |
| 416 | Pressure Regulator Valve Spring Cap Guide Bolt - M6 x 30 mm |
| 417 | 3rd Accumulator Piston Bore Cover Bolt - M6 x 30 mm |
| 418 | 3rd Accumulator Piston Bore Cover |
| 419 | 3rd Clutch Accumulator Piston Return Spring - 41.4 mm (1.630 in) |
| 420 | 3rd Clutch Accumulator Piston |
| 421 | 3rd Clutch Accumulator Piston Seal - 21.2 x 2.4 mm |
| 422 | Regulator Valve Body |
| 423 | TCC Lock-Up Control Valve |
| 424 | TCC Lock-Up Control Valve Return Spring - 42.9 mm (1.689 in) |
| 425 | TCC Lock-Up Control Valve Spacer |
| 426 | Valve Body Bore Plug - 15 mm |
| 427 | Body Valve Bore Plug Retainer Clip |
| 428 | Reverse Shift Fork Shaft |
| 429 | Reverse Shift Fork Shaft Seal - 31 x 2.7 mm |
| 430 | Regulator Valve Body Assembly |
| 431 | Stator Shaft and Torque Arm Assembly |
| Callout | Component Name |
|---|---|
| 450 | Accumulator Valve Body Spacer Plate |
| 451 | Spacer Plate Locating Pin - 8 x 14 mm |
| 451 | Spacer Plate Locating Pin - 8 x 14 mm |
| 452 | 5th Clutch Accumulator Piston Retainer Ring - 36 mm |
| 453 | 5th Clutch Accumulator Piston Outer Seal - 29 x 2.4 mm |
| 454 | 5th Clutch Accumulator Piston |
| 455 | 5th Clutch Accumulator Piston Inner Seal - 21.2 x 2.4 mm |
| 456 | 5th Clutch Accumulator Piston Inner Spring - 45.5 mm (1.791 in) |
| 457 | 5th Clutch Accumulator Piston Outer Spring - 75.7 mm (2.980 in) |
| 458 | Accumulator Valve Body |
| 459 | 4th Clutch Accumulator Piston Seal - 21.2 x 2.4 mm |
| 460 | 4th Clutch Accumulator Piston |
| 461 | 4th Clutch Accumulator Piston Spring - 45.3 mm (1.783 in) |
| 462 | 4th Clutch Accumulator Spring Cover |
| 463 | 4th Clutch Accumulator Spring Cover Retainer Ring - 28 mm |
| 464a | Shift Solenoid Valve O-Ring Seal - 9.6 x 1.9 mm |
| 464a | Shift Solenoid Valve O-Ring Seal - 9.6 x 1.9 mm |
| 464a | Shift Solenoid Valve O-Ring Seal - 9.6 x 1.9 mm |
| 464b | Shift Solenoid Valve O-Ring Seal - 7.6 x 1.9 mm |
| 464b | Shift Solenoid Valve O-Ring Seal - 7.6 x 1.9 mm |
| 464b | Shift Solenoid Valve O-Ring Seal - 7.6 x 1.9 mm |
| 465 | C Shift Solenoid Valve |
| 466 | A Shift Solenoid Valve |
| 467 | Shift Solenoid Valve Bolt - M6 x 16 mm |
| 468 | TCC Solenoid Valve |
| 470 | B Shift Solenoid Valve |
| 472 | Coast Clutch Accumulator Valve Retainer |
| 473 | Coast Clutch Accumulator Valve Spring - 42.9 mm (1.689 in) |
| 474 | Coast Clutch Accumulator Valve |
| 475 | Mainshaft Lube Fluid Pipe - 8 x 85 mm |
| 476 | Accumulator Valve Body Bolt - M6 x 110 mm |
| 477 | Accumulator Valve Body Bolt - M6 x 60 mm |
| 478 | Accumulator Valve Body Bolt - M6 x 140 mm |
| 479 | Accumulator Valve Body Bolt - M6 x 125 mm |
| 480a | 1st Clutch Control Fluid Pipe - 8 x 151.5 mm |
| 480b | Coast Clutch Control Fluid Pipe - 8 x 151.5 mm |
| 481 | 4th Clutch Control Fluid Pipe - 8 x 40 mm |
| 482 | Accumulator Valve Body Bolt - M6 x 95 mm |
| 483 | Accumulator Valve Body Bolt - M6 x 85 mm |
| 484 | 1st Clutch Accumulator Piston Outer Spring |
| 485 | 1st Clutch Accumulator Piston Inner Spring |
| 486 | 1st Clutch Accumulator Piston Inner Seal - 18.3 x 2.4 mm |
| 487 | 1st Clutch Accumulator Piston |
| 488 | 1st Clutch Accumulator Piston Outer Seal - 29 x 2.4 mm |
| 489 | 1st Clutch Accumulator Piston Retainer Ring - 36 mm |
| 490 | 2nd Clutch Accumulator Piston Spring - 53.4 mm (2.102 in) |
| 491 | 2nd Clutch Accumulator Piston |
| 492 | 2nd Clutch Accumulator Piston Seal - 21.2 x 2.4 mm |
| 493 | 2nd Clutch Accumulator Piston Retainer Ring - 26 mm |
| Callout | Component Name |
|---|---|
| 500 | 3rd/4th Driven Gear |
| 501 | 3rd/4th Driven Gear Selective Spacer - 52 mm |
| 502 | 3rd/4th Driven Gear Retainer Ring - 39 mm |
| 503 | 3rd/4th Driven Gear Retainer Ring Cap |
| 504 | 3rd/4th Driven Gear Retainer Ring Cap Retainer Ring |
| 505 | 5th Driven Gear Spacer - 35 mm x 47 mm x 6 mm |
| 506 | 5th Driven Gear Inner Bearing - 35 mm x 21 mm x 46 mm |
| 507 | 5th Driven Gear |
| 508 | 5th/Reverse Synchronizer Ring |
| 509 | 5th/Reverse Synchronizer Hub |
| 510 | Reverse Driven Gear Inner Bearing Race - 31 mm x 40 mm x 14.5 mm |
| 511 | Reverse Drive Gear Inner Bearing - 40 mm x 46 mm x 14.5 mm |
| 512 | Reverse Driven Gear |
| 513 | Output Shaft Retainer Ring - 93 mm |
| 514 | Output Shaft Rear Bearing - 31 mm x 93 mm x 19 mm |
| 515 | Output Shaft Washer - 24 mm |
| 516 | Output Shaft Retainer Nut - 24 mm |
| 517 | 1st Driven Gear |
| 518 | 1st Driven Gear Selective Spacer - 56 mm |
| 519 | 1st/2nd Idler Gear End Bearing - 56 mm x 87.5 mm x 5.5 mm |
| 520 | 1st/2nd Idler Gear |
| 521 | 1st/2nd Idler Gear Inner Bearing - 57 mm x 65 mm x 28.7 mm |
| 522 | 1st/2nd Idler Gear End Bearing - 65 mm x 83 mm x 4.5 mm |
| 523 | 2nd Driven Gear |
| 524 | Output Shaft |
| 525 | Reverse Idler Gear Retainer Ring - 14 mm |
| 526 | Reverse Idler Gear Washer - 14 mm x 30 mm x 1 mm |
| 526 | Reverse Idler Gear Washer - 14 mm x 30 mm x 1 mm |
| 527 | Reverse Idler Gear |
| 528 | Reverse Idler Gear Inner Bearing - 14 mm x 18 mm x 15 mm |
| 530 | Reverse Idler Gear Retaining Plate Sleeve - 10 mm x 16 mm |
| 531 | Reverse Idler Gear Retainer Plate |
| 532 | Reverse Idler Gear Retainer Plate Bolt - M8 x 1.0 x 35 mm |
| 533 | Reverse Idler Gear Assembly |
| Callout | Component Name |
|---|---|
| 600 | Mainshaft Front Bearing Retainer Ring - 23 mm |
| 601 | Mainshaft Front Bearing - 23 mm x 31 mm x 21.8 mm |
| 602 | Mainshaft Fluid Passage Seal - 31 mm |
| 603 | Mainshaft |
| 604 | 4th /5th Reverse Clutch Housing Fluid passage O-ring Seal - 33 mm x 1.9 mm |
| 605 | 4th Drive Gear and Hub Bearing Retainer Ring - 81 mm |
| 606 | 4th Drive Gear and Clutch Hub Bearing - 38 mm x 78 mm x 37/27 mm |
| 607 | 4th Drive with Clutch Hub Gear |
| 608 | 4th Clutch Backing Plate Retainer Ring - 137 mm |
| 609 | 4th Clutch Selective Backing Plate |
| 610 | 4th Clutch Fiber Plate Assembly |
| 611 | 4th Clutch Steel Plate |
| 612 | 4th Clutch Piston Retainer Ring - 44 mm |
| 613 | 4th Clutch Piston Retainer Cap |
| 614 | 4th Clutch Piston Return Spring |
| 615 | 4th Clutch Waved Plate |
| 616 | 4th Clutch Piston |
| 617 | 4th Clutch Piston Outer Seal - 119.1 mm x 2.3 mm |
| 618 | 4th Clutch Piston Inner Seal - 44.1 mm x 2.2 mm |
| 619 | 5th/Reverse Drive Gear and Clutch Hub End Bearing - 40 mm x 53 mm x 2.5 mm |
| 620 | 5th/Reverse Drive Gear with Clutch Hub Gear |
| 621 | 5th/Reverse Drive Gear and Clutch Hub Inner Bearing - 40 mm x 46 mm x 34 mm |
| 622 | 5th/Reverse Drive Gear and Clutch Hub End Bearing - 40 mm x 59 mm x 3 mm |
| 623 | 5th/Reverse Drive Gear and Clutch Hub Bearing Race - 33 mm x 40 mm x 48.7 mm |
| 624 | 5th/Reverse Clutch Backing Plate Retainer Ring - 137 mm |
| 625 | 5th/Reverse Clutch Selective Backing Plate |
| 626 | 5th/Reverse Clutch Fiber Plate Assembly |
| 627 | 5th/Reverse Clutch Steel Plate |
| 628 | 5th/Reverse Clutch Piston Retainer Ring - 44 mm |
| 629 | 5th/Reverse Clutch Piston Retainer Cap |
| 630 | 5th/Reverse Clutch Piston Return Spring |
| 631 | 5th/Reverse Clutch Waved Plate |
| 632 | 5th/Reverse Clutch Piston Assembly |
| 633 | 5th/Reverse Clutch Piston Outer Seal - 119.1 mm x 2.3 mm |
| 634 | 5th/Reverse Clutch Piston Inner Seal - 44.1 mm x 2.2 mm |
| 635 | 4th/5th/Reverse Clutch Housing Assembly |
| 641 | 1st, 2nd, and 3rd Drive Gear |
| Callout | Component Name |
|---|---|
| 700 | 1st Clutch Backing Plate Retainer Ring - 141 mm |
| 701 | 1st Clutch Selective Backing Plate |
| 702 | 1st Clutch Fiber Plate Assembly |
| 703 | 1st Clutch Steel Plate |
| 704 | 1st Clutch Spring Plate |
| 705 | Coast Clutch Backing Plate |
| 706 | Coast Clutch Fiber Plate Assembly |
| 707 | Coast Clutch Steel Plate |
| 708 | 1st and Coast Clutch Piston Retainer Ring - 44 mm |
| 709 | 1st and Coast Clutch Piston Retainer Cap |
| 710 | 1st and Coast Clutch Piston Return Spring |
| 711 | Coast Clutch Spring Plate |
| 712 | Coast Clutch Piston Assembly |
| 713 | Coast Clutch Piston Outer Seal - 110 x 2.2 mm |
| 714 | Coast Clutch Piston Inner Seal - 52.1 x 2.2 mm |
| 715 | 1st Clutch Piston |
| 716 | 1st Clutch Piston Outer Seal - 119 x 2.3 mm |
| 717a | 1st Clutch Piston Inner Seal - 44.1 x 2.2 mm |
| 717b | 1st Clutch Piston Inner Seal - 45.1 x 2.2 mm |
| 718 | 1st/Coast Clutch Housing Assembly |
| 719 | 1st/2nd Clutch Shaft Rear Bearing - 29 x 65 x 9 mm |
| 720 | 1st/2nd Clutch Shaft Retainer Nut Washer - 29 x 40 x 3.9 mm |
| 721 | 1st/2nd Clutch Shaft Retainer Nut - 26 mm |
| 722 | 1st/Coast Clutch Hub Bearing Selective Race - 52 mm |
| 723 | 1st/Coast Clutch Hub End Bearing - 40 x 57 x 2.5 mm |
| 724 | Coast Clutch Hub |
| 725 | Coast Sprag with 1st Clutch Hub Sprag Assembly |
| 726 | 1st Drive Gear |
| 727 | 1st Drive Gear End Bearing - 43.5 x 61.5 x 2.5 mm |
| 728 | 1st Drive Gear Inner Bearing - 39 x 44 x 47 mm |
| 729 | 1st Drive Gear Inner Bearing Race - 32 x 39 x 63.3 mm |
| 730 | 1st/2nd Clutch Shaft Drive Gear |
| 731 | 2nd Drive Gear End Bearing - 44 x 66 x 3.5 mm |
| 731 | 2nd Drive Gear End Bearing - 44 x 66 x 3.5 mm |
| 732 | 2nd Drive Gear with Clutch Hub and Park Gear Assembly |
| 733 | 2nd Drive Gear Inner Bearing - 44 x 50 x 42 mm |
| 735 | 1st/Coast Clutch Housing Fluid Passage Seal - 26.7 x 1.9 mm |
| 736 | 1st/2nd Clutch Shaft |
| 737 | 2nd Clutch Housing Fluid Passage Seal - 31.2 x 1.9 mm |
| 738 | 1st/2nd Clutch Shaft Fluid Passage Seal - 29 mm, Square Cut |
| 739 | 2nd Clutch Backing Plate Retainer Ring - 129 mm |
| 740 | 2nd Clutch Selective Backing Plate |
| 741 | 2nd Clutch Fiber Plate Assembly |
| 742 | 2nd Clutch Steel Plate |
| 743 | 2nd Clutch Piston Retainer Ring - 42 mm |
| 744 | 2nd Clutch Piston Retainer Cap |
| 745 | 2nd Clutch Piston Return Spring |
| 746 | 2nd Clutch Piston |
| 747 | 2nd Clutch Piston Outer Seal - 114 x 2.2 mm |
| 748 | 2nd Clutch Piston Inner Seal - 42.8 x 2.2 mm |
| 749 | 2nd Clutch Housing Assembly |
| 750 | 2nd Clutch Housing Thrust Bearing - 46 x 62.95 x 4.62 mm |
| 751 | 2nd Clutch Housing Retainer Ring - 32 mm |
| Callout | Component Name |
|---|---|
| 800 | 3rd Drive Gear and Clutch Hub End Bearing Selective Race - 53 mm |
| 801 | 3rd Drive Gear and Clutch Hub End Bearing - 30 x 52 x 3 mm |
| 801 | 3rd Drive Gear and Clutch Hub End Bearing - 30 x 52 x 3 mm |
| 802 | 3rd Drive Gear and Clutch Hub Inner Bearing - 30 x 36 x 32 mm |
| 803 | 3rd Drive with Clutch Hub Gear |
| 805 | 3rd Driven Gear |
| 806 | 3rd Driven Gear Retainer Ring - 19.8 mm |
| 807 | 3rd Driven Gear Retainer Ring Cap |
| 808 | 3rd Driven Gear Retainer Ring Cap Retainer Ring - 24 mm |
| 809 | 3rd Clutch Shaft Selective Washer - 26.5 mm |
| 810 | 3rd Clutch Backing Plate Retainer Ring - 137 mm |
| 811 | 3rd Clutch Selective Backing Plate |
| 812 | 3rd Clutch Fiber Plate Assembly |
| 813 | 3rd Clutch Steel Plate |
| 814 | 3rd Clutch Piston Retainer Ring - 42 mm |
| 815 | 3rd Clutch Piston Return Spring Cup |
| 816 | 3rd Clutch Piston Return Spring |
| 817 | 3rd Clutch Spring Plate |
| 818 | 3rd Clutch Piston |
| 819 | 3rd Clutch Piston Outer Seal - 116.7 x 2.2 mm |
| 820 | 3rd Clutch Piston Inner Seal - 41.8 x 2.2 mm |
| 821 | 3rd Clutch Housing Assembly |
| 822 | 3rd Clutch Housing Fluid Passage Seal - 26.7 x 1.9 mm |
| 823 | 3rd Clutch Shaft |
| 824 | 3rd Clutch Shaft Fluid Passage Seal - 35 mm, Square Cut |
| Callout | Component Name |
|---|---|
| 900 | Front Differential Bearing Spacer - 46 x 80 x 1 mm |
| 901 | Front Differential Bearing Race |
| 902 | Front Differential Bearing - 40 x 80 x 21.25 mm |
| 903 | Input Drive Gear - AWD Only |
| 904 | Front Differential Assembly |
| 905 | Front Differential Final Ring Gear |
| 906 | Front Differential Carrier Bolt Left Hand Thread |
| 907 | Front Differential Bearing - 45 x 85 x 19.7 mm |
| 908 | Front Differential Bearing Race |
| 909 | Front Differential Bearing Spacer - 46 x 85 x 1 mm |
| 910 | Front Differential Bearing Selective Shim - 85 mm diameter |
| 911 | Transfer Case Input Gear with Input Shaft Bearing - 22 x 76 x 19 mm |
| 912 | Transfer Case Input Gear with Input Shaft Selective Shim - 28.5 mm diameter |
| 913 | Transfer Case Input Gear with Input Shaft Gear |
| 914 | Transfer Case Input Gear with Input Shaft Bearing - 40 x 80 x 16.5 mm |
| 950 | Front Differential Pinion Shaft |
| 951 | Front Differential Pinion Shaft Retaining Pin |
| 953 | Front Differential Side Pinion Shaft (2) |
| 954 | Front Differential Side Pinion Shaft Retainer Pin (2) |
| 955 | Front Differential Side Pinion Shaft Washer (4) |
| 956 | Front Differential Pinion Gear (4) |
| 957 | Front Differential Side Pinion Shaft Holder |
| 958 | Front Differential Side Gear (2) |
| 959 | Front Differential Side Gear Washer (2) |
| 960 | Front Differential Carrier Cover |
| 961 | Front Differential Carrier Cover Bolt (2), Phillips Head |
| Callout | Component Name |
|---|---|
| 920 | Park Pawl Shaft |
| 921 | Park Pawl Actuator Spring |
| 922 | Park Pawl |
| 923 | Park Pawl Stop Lever Pin - 8 x 73 mm |
| 924 | Reverse Shift Fork |
| 925 | Reverse Shift Fork Washer |
| 926 | Reverse Shift Fork Retainer Bolt - M6 x 30 mm |
| 927 | Automatic Transmission Fluid Baffle |
| 928 | Transmission Fluid Baffle Bolt - M6 x 80 mm |
| 929 | Transmission Fluid Baffle Bolt - M6 x 95 mm |
| 930 | Automatic Transmission Fluid Filter Bolt |
| 931 | Automatic Transmission Fluid Filter |
| 932 | Manual Shift Shaft Assembly |
| 933 | Manual Shaft Retainer Ring - 12 mm |
| 934 | Park Pawl Actuator Shaft Hole Pin - 4 x 18 mm |
| 935 | Manual Shift Shaft Detent Roller Assembly |
| 936 | Manual Shift Shaft Detent Roller Spring |
| 937 | Manual Shift Shaft Detent Roller Pin |
| 938 | Park Pawl Actuator Spring |
| 939 | Park Pawl Actuator Roller Pin Washer - 6 mm |
| 940 | Park Pawl Actuator Roller Pin Retainer Pin - 1.6 x 12 mm |
| 941 | Park Pawl Actuator |
| 942 | Park Pawl Actuator Roller Pin - 6 mm |
| 943 | Park Pawl Actuator Roller |
| 944 | Parking Pawl Stop Lever |
| 945 | Park Pawl Stop Lever Washer - 6 mm |
| 946 | Park Pawl Stop Lever Bolt - M6 x 25 mm |
| 947 | Automatic Transmission Fluid Filter O-ring Seal - 21.8 x 1.9 mm |