Disassembled Views
| Callout | Component Name |
|---|---|
| 1 | Side Cover (Structural) |
| 2 | Axle Oil Seal |
| 3 | Side Cover Bolt |
| 4 | Side Cover Stud |
| 5 | Side Cover Gasket |
| 6 | Side Cover Oil Level Control Gasket |
| 7 | Thrust Washer (Side Cover to Driven Sprocket) |
| 8 | Oil Pump Bolt |
| 9 | Oil Pump Bolt |
| 10 | Transaxle Oil Pump Assembly |
| 11 | Transaxle Wiring Assembly |
| 12 | TFP Manual Valve Position Switch Assembly Bolt |
| 13 | TFP Manual Valve Position Switch Assembly |
| 15 | Wiring Harness Bracket Bolt/Input Speed Sensor Bolt |
| 51 | Transaxle Case |
| 52 | Vent Cap |
| 55 | Torque Converter Assembly |
| 61 | Output Speed Sensor Stud |
| 62 | Output Shaft Speed Sensor |
| 63 | O-Ring Seal (Output Speed Sensor) |
| 64 | Band Anchor Pin (Lo/Reverse) |
| 65 | Oil Level Control Plug |
| 81 | Tube Assembly Bolt/Bottom Pan Bolt |
| 84 | Transaxle Oil Filter Seal |
| 85 | Transaxle Oil Filter Assembly |
| 86 | Oil Level Control Valve |
| 87 | Transaxle Bottom Pan Gasket |
| 88 | Transaxle Oil Pan |
| 89 | Chip Collector Magnet |
| 126 | Side Cover Stud |
| 127 | Transmission Wiring Harness Assembly (Some Models) |
| 128 | Electrical Connector Retaining Bracket (Some Models) |
| Callout | Component Name |
|---|---|
| 16 | Control Valve Body Bolt |
| 18 | Control Valve Body Assembly |
| 19 | Oil Pump Drive Shaft |
| 20 | Spacer Plate Support Bolt |
| 21 | Spacer Plate Support |
| 22 | Control Valve Body to Spacer Plate Gasket |
| 23 | Control Valve Body Spacer Plate - Model Dependent |
| 24 | Spacer Plate to Channel Plate Gasket |
| 25 | Channel Plate Bolt/Servo Cover Bolt |
| 25 | Channel Plate Bolt/Servo Cover Bolt |
| 25 | Channel Plate Bolt/Servo Cover Bolt |
| 26 | Checkballs (7) |
| 27 | Channel Plate |
| 28 | Case To Channel Plate Gasket |
| 29 | Accumulator Piston (1-2, 2-3 and 3-4) |
| 29 | Accumulator Piston (1-2, 2-3 and 3-4) |
| 29 | Accumulator Piston (1-2, 2-3 and 3-4) |
| 30 | Accumulator Piston Seal (1-2, 2-3 and 3-4) |
| 30 | Accumulator Piston Seal (1-2, 2-3 and 3-4) |
| 30 | Accumulator Piston Seal (1-2, 2-3 and 3-4) |
| 31 | 1-2 Accumulator Piston Spring |
| 32 | 2-3 and 3-4 Accumulator Piston Spring |
| 32 | 2-3 and 3-4 Accumulator Piston Spring |
| 45 | Dowel Pin |
| 47 | 2-3 Accumulator Piston Cushion Spring |
| 48 | Line Pressure Tap Plug |
| 49 | Cooler Pipe Seal |
| 51 | Transaxle Case |
| 66 | Servo Return Spring (Lo/Reverse) |
| 67 | Servo Apply Pin (Lo/Reverse) |
| 68 | Servo Cushion Spring |
| 68 | Servo Cushion Spring |
| 69 | Servo Piston (Lo/Reverse) |
| 70 | Servo Snap Ring |
| 70 | Servo Snap Ring |
| 71 | Servo Piston Seal (Lo/Reverse) |
| 72 | Servo Cover Seal (Lo/Reverse) |
| 73 | Servo Cover (Lo/Reverse) |
| 75 | Servo Return Spring (Intermediate/4th) |
| 76 | Servo Apply Pin (Intermediate/4th) |
| 77 | Servo Piston (Intermediate/4th) |
| 78 | Servo Piston Seal (Intermediate/4th) |
| 79 | Servo Cover Seal (Intermediate/4th) |
| 80 | Servo Cover (Intermediate/4th) |
| 81 | Tube Assembly Bolt/Bottom Pan Bolt |
| 81 | Tube Assembly Bolt/Bottom Pan Bolt |
| 81 | Tube Assembly Bolt/Bottom Pan Bolt |
| 82 | Oil Feed Tube Assembly Seal |
| 82 | Oil Feed Tube Assembly Seal |
| 82 | Oil Feed Tube Assembly Seal |
| 82 | Oil Feed Tube Assembly Seal |
| 83 | Oil Feed Tube Assembly |
| 125 | 1-2 Accumulator Piston Cushion Spring and Retainer Assembly |
| Callout | Component Name |
|---|---|
| 2 | Axle Oil Seal |
| 15 | Wiring Harness Bracket Bolt/Input Speed Sensor Bolt |
| 33 | Turbine Shaft To Channel Plate Sleeve Seal |
| 34 | Thrust Washer (Channel Plate to Drive Sprocket) |
| 35 | Snap Ring (Turbine Shaft To Drive Sprocket) |
| 36 | Drive Link Assembly |
| 37 | Drive Sprocket |
| 38 | Thrust Washer (Drive Sprocket to Support) |
| 39 | Turbine Shaft |
| 40 | Turbine Shaft to Support Seal |
| 41 | O-Ring Seal (Torque Converter) |
| 42 | Drive Sprocket Support Bearing |
| 43 | Drive Sprocket Support |
| 44 | Drive Sprocket Support Bushing |
| 46 | Input Speed Sensor |
| 51 | Transaxle Case |
| 53 | Drive Sprocket Support Screw |
| 54 | Converter Seal |
| 56 | Output/Stub Shaft Sleeve |
| 56 | Output/Stub Shaft Sleeve |
| 57 | Output/Stub Shaft Snap Ring |
| 57 | Output/Stub Shaft Snap Ring |
| 57 | Output/Stub Shaft Snap Ring |
| 58 | Output Stub Shaft |
| 60 | Case To Final Drive Bushing |
| 91 | Driven Sprocket |
| 92 | Thrust Washer (Driven Sprocket to Support) |
| 94 | Output Shaft |
| 95 | Driven Sprocket Support Assembly |
| 96 | 2nd Clutch Plate (Waved) |
| 97 | 2nd Clutch Plate (Steel) |
| 98 | 2nd Clutch Plate (Fiber) |
| 99 | 2nd Clutch Plate (Backing) |
| 100 | Intermediate/4th Band |
| 101 | Thrust Washer (Support To Reverse Input Clutch) |
| 102 | Reverse Input Clutch Assembly |
| 103 | Thrust Bearing |
| 104 | Thrust Washer (Selective) |
| 105 | Direct and Coast Clutch Assembly |
| 106 | Input Carrier Assembly |
| 107 | Thrust Bearing |
| 108 | Input Flange and Forward Clutch Hub Assembly |
| 109 | Thrust Washer |
| 110 | Forward Clutch Assembly |
| 111 | Lo/Reverse Band |
| 112 | Snap Ring (Forward Clutch Support to Case) |
| 113 | Thrust Bearing |
| 114 | Forward Clutch Support Assembly |
| 115 | Final Drive Sun Gear |
| 116 | Differential and Final Drive Assembly |
| 117 | Thrust Bearing |
| 118 | Final Drive Internal Gear |
| 119 | Internal Gear to Case Fretting Ring |
| Callout | Component Name |
|---|---|
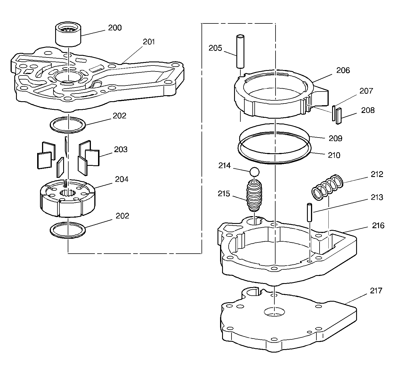
| 200 | Oil Pump Bearing and Seal Assembly |
| 201 | Oil Pump Base |
| 202 | Oil Pump Vane Ring |
| 202 | Oil Pump Vane Ring |
| 203 | Oil Pump Vane |
| 204 | Oil Pump Rotor |
| 205 | Pivot Pin (Oil Pump Slide) |
| 206 | Oil Pump Slide |
| 207 | Oil Pump Slide Seal Support |
| 208 | Oil Pump Slide Seal |
| 209 | O-Ring Seal (Oil Pump Slide) |
| 210 | Fluid Seal Ring (Slide to Body) |
| 212 | Oil Pump Priming Spring |
| 213 | Locating Pin |
| 214 | Pressure Relief Ball |
| 215 | Pressure Relief Spring |
| 216 | Oil Pump Body |
| 217 | Pump Cover |
| Callout | Component Name |
|---|---|
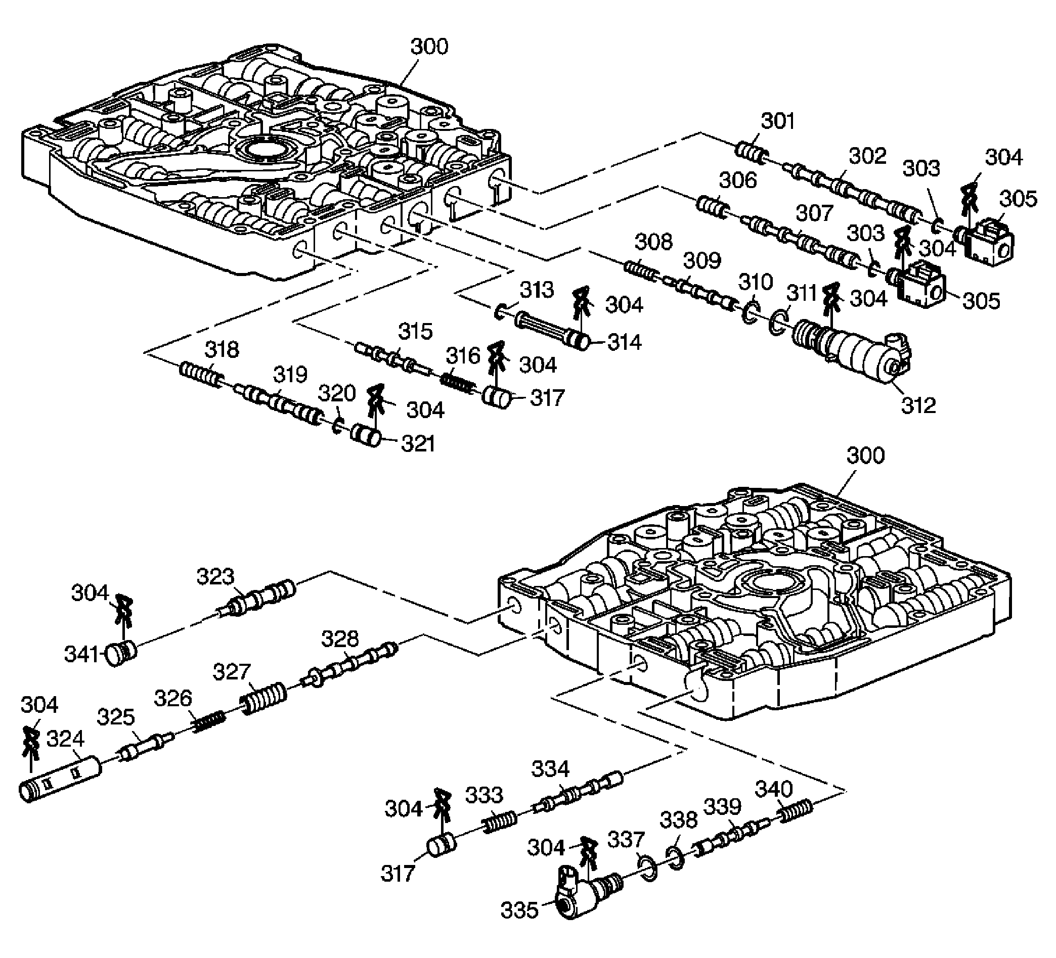
| 300 | Control Valve Body Assembly |
| 300 | Control Valve Body Assembly |
| 301 | 1-2 Shift Valve Spring |
| 302 | 1-2 Shift Valve |
| 303 | Shift Solenoid O-Ring (1-2 and 2-3) |
| 303 | Shift Solenoid O-Ring (1-2 and 2-3) |
| 304 | Retainer Clip |
| 304 | Retainer Clip |
| 304 | Retainer Clip |
| 304 | Retainer Clip |
| 304 | Retainer Clip |
| 304 | Retainer Clip |
| 304 | Retainer Clip |
| 304 | Retainer Clip |
| 304 | Retainer Clip |
| 304 | Retainer Clip |
| 305 | Shift Solenoid (1-2 and 2-3) |
| 305 | Shift Solenoid (1-2 and 2-3) |
| 306 | 2-3 Shift Valve Spring |
| 307 | 2-3 Shift Valve |
| 308 | Torque Signal Regulator Valve Spring |
| 309 | Torque Signal Regulator Valve |
| 310 | Pressure Control Solenoid O-Ring |
| 311 | Pressure Control Solenoid O-Ring |
| 312 | Pressure Control Solenoid |
| 313 | Actuator Oil Filter O-Ring |
| 314 | Actuator Oil Filter |
| 315 | Actuator Feed Limit Valve |
| 316 | Actuator Feed Limit Valve Spring |
| 317 | Bore Plug |
| 318 | 3-4 Shift Valve Spring |
| 319 | 3-4 Shift Valve |
| 320 | 3-4 Shift Valve Plug O-Ring |
| 321 | Bore Plug |
| 323 | 1-2/3-4 Accumulator Valve |
| 324 | Pressure Regulator Boost Valve Bushing |
| 325 | Pressure Regulator Boost Valve |
| 326 | Isolator Spring |
| 327 | Pressure Regulator Valve Spring |
| 328 | Pressure Regulator Valve |
| 333 | TCC Control Valve Spring |
| 334 | TCC Control Valve |
| 335 | TCC Control PWM Solenoid |
| 337 | TCC Control Solenoid O-Ring |
| 338 | TCC Control Solenoid O-Ring |
| 339 | TCC Regulated Apply Valve |
| 340 | TCC Regulated Apply Valve Spring |
| 341 | Bore Plug |
| Callout | Component Name |
|---|---|
| 400 | Driven Sprocket Support Bearing |
| 401 | Driven Sprocket Support |
| 402 | Driven Sprocket Support Bushing |
| 403 | Oil Seal Ring |
| 404 | 2nd Clutch Piston Assembly |
| 405 | 2nd Clutch Spring Assembly |
| 406 | 2nd Clutch Spring Retaining Ring |
| 407 | Reverse Intermediate Clutch Housing Valve Assembly |
| Callout | Component Name |
|---|---|
| 450 | 2nd Roller Clutch Retainer |
| 451 | 2nd Roller Clutch Cam |
| 452 | 2nd Roller Clutch Assembly |
| 453 | Reverse Clutch Bushing |
| 454 | Reverse Clutch Housing |
| 455 | Reverse Clutch Bushing |
| 456 | Reverse Clutch Center Retainer and Seal Assembly |
| 457 | Reverse Clutch Piston Assembly |
| 458 | Reverse Clutch Spring and Retainer Assembly |
| 459 | Snap Ring (Reverse Clutch Spring Retainer) |
| 460 | Reverse Clutch Plate (Waved) |
| 461 | Reverse Clutch Plate (Steel) |
| 462 | Reverse Clutch Plate (Fiber) |
| 463 | Reverse Clutch Backing Plate |
| 464 | Snap Ring (Reverse Clutch) |
| Callout | Component Name |
|---|---|
| 500 | Input Shaft Oil Seal Ring |
| 501 | Input Shaft Bushing |
| 502 | Direct and Coast Clutch and Input Shaft Housing |
| 503 | Direct Clutch Housing to Output Shaft Bushing |
| 504 | Coast Clutch Piston Assembly |
| 505 | Coast Clutch Release Spring |
| 506 | Coast Clutch Spring Retainer |
| 507 | Snap Ring (Coast Clutch Spring Retainer) |
| 508 | Coast Clutch Plate (Steel) |
| 509 | Coast Clutch Plate (Fiber) |
| 510 | Thrust Bearing |
| 511 | Input Sun Gear Shaft and Inner Race Assembly |
| 512 | Outer Race (Input Sprag) |
| 514 | Sprag Clutch End Bearings (2) |
| 514 | Sprag Clutch End Bearings (2) |
| 515 | Input Sprag Assembly |
| 516 | Snap Ring (Outer Race to Sprag Assembly) |
| 517 | Snap Ring (Direct/Coast Clutch Retaining) |
| 518 | Direct Clutch Piston Assembly |
| 519 | Direct Clutch Spring and Retainer Assembly |
| 520 | Direct Clutch Spring Retainer Ring |
| 521 | Direct Clutch Plate (Steel) |
| 522 | Direct Clutch Plate (Fiber) |
| 523 | Direct Clutch Plate (Backing) |
| 524 | Thrust Bearing |
| 525 | Reaction Carrier Shaft Bushing |
| 526 | Reaction Carrier Shaft Shell |
| 527 | Thrust Bearing (Carrier Shaft to Shell) |
| 528 | Reaction Sun Gear Bushing |
| 529 | Reaction Sun Shell |
| 531 | Reaction Carrier Assembly |
| 532 | Thrust Bearing (Reaction Carrier to Sun Gear) |
| 533 | Input Sun Gear |
| 534 | Snap Ring |
| Callout | Component Name |
|---|---|
| 550 | Reaction Carrier |
| 551 | Thrust Bearing |
| 552 | Planetary Pinion Gear Pin |
| 553 | Pinion Thrust Reaction Washer |
| 553 | Pinion Thrust Reaction Washer |
| 554 | Pinion Thrust Inner Washer |
| 554 | Pinion Thrust Inner Washer |
| 555 | Roller Needle Bearing |
| 556 | Reaction Planetary Pinion Gear |
| Callout | Component Name |
|---|---|
| 560 | Internal Gear (Input and Reaction) |
| 561 | Thrust Bearing |
| 562 | Input Carrier |
| 563 | Snap Ring (Input Carrier to Internal Gear) |
| 564 | Planetary Pinion Gear Pin |
| 565 | Pinion Thrust Input Washer |
| 565 | Pinion Thrust Input Washer |
| 566 | Pinion Thrust Inner Washer |
| 566 | Pinion Thrust Inner Washer |
| 567 | Roller Needle Bearing |
| 568 | Input Planetary Pinion Gear |
| Callout | Component Name |
|---|---|
| 560 | Internal Gear (Input and Reaction) |
| 575 | Input Flange Bushing |
| 577 | Input Flange and Forward Clutch Hub |
| 578 | Snap Ring (Input Internal Gear to Input Flange) |
| Callout | Component Name |
|---|---|
| 600 | Snap Ring (Forward Clutch) |
| 601 | Forward Clutch Plate (Backing) |
| 602 | Forward Clutch Plate (Fiber) |
| 603 | Forward Clutch Plate (Steel) |
| 604 | Forward Clutch Plate (Waved) |
| 605 | Snap Ring (Forward Clutch Spring Assembly) |
| 606 | Forward Clutch Return Spring Assembly |
| 607 | Forward Clutch Piston Assembly |
| 608 | Forward Clutch Inner Seal and Sleeve Assembly |
| 609 | Forward Clutch Housing |
| 610 | Forward Clutch Support Bushing |
| 611 | Forward Clutch Support Bushing |
| Callout | Component Name |
|---|---|
| 650 | Final Drive Sun Shaft Bushing |
| 651 | Final Drive Sun Shaft |
| 652 | Lo Roller Clutch Assembly |
| 654 | Oil Seal Ring (Forward Clutch Support) |
| 656 | Forward Clutch Support |
| 658 | Thrust Bearing (Forward Support to Park Gear) |
| 659 | Park Lock Gear |
| 660 | Snap Ring (Final Drive Sun Shaft) |
| 661 | Parking Lock Pawl Shaft |
| 662 | Parking Lock Pawl Return Spring |
| 663 | Parking Lock Pawl |
| Callout | Component Name |
|---|---|
| 115 | Sun Gear (Final Drive) |
| 700 | Thrust Bearing |
| 701 | Spiral Pin Retaining Ring |
| 702 | Differential and Final Drive Carrier |
| 703 | Differential Pinion Shaft |
| 704 | Differential Pinion Shaft Retaining Pin |
| 705 | Speed Sensor Rotor |
| 706 | Thrust Washer (Differential Pinion) |
| 706 | Thrust Washer (Differential Pinion) |
| 707 | Differential Pinion Gear |
| 707 | Differential Pinion Gear |
| 708 | Thrust Washer (Differential Side Gear) |
| 708 | Thrust Washer (Differential Side Gear) |
| 709 | Differential Side Gear |
| 709 | Differential Side Gear |
| 710 | Pinion Thrust Washer |
| 710 | Pinion Thrust Washer |
| 711 | Pinion Gear (Final Drive Planetary) |
| 712 | Roller Needle Bearing |
| 713 | Pinion Needle Bearing Spacer |
| 714 | Planetary Pinion Gear Pin |
| Callout | Component Name |
|---|---|
| 51 | Transaxle Case |
| 800 | Manual Valve |
| 801 | Manual Valve to Link Clip |
| 802 | Manual Valve to Detent Lever Link |
| 803 | Manual Shaft to Case Pin |
| 804 | Manual Detent Spring and Roller Assembly |
| 805 | Spring and Roller Assembly to Channel Plate Bolt |
| 806 | Manual Shaft and Detent Lever Assembly |
| 807 | Parking Lock Actuator Assembly |
| 809 | Manual Shaft to Case Seal |
| 810 | Actuator Guide Spring Pin |
| 811 | Actuator Guide Seal |
| 812 | Actuator Guide |