lemon-mirror:
Home >> Saturn >> 2005 >> Relay FWD >> Repair and Diagnosis >> Accessories & Equipment >> Communication Devices >> Computer/Integrating Systems >> Component Locator >> Computer/Integrating Systems Connectors >> Body Control Module (BCM) C2

Body Control Module (BCM) C2

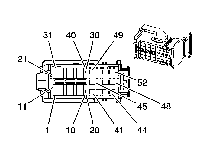
Fig 1: Identifying Body Control Module (BCM) C2 Connector End View
GM1243543Courtesy of GENERAL MOTORS CORP.
Computer/Integrating Systems Connector End Views

Connector Part Information 
  • OEM: 15444637
  • Service: 88956475
  • Description: 52-Way F Receptacle 0.64, 2.8 (BK)
Terminal Part Information 
  • Pins: 2-40
  • Terminal: 638551-1/Tray 16
  • Core/Insulation Crimp: Pins 2-8, 10-18, 25, 26, 31-40: J/J
  • Core/Insulation Crimp: Pins 9, 22-24, 30: K/K
  • Release Tool/Test Probe: 15315247/J-35616-64A
  • Pins: 43, 48
  • Terminal: Not Serviced in Kit
  • Core/Insulation Crimp: N/A
  • Release Tool/Test Probe: N/A
  • Pins: 42, 44-46, 49-52
  • Terminal: 1326030-6/Tray 17
  • Core/Insulation Crimp: Pins 42, 45, 46: E/2
  • Core/Insulation Crimp: Pins 44, 49-52: E/C
  • Release Tool/Test Probe: 12094429/J-35616-4A
Body Control Module (BCM) C2

Pin Wire Color Circuit No. Function
1 - - Not Used
2 OG/BK 780 Driver Door Lock Switch Lock Signal
3 D-GN 5512 Liftgate Open Switch Signal
4 D-BU 245 Passenger Door Lock Switch Unlock Signal
5 L-GN/BK 748 Right Rear Door Ajar Switch Signal
6 YE/BK 1181 Right Rear Door Open Switch Signal
7 L-BU/BK 747 Left Rear Door Ajar Switch Signal
8 L-GN 1177 Right Front Door Open Switch Signal
9 L-BU 1134 Park Brake Switch Signal
10 L-BU 2380 Rear Parking Assist Chime Signal (UD7)
11 OG/BK 781 Driver Door Lock Switch Unlock Signal
12-15 - - Not Used
16 WH 193 Rear Defog Relay Control
17 TN/WH 746 Right Front Door Ajar Switch Signal
18 D-BU/WH 1179 Left Rear Door Open Switch Signal
19-21 - - Not Used
22 L-GN 1123 Door Lock Key Switch Lock Signal
23 WH 5075 Current Sensor Signal
24 PU 1124 Door Lock Key Switch Unlock Signal
25 TN 126 Left Front Door Open Switch Signal
26 GY/BK 745 Left Front Door Ajar Switch Signal
27-29 - - Not Used
30 WH 17 Stop Lamp Supply Voltage
31 L-BU 244 Passenger Door Lock Switch Lock Signal
32-33 - - Not Used
34 PK/BK 1303 Liftgate Ajar Switch Signal (Early Production)
35 YE 2080 Low Reference
36 PK 2435 Low Reference
37 YE/BK 2079 Driver Heated Seat Cushion Temperature Sensor Signal
38 GY 2434 Passenger Heated Seat Cushion Temperature Sensor Signal
39 TN/WH 2430 Passenger Heated Seat Relay Control
40 PU 2477 Driver Heated Seat Relay Control
41 - - Not Used
42 L-GN 24 Backup Lamp Supply Voltage
43 YE 18 Left Rear Stop/Turn Lamp Supply Voltage
YE 18 Left Rear Stop/Turn Lamp Supply Voltage
44 GY 8 Instrument Panel Lamp Supply Voltage
45 L-GN 275 Park/Neutral Position Park Signal (E58 w/o AQW)
L-GN 275 Park/Neutral Position Park Signal (E59 w/o AQW)
L-GN 275 Park/Neutral Position Park Signal (AQW)
46 TN 694 Driver Door Lock Actuator Unlock Control
47 - - Not Used
48 D-GN 19 Right Rear Stop/Turn Lamp Supply Voltage
D-GN 19 Right Rear Stop/Turn Lamp Supply Voltage
49 RD/WH 440 Battery Positive Voltage
50 BK 550 Ground
51 TN 294 Door Lock Actuator Unlock Control
52 GY 295 Door Lock Actuator Lock Control