lemon-mirror:
Home >> Saturn >> 2005 >> Relay FWD >> Repair and Diagnosis >> Accessories & Equipment >> Entertainment Systems >> Cellular Communication System >> Component Locator >> Cellular Communication Component Views

Cellular Communication Component Views

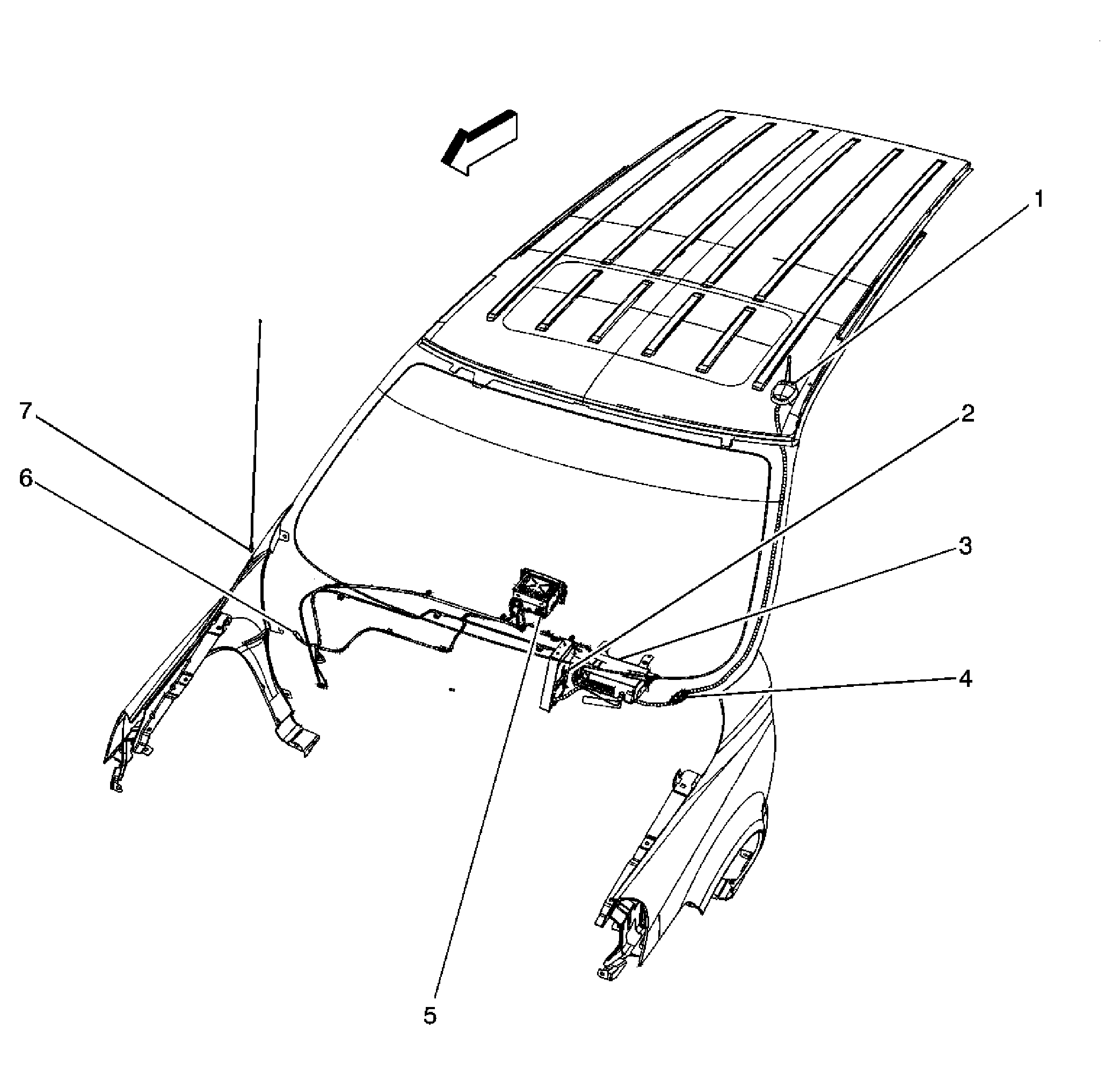
Fig 1: Identifying Antenna Components
GM1542521Courtesy of GENERAL MOTORS CORP.
Callout Component Name
1 Digital Radio Antenna (U2K)
2 Cellular and Navigational Antenna (UE1)
3 Digital Radio Receiver (U2K)
4 Vehicle Communication Unit (VCU) (UE1)
5 Radio
6 C300 Digital Radio Antenna Coax Connector (U2K)
7 C304 Cellular and Navigation Antenna Coax Connector (UE1)
8 C298 Radio Antenna Coax Connector
9 Radio Antenna
Fig 2: Identifying Middle Left Side Of I/P Components
GM1536079Courtesy of GENERAL MOTORS CORP.
Callout Component Name
1 Theft Light Emitted Diode (LED) (UA6)
2 Ambient Light Sensor
3 HVAC Control Module
4 Vent and Floor Actuator
5 Air Temperature Actuator (C60) or Air Temperature Actuator - Left (CJ3)
6 Defrost Actuator
7 Body Control Module (BCM)
8 Digital Radio Receiver (U2K)
9 Vehicle Communication Unit (VCU) (UE1)
Fig 3: Identifying Front Headliner Components
GM1536136Courtesy of GENERAL MOTORS CORP.
Callout Component Name
1 Courtesy/Reading Lamp - Front
2 Multifunction Switch - Overhead Console
3 Courtesy/Reading Lamp - Front
4 OnStar Button Assembly (UE1)
5 Garage Door Opener (UG1)
6 Garage Door Opener Buttons (UG1)
7 Vanity Mirror Lamp - Right (DH6)
8 Multifunction Switch Overhead Console
9 Vanity Mirror Lamp - Left (DH6)
10 Cellular Microphone (UE1)