lemon-mirror:
Home >> Saturn >> 2005 >> Relay FWD >> Repair and Diagnosis >> Electrical >> Charging Systems >> Battery, Charging System And Starting System >> Repair Instructions >> Battery Current Sensor Replacement >> Installation Procedure

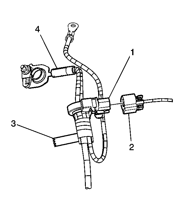
Installation Procedure

    Fig 1: Identifying Battery Current Sensor
    GM1533515Courtesy of GENERAL MOTORS CORP.
  1. Install the battery current sensor (2) by passing the ground end of the negative battery cable (1) through the sensor. Slide the current sensor to the battery end of the cable in order to encompass all ground wires attached to battery.
  2. IMPORTANT: Ensure the battery current sensor is installed in the correct direction and location on the negative battery cable. Also ensure that ALL grounding wires connected to negative post of battery pass through the sensor.
    Fig 2: Disconnecting/Reconnecting Battery Current Sensor Electrical Connector
    GM1533512Courtesy of GENERAL MOTORS CORP.
  3. Wrap electrical tape (3) around the battery current sensor (1) in order to secure the battery current sensor to the negative battery cable (4).
  4. Install the battery negative cable to the vehicle. Refer to Battery Negative Cable Replacement .
  5. Connect the battery current sensor electrical connector (2).