lemon-mirror:
Home >> Saturn >> 2005 >> Relay FWD >> Repair and Diagnosis >> Engine Performance >> System >> Engine Control System - 3.5L - Introduction (2 Of 2) >> Component Locator >> Powertrain Control Module (PCM) Connectors >> Powertrain Control Module (PCM) C2

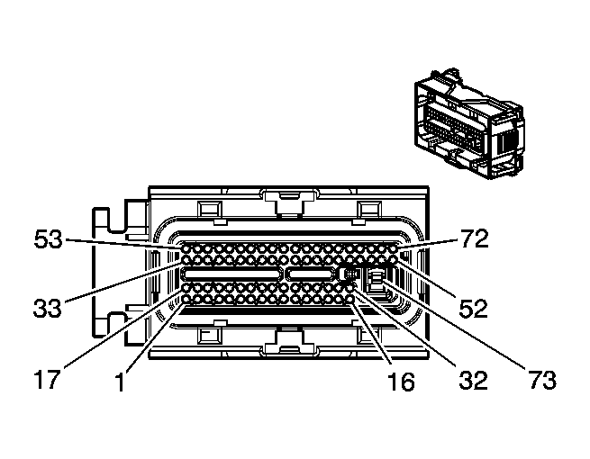
Powertrain Control Module (PCM) C2

Fig 1: Powertrain Control Module (PCM) C2 Connector End View
GM1391793Courtesy of GENERAL MOTORS CORP.
Powertrain Control Module (PCM) Connector End Views

Connector Part Information 
  • OEM: 15452126
  • Service: 88953274
  • Description: 73-Way F GT 280 Series Micro 64 Sealed (BK)
Terminal Part Information 
  • Terminal: 15359541/Tray 4
  • Core/Insulation Crimp: M/M
  • Release Tool/Test Probe: 15381651-2/J-35616-64A
Powertrain Control Module (PCM) C2

Pin Wire Color Circuit No. Function
1 BN 1456 EGR Valve Position Signal
2 TN 800 UART Serial Data (Primary)
3 OG/BK 1061 UART Serial Data (Secondary)
4 PK/BK 1746 Fuel Injector 3 Control
5 TN 1744 Fuel Injector 1 Control
6 L-GN/BK 1745 Fuel Injector 2 Control
7 TN/WH 845 Fuel Injector 5 Control
8 TN 2753 Low Reference
9 YE/BK 846 Fuel Injector 6 Control
10 L-BU/BK 844 Fuel Injector 4 Control
11 OG/WH 2122 IC 2 Control
12 L-BU 5038 HO2S Heater Low Control - Sensor 1
13 OG 1676 EGR Solenoid High Control
14 - - Not Used
15 YE/BK 1868 Low Reference
16 GY 435 EGR Solenoid Low Control
17 - - Not Used
18 L-GN 432 MAP Sensor Signal
19-20 - - Not Used
21 OG/WH 812 12-Volt Reference
22 L-GN 1867 12-Volt Reference
23-25 - - Not Used
26 BN/WH 633 CMP Sensor Signal
27 L-BU/WH 1800 CKP Sensor Signal
28-29 - - Not Used
30 OG/BK 469 Low Reference
31 - - Not Used
32 TN 407 Low Reference
33 GY 2702 5-Volt Reference
34 GY 2704 5-Volt Reference
35 - - Not Used
36 GY 2303 Low Reference
37 YE 2174 Low Reference
38 D-BU 496 Knock Sensor 1 Signal
39 BARE 1251 Ground
40 GY 1716 Low Reference
41 D-GN/WH 428 EVAP Canister Purge Solenoid Control
42-44 - - Not Used
45 GY 23 Generator Field Duty Cycle Signal
46 - - Not Used
47 PU 1664 HO2S Low Signal - Sensor 1
48 PU/WH 1665 HO2S High Signal - Sensor 1
49-52 - - Not Used
53 OG 225 Generator Turn On Signal
54 L-BU 1876 Knock Sensor 2 Signal
55 YE 410 ECT Sensor Signal
56 BARE 1251 Ground
57 TN/BK 231 Oil Pressure Switch Signal
58-60 - - Not Used
61 PU 2121 IC 1 Control
62 - - Not Used
63 L-BU 2123 IC 3 Control
64-72 - - Not Used
73 BK/WH 451 Ground